БЛОК ДВИГАТЕЛЯ ДЕТАЛЬНОЕ ОПИСАНИЕ


  1. КОНСТРУКЦИЯ


    1. Крышка головки блока цилиндров


      1. Для облегчения конструкции и снижения уровня шума крышка головки блока цилиндров изготавливается из пластмассы.

      2. Для изготовления прокладки крышки головки блока цилиндров применяется акриловый каучук, характеризующийся превосходной теплостойкостью и надежностью.

      3. На внутренней стороне крышки головки блока цилиндров имеются отражающие пластины, которые сокращают расход моторного масла на картерные газы. Отражающие пластины приварены к крышке головки блока цилиндров и не допускают снятия.

        A01J2QPE01
        Обозначения на рисунке
        *1 Крышка головки блока цилиндров *2 Отражатель поддона картера
        *3 Прокладка крышки головки блока цилиндров - -
    2. Прокладка головки блока цилиндров


      1. Используется многослойная стальная прокладка головки блока цилиндров

      2. Для увеличения поверхности уплотнения предусмотрена шайба, устанавливаемая по краю отверстия цилиндра, что позволило повысить герметичность и долговечность конструкции.

        A01J2PUE01
        Обозначения на рисунке
        *1 Шайба - -
        *a Сечение A - A - -
    3. Головка блока цилиндров


      1. Головка блока цилиндров изготовлена из алюминиевого сплава и снабжена шатровой камерой сгорания. Свеча зажигания помещена в центр камеры сгорания, в результате чего обеспечивается улучшение детонационной характеристики двигателя.

      2. Угол между впускными и выпускными клапанами уменьшен и составляет 22,85°. Благодаря этому головка блока цилиндров стала более компактной.

      3. Расположение каналов впуска и выпуска с поперечным потоком повышает эффективность впуска и выпуска.

      4. Для улучшения детонационной характеристики и повышения эффективности впуска используется камера сгорания с конической зоной завихрения. Кроме того, за счет этого улучшаются рабочие характеристики двигателя, и повышается экономия топлива.

      5. Для уменьшения расстояния между форсунками и впускными клапанами в головку блока цилиндров устанавливаются форсунки с удлиненными соплами. Таким образом, предотвращается прилипание топлива к стенкам впускных каналов, и снижается токсичность отработавших газов.

      6. За счет оптимального расположения водяной рубашки в головке блока цилиндров обеспечивается эффективное охлаждение.

      7. На моделях с системой подачи воздуха в нейтрализатор сверху выпускного канала предусмотрен канал подачи воздуха, который направляет воздух из воздушного нагнетателя в выпускной канал каждого цилиндра.

        A01J2W9E03
        Обозначения на рисунке
        *A Удлиненная свеча *B Генератор
        *1 Топливная форсунка в сборе - -
        *a Канал подачи воздуха в нейтрализатор (для моделей с системой подачи воздуха в нейтрализатор) *b Коническая зона завихрения
        A01J2RV Водяная рубашка - -
    4. Блок цилиндров


      1. Блок цилиндров изготовлен из чугуна, а форма ребра каждой части оптимизирована для увеличения жесткости при одновременном уменьшении вибрации и шума.

      2. Между отверстиями цилиндров предусмотрен канал охлаждающей жидкости. Благодаря такой конструкции, позволяющей охлаждающей жидкости перетекать между отверстиями цилиндров, поддерживается одинаковая температура стенок цилиндров.

        A01J2NQE02
        Обозначения на рисунке
        *a Канал охлаждающей жидкости - -
    5. Уравновешивающий вал


      1. В 4-цилиндровых двигателях с рядным расположением цилиндров основной причиной вибрации является несбалансированная сила инерции возвратно-поступательных деталей – таких, как поршни и шатуны. Вибрация двигателя уменьшается за счет применения 2 уравновешивающих валов, подавляющих несбалансированную силу инерции и снижающих тем самым шум двигателя (гул).

      2. 2 уравновешивающих вала, встроенных в блок цилиндров. Оба уравновешивающих вала приводятся в движение цепью, звездочками и шестернями и вращаются вдвое быстрей коленчатого вала в противоположных направлениях друг к другу.

      3. Для непрерывного поддержания требуемого натяжения цепи натяжитель цепи использует пружину и давление масла. Также применяется невозвратный храповой механизм.

      4. Натяжитель цепи имеет 2 отверстия для масла, через которые подается моторное масло, смазывающее цепь уравновешивающего вала. Кроме того, через них смазывается цепной привод газораспределительного механизма.

        A01J2RUE01
        Обозначения на рисунке
        *1 Пружина *2 Пружина кулачка
        *3 Кулачок *4 Плунжер
        *5 Смазочное отверстие *6 Приводная шестерня уравновешивающего вала
        *7 Ведомая шестерня уравновешивающего вала *8 Ведущая звездочка цепи ГРМ на коленчатом валу
        *9 Натяжитель цепи *10 Ведущая звездочка уравновешивающего вала
        *11 Цепь уравновешивающего вала *12 Уравновешивающий вал
        A01J2L7 Моторное масло - -
    6. Поршень


      1. Поршни изготавливаются из алюминиевого сплава.

      2. Днища поршней имеют коническую завихряющую форму, обеспечивающую эффективное сгорание топлива.

      3. Для снижения потерь от трения юбка поршня имеет пластмассовое покрытие.

      4. Для повышения износостойкости и коррозионной стойкости канавка верхнего кольца покрыта анодным оксидом.

        A01J2KVE01
        Обозначения на рисунке
        *a Коническая завихряющая форма - -
        A01J2RV Полимерное покрытие A01J2TC Анодно-оксидное покрытие
    7. Шатун и подшипник шатуна


      1. Для снижения массы используются кованые высокопрочные шатуны.

      2. На сопрягаемых поверхностях крышек шатунных подшипников для минимизации смещения крышек подшипников во время сборки установлены штифты.

      3. Крепление осуществляется с помощью удлиняющихся при затяжке стягивающих болтов.

      4. Подшипники шатунов изготавливаются из алюминия.

      5. Благодаря микроканавкам на поверхности вкладыша подшипника шатуна достигается оптимальный масляный зазор. Как следствие, облегчается запуск холодного двигателя, и ослабляются вибрации двигателя.

        A01J2TVE01
        Обозначения на рисунке
        *1 Удлиняющийся при затяжке стягивающий болт *2 Штифт
        *3 Подшипник шатуна - -
        *a Поверхность с микроканавками - -
    8. Коленчатый вал и подшипник коленчатого вала


      1. Коленчатый вал имеет 5 шеек и 8 противовесов.

      2. Все галтели шатунных и коренных шеек соответствующим образом обработаны с тем, чтобы обеспечивалась необходимая прочность.

      3. Подшипник коленчатого вала изготавливается из алюминиевого сплава.

      4. Крышки подшипников коленчатого вала для каждой шейки закреплены с помощью 2-х удлиняющихся при затяжке стягивающих болтов.

      5. Поверхность вкладышей подшипников коленчатого вала подобно подшипникам шатунов покрыта микроканавками, что обеспечивает оптимальный масляный зазор. Как следствие, облегчается запуск холодного двигателя, и ослабляются вибрации двигателя.

      6. На внутренней окружности верхнего коренного подшипника предусмотрена смазочная канавка.

        A01J2SYE01
        Обозначения на рисунке
        *1 Верхний подшипник коленчатого вала *2 Нижний подшипник коленчатого вала
        *a Обработано обкатыванием *b Смазочное отверстие
        *c Смазочная канавка *d Микроканавки
    9. Шкив коленчатого вала


      1. Благодаря жесткости шкива коленчатого вала со встроенным резиновым демпфером крутильных колебаний снижается шум.

        A01J2Y3E01
        Обозначения на рисунке
        *1 Резиновый демпфер крутильных колебаний - -
    10. Масляный поддон


      1. Масляный поддон № 1 изготавливается из алюминиевого сплава.

      2. Масляный поддон № 2 изготавливается из стали.

      3. Для упрочнения конструкции масляный поддон № 1 в сборе крепится к блоку цилиндров и трансмиссии.

        A01J2Q5E01
        Обозначения на рисунке
        *1 Масляный поддон № 1 *2 Масляный поддон № 2
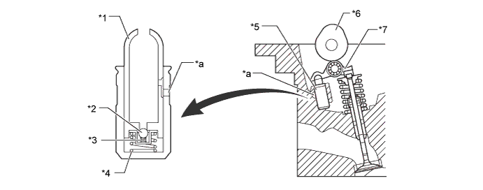
    11. Клапанный механизм


      1. В двигателе используются рычаги привода клапанов со встроенными игольчатыми подшипниками. Это позволяет снизить трение, возникающее между кулачками и роликовыми рычагами привода клапанов, выталкивающими клапаны вниз, и, тем самым, снизить расход топлива.

      2. Механизмы регулировки зазора в приводах клапанов постоянно поддерживают нулевой зазор в приводах клапанов за счет использования давления масла и упругой силы.

      3. Распредвалы впускных и выпускных клапанов приводятся в движение от коленчатого вала посредством цепного привода газораспределительного механизма.

      4. Система VVT-i обеспечивает экономию топлива и высокие рабочие характеристики двигателя для снижения токсичности отработавших газов.

        A01J2Y0E01
        Обозначения на рисунке
        *1 Цепной привод газораспределительного механизма *2 Контроллер VVT-i
        *3 Натяжитель цепи *4 Башмак цепи
        *5 Успокоитель цепи *6 Распредвал выпускных клапанов
        *7 Распредвал впускных клапанов *8 Рычаг привода клапана в сборе
        *9 Механизм регулировки зазора в приводе клапана в сборе *10 Корпус
    12. Фазы газораспределения

      A01J2ROE01
    13. Распредвал


      1. Чтобы обеспечить подачу моторного масла в систему VVT-i, в распредвале впускных клапанов предусмотрен канал для масла.

      2. Для изменения фаз газораспределения впускных клапанов перед распредвалом впускных клапанов установлен контроллер VVT-i.

        A01J2WOE02
        Обозначения на рисунке
        *1 Контроллер VVT-i *2 Распредвал выпускных клапанов
        *3 Распредвал впускных клапанов - -
        *a Масляный канал (со стороны опережения) *b Масляный канал (со стороны запаздывания)
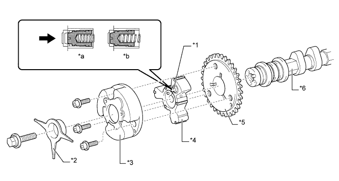
    14. Контроллер VVT-i


      1. Контроллер состоит из корпуса, приводимого в движение цепным приводом газораспределительного механизма, и направляющего элемента, соединенного с распредвалом впускных клапанов. Давление масла, поступающего из канала опережения или канала запаздывания распредвала впускных клапанов, вызывает вращение по окружности направляющего элемента контроллера VVT-i, вследствие чего непрерывно изменяются фазы газораспределения впускных клапанов.

      2. Когда двигатель остановлен, распредвал впускных клапанов занимает положение наибольшего запаздывания, обеспечивающее наилучшие пусковые характеристики двигателя. Если непосредственно после запуска двигателя на контроллер VVT-i не начинает действовать гидравлическое давление, стопорный штифт блокирует движение контроллера VVT-i, предотвращая детонацию. После подачи гидравлического давления на контроллер VVT-i стопорный штифт освобождается.

        A01J2Q4E01
        Обозначения на рисунке
        *1 Стопорный штифт *2 Задающий ротор
        *3 Наружный корпус *4 Направляющий элемент (соединен с распредвалом впускных клапанов)
        *5 Звездочка цепного привода газораспределительного механизма *6 Распредвал впускных клапанов
        *a Двигатель работает *b Двигатель остановлен
        A01J2OA Давление масла - -
    15. Цепной привод газораспределительного механизма и натяжитель цепи


      1. Высокопрочная роликовая цепь с шагом 9,525 мм (0,375 дюйма) позволила сделать двигатель более компактным и обеспечить надежность цепного привода газораспределительного механизма.

      2. Для непрерывного поддержания требуемого натяжения цепи натяжитель цепи использует пружину и давление масла. При этом натяжитель цепи ослабляет шум, создаваемый цепным приводом газораспределительного механизма.

      3. В натяжителе цепи применяется невозвратный храповой механизм.

        A01J2LBE01
        Обозначения на рисунке
        *1 Цепной привод газораспределительного механизма *2 Прокладка натяжителя цепи
        *3 Натяжитель цепи *4 Башмак цепи
        *5 Успокоитель цепи - -
    16. Механизм регулировки зазора в приводе клапана в сборе


      1. Механизм регулировки зазора в приводе клапана в сборе располагается в центре вращения рычагов привода клапана в сборе и состоит, прежде всего, из плунжера, пружины плунжера, запорного шарика и пружины запорного шарика.

      2. Для приведения в действие механизма регулировки зазора в сборе используются давление масла, подаваемого головкой блока цилиндров, и встроенная пружина. Давление масла и сила пружины, действующая на плунжер, прижимают рычаг привода клапана в сборе к кулачку, регулируя зазор в приводе, создаваемый во время открывания и закрывания клапана. Это обеспечивает уменьшение шума работы двигателя и делает ненужной регулировку зазора в приводе клапанов.

        A01J2VJE01
        Обозначения на рисунке
        *1 Плунжер *2 Запорный шарик
        *3 Пружина запорного шарика *4 Пружина плунжера
        *5 Механизм регулировки зазора в приводе клапана в сборе *6 Кулачок
        *7 Рычаг привода клапана в сборе - -
        *a Канал для масла - -
    17. Крышка цепного привода газораспределительного механизма


      1. В крышку цепного привода газораспределительного механизма интегрированы следующие узлы, что позволило уменьшить число деталей (вихревая камера насоса системы охлаждения, корпус термостата, корпус масляного насоса, кронштейн генератора и кронштейн лопастного насоса системы рулевого управления с усилителем).

        A01J2N0E01
        Обозначения на рисунке
        *1 Кронштейн генератора *2 Насос охлаждающей жидкости
        *3 Кронштейн лопастного насоса системы рулевого управления с усилителем *4 Масляный насос
        *5 Кожух масляного насоса *6 Корпус термостата
    18. Поликлиновой ремень


      1. Узлы вспомогательного оборудования приводятся в движение приводным ленточным ремнем, который представляет собой отдельный поликлиновой ремень. В результате снижаются общая длина, масса и число деталей двигателя.

      2. Благодаря автоматическому регулятору натяжения не требуется регулировать натяжение ремня.

        A01J2MXE01
        Обозначения на рисунке
        *1 Шкив генератора *2 Автоматический регулятор натяжения
        *3 Шкив коленчатого вала *4 Шкив компрессора системы кондиционирования
        *5 Шкив насоса системы охлаждения *6 Шкив насоса рулевого управления с усилителем
  2. ПРИНЦИП РАБОТЫ


    1. Уравновешивающий вал


      1. В 4-цилиндровом двигателе с рядным расположением цилиндров цилиндры № 1 и № 4 имеют строго противоположный (180°) угол поворота коленчатого вала относительно цилиндров № 2 и № 3. Поэтому внутренние силы поршней и шатунов 2-х последних цилиндров практически уравновешиваются соответствующими силами 2-х первых цилиндров. Однако так как положение, в котором поршень достигает максимальной скорости, смещено относительно середины хода к верхней мертвой точке, направленная вверх сила инерции превышает силу инерции, направленную вниз. Эта неуравновешенная сила инерции второго порядка создается дважды при каждом обороте коленчатого вала.

        A01J2NWE03
        A01J2VVE05
      2. Чтобы нейтрализовать неуравновешенную силу инерции второго порядка, 2 уравновешивающих вала поворачиваются дважды на каждый оборот коленчатого вала и создают силу инерции в противоположном направлении. Кроме того, в целях подавления силы инерции, создаваемой самим уравновешивающим валом, фактически он состоит из 2 валов, вращающихся в противоположных направлениях.

        A01J2L2E01