СИСТЕМА КРУИЗ-КОНТРОЛЯ РАСПОЛОЖЕНИЕ ДЕТАЛЕЙ

A01J2SIE01
Обозначения на рисунке
*A Для моделей с автоматической трансмиссией - -
*1

Корпус дроссельной заслонки в сборе

- Электродвигатель привода дроссельной заслонки

- Датчик положения дроссельной заслонки

*2 Датчик положения паркинга/нейтрали в сборе
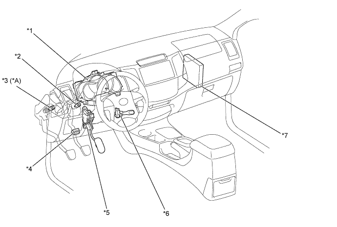
A01J2NAE01
Обозначения на рисунке
*A Для моделей с механической трансмиссией - -
*1 Щиток приборов в сборе *2 Выключатель стоп-сигналов в сборе
*3 Переключатель муфты сцепления в сборе *4 DLC3
*5 Датчик положения педали акселератора *6 Главный выключатель круиз-контроля
*7 ECM - -