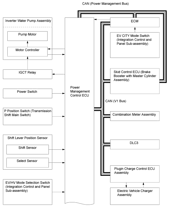
HYBRID CONTROL SYSTEM SYSTEM DIAGRAM

A01LPH9E04
A01LPJZE01