СИСТЕМА КОНДИЦИОНИРОВАНИЯ РАСПОЛОЖЕНИЕ ДЕТАЛЕЙ

A01J2OWE01
Обозначения на рисунке
*A Для моделей с автоматическим кондиционером - -
*1 Датчик давления системы кондиционирования *2 Термистор системы кондиционирования (датчик температуры окружающего воздуха)
*3 Конденсатор системы кондиционирования в сборе *4 Компрессор системы кондиционирования в сборе
A01J2OQE01
Обозначения на рисунке
*A Для моделей с автоматическим кондиционером *B Для моделей с кондиционером с ручным управлением
*1 ECM *2 Интегрированная панель в сборе
*3 Блок управления системой кондиционирования *4 Термистор системы кондиционирования (датчик солнечной радиации)
*5 Термистор системы кондиционирования (датчик температуры в салоне) *6 Переключатель заднего кондиционера
*7 Блок управления системой кондиционирования в сборе - -
A01J2WUE01
Обозначения на рисунке
*1 Переключатель кондиционера в сборе *2 Задний кондиционер в сборе
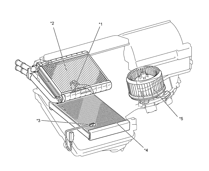
A01J2P4E01
Обозначения на рисунке (для моделей с кондиционером с ручным управлением)
*1 Клапан компенсации расширения системы кондиционирования *2 Блок радиатора отопителя в сборе
*3 Термистор системы кондиционирования № 1 *4 Испаритель системы кондиционирования № 1 в сборе
*5 Электродвигатель вентилятора с вентилятором в сборе - -
A01J2VOE01
Обозначения на рисунке (для моделей с автоматическим кондиционером)
*1 Сервопривод заслонки в сборе *2 Сервопривод заслонки распределения потоков воздуха в сборе
*3 Клапан компенсации расширения системы кондиционирования *4 Блок радиатора отопителя в сборе
*5 Термистор системы кондиционирования № 1 *6 Испаритель системы кондиционирования № 1 в сборе
*7 Блок управления электродвигателем вентилятора *8 Сервопривод смесительной заслонки в сборе
*9 Электродвигатель вентилятора с вентилятором в сборе - -