AUDIO AND VISUAL SYSTEM


  1. OUTLINE


    1. Audio System


      1. The audio systems shown below are provided:

        Audio System Audio Head Unit Speaker
        Base Audio System Radio Less Speaker Less
        Radio Less 6 Speakers
        Radio Receiver Assembly 6 Speakers
        Display Audio System Radio and Display Receiver Assembly 6 Speakers
        8 Speakers
        Navigation System Radio and Display Receiver Assembly + Extension Box (Navigation ECU) 6 Speakers
    2. Audio Head Unit


      1. A Thin Film Transistor Liquid Crystal Display (TFT LCD) is used for the multi-display of the radio and display receiver assembly. The multi-display shows the audio screen, Bluetooth hands-free screen, vehicle information screen, etc. and can be operated using touch operation, flick operation* or drag operation*.

        *: Flick operation or drag operation may not be performed on all screens.

        A01UWUSE04
        Text in Illustration
        *a Flick Operation *b Drag Operation
        *c

        The illustrations shown are examples only.

        The illustrations may differ from the actual audio head unit.

        - -
      2. The radio text broadcast by FM radio stations is displayed in the radio text area, such as program information and currently broadcasted song information.*

        *: Models with display audio system or navigation system

      3. Discs containing MPEG audio layer-3 (MP3) files, Windows Media Audio (WMA) files can be played.*


        • *: Models with base audio system

      4. Discs with the marks shown below can be played:

        A01UX20
    3. Digital Audio Broadcast (DAB)


      1. Digital Audio Broadcast (DAB) reception is available. This prevents broadcast interference, achieving clear reception with high quality sound.

      2. A time shift operation function can be used to play back programs at a later time.

        Tech Tips

        The amount of playback possible depends on the bit rate of the DAB station to be recorded, the amount of DAB unit memory, and the time at which reception of the broadcast began.

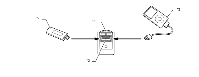
    4. USB Port


      1. A USB port is provided that enables the use of a USB memory device, portable audio player (USB type), iPhone, iPod, iPod classic, iPod nano or iPod touch.

        A01UWVQE02
        Text in Illustration
        *1 No. 1 Stereo Jack Adapter Assembly *2 USB Port
        *3 iPod/iPhone *4 USB Memory Device

        Tech Tips


        • iPhone, iPod, iPod classic, iPod nano and iPod touch are trademarks of Apple Inc., registered in the U.S. and other countries.

        • The following iPod, iPod nano, iPod classic, iPod touch and iPhone devices can be used with this system.


          • Made for
          • iPod touch (5th generation)

          • iPod touch (4th generation)

          • iPod touch (3rd generation)

          • iPod touch (2nd generation)

          • iPod touch (1st generation)

          • iPod classic

          • iPod nano (7th generation)

          • iPod nano (6th generation)

          • iPod nano (5th generation)

          • iPod nano (4th generation)

          • iPod nano (3rd generation)

          • iPod nano (1st generation)

          • iPhone 5

          • iPhone 4S

          • iPhone 4

          • iPhone 3GS

          • iPhone 3G

          • iPhone

      2. Depending on differences between models or software versions etc., some models might be incompatible with this audio system.

      3. USB memory devices that meet the following specifications are supported:

        USB Communication Formats
        • USB 2.0, Full Speed (12 Mbps)

        • USB 2.0, High Speed (480 Mbps)*

        File System FAT 16/32
        Correspondence Class Mass Storage Class
        File Formats MP3, WMA

        • *: Models with display audio system or navigation system

    5. Bluetooth Audio System


      1. The Bluetooth audio system enables users to enjoy music played on a portable audio player from the vehicle speakers via wireless communication.

      2. The Bluetooth specifications and profiles required for operation are as follows:

        Specification/Profile Version
        Bluetooth Specification Version 1.1 or higher Required
        Version 3.0 + EDR or higher Recommended
        Profile Advanced Audio Distribution Profile (A2DP) Version 1.0 or higher Required
        Advanced Audio Distribution Profile (A2DP) Version 1.2 or higher Recommended
        Audio/Video Remote Control Profile (AVRCP) Version 1.0 or higher Required
        Audio/Video Remote Control Profile (AVRCP) Version 1.4 or higher Recommended
    6. Bluetooth Hands-free System


      1. The Bluetooth hands-free system allows the user to make or receive a call without taking their hands off the steering wheel when the system is linked with a Bluetooth-compatible cellular phone.

      2. The Bluetooth specifications and profiles required for operation are as follows:

        Specification/Profile Version
        Bluetooth Specification Version 1.1 or higher Required
        Version 3.0 + EDR or higher Recommended
        Profile Hands Free Profile (HFP) Version 1.0 or higher Required
        Hands Free Profile (HFP) Version 1.6 or higher Recommended
        Dial-up Networking Profile (DUN) Version 1.1 or higher* Required
        Object Push Profile (OPP) Version 1.1 or higher Required
        Phone Book Access Profile (PBAP) Version 1.0 or higher Required
        Phone Book Access Profile (PBAP) Version 1.1 or higher Recommended
        Personal Area Networking (PAN) Version 1.0 or higher* Required
        Message Access Profile (MAP) Version 1.0 or higher Required

        *: Models with navigation system

        Tech Tips


        • The operation of the interrupt call function of the Bluetooth hands-free system may vary with the Bluetooth phone or the telephone company that is used.

          A01UWWX "Bluetooth" is a trademark owned by Bluetooth SIG, Inc.
        • Some profiles described above may not be supported by the system depending on the audio head unit equipped.

        • If the specification of the connected Bluetooth phone is lower than the recommended specification or does not support the functions required, the available functions may be limited.

        • Registration and connection of a Bluetooth phone is not available when only Dial-up Networking Profile (DUN), Object Push Profile (OPP), Phone Book Access Profile (PBAP) and Message Access Profile (MAP) are supported.

      3. When a Bluetooth phone is connected to the audio head unit, e-mails and Short Message Service (SMS) messages received on the phone can be displayed or read out. In addition, it is possible to reply to the received e-mail and Short Message Service (SMS) messages. (Messages may not be displayed depending on the message service or profile that the connected Bluetooth phone supports.)

      4. The user can confirm the signal strength and remaining battery level of the connected Bluetooth phone by using the status icons displayed on the screen. The status icons are displayed in any mode.

        A01UX9VE03
        *a The illustration shown is an example only. The illustration may differ from the actual vehicle screen.
        Item Outline
        (1) Cellular phone signal strength Displays the signal strength received by the cellular phone.
        (2) Cellular phone battery level Displays the battery level of the Bluetooth connected cellular phone.

        Tech Tips


        • May not be displayed depending on the Bluetooth specifications and profiles of the cellular phone.

    7. Automatic Sound Levelizer (ASL)


      1. The Automatic Sound Levelizer (ASL) function automatically adjusts the audio system volume level in order to compensate for increased vehicle noise (vehicle noise tends to increase as vehicle speed increases).

      2. Vehicle speed signals are received from the combination meter assembly and used for ASL control.

    8. Application


      1. By operating the application, which is preinstalled in the radio and display receiver assembly, with on-screen commands on the multi-display, functions such as the e-mail function and MirrorLink function can be used.

      2. By downloading new applications from the Toyota portal site and installing them to the radio and display receiver assembly, more functions will be available. (Models with Navigation ECU)

    9. Steering Pad Switch Assembly


      1. Switches that the driver often uses are provided on the steering wheel for convenience.

  2. SPECIFICATION


    1. Audio Head Unit

      Audio Head Unit Design Specification
      Radio Receiver Assembly A01UX76

        Base Audio System

      • Liquid Crystal Display (LCD)

      • AM/FM Tuner

      • CD Player: Compatible with MPEG audio layer-3 (MP3) and Windows Media Audio (WMA) Files

      • iPod Player Interface

      • USB Memory Interface

      • Unit Manufacturer: Panasonic

      • 6-speaker System

      • Stereo Jack Adapter (USB Port)

      Radio and Display Receiver Assembly A01UWZF

        Display Audio System:

      • 7-inch Thin Film Transistor (TFT)

      • AM/FM Tuner

      • Digital Audio Broadcast (DAB) Tuner

      • Bluetooth Audio System

      • Bluetooth Hands-free System

      • iPod Player Interface

      • USB Memory Interface

      • Data System Traffic Message Channel (RDS-TMC) Tuner

      • Unit Manufacturer: Fujitsu Ten

      • 6-speaker System or 8-speaker System

      • Stereo Jack Adapter (USB Port)


        Navigation System:

      • 7-inch Thin Film Transistor (TFT)

      • AM/FM Tuner

      • Digital Audio Broadcast (DAB) Tuner

      • Bluetooth Audio System

      • Bluetooth Hands-free System

      • iPod Player Interface

      • USB Memory Interface

      • Data System Traffic Message Channel (RDS-TMC) Tuner

      • Unit Manufacturer: Fujitsu Ten

      • 6-speaker System

      • Stereo Jack Adapter (USB Port)

      • Extension Box: Harman Becker

    2. 6-speaker System

      A01UX8KE02
      Location Speaker Type Quantity Size Impedance Rated Input Power
      *1 No. 2 Front Speaker Assembly Tweeter 2 160 mm (6.3 in.) 4 Ω 20 W
      *2 No. 1 Front Speaker Assembly Full Range 2 160 mm (6.3 in.) 4 Ω 20 W
      *3 No. 1 Rear Speaker Assembly Full Range 2 160 mm (6.3 in.) 4 Ω 20 W
    3. 8-speaker System

      A01UWRZE02
      Location Speaker Type Quantity Size Impedance Rated Input Power
      *1 No. 2 Front Speaker Assembly Tweeter 2 25 mm (1.0 in.) 6 Ω 13.5 W
      *2 No. 3 Front Speaker Assembly Squawker 2 65 mm (2.6 in.) 4 Ω 20 W
      *3 No. 1 Front Speaker Assembly Full Range 2 160 mm (6.3 in.) 4 Ω 30 W
      *4 No. 1 Rear Speaker Assembly Full Range 2 160 mm (6.3 in.) 4 Ω 20 W
  3. MAIN FEATURES


    1. Application


      1. Available applications are listed in the following table:

        Application Outline
        Preinstalled Application Weather*1 Weather information for the selected areas, such as present vehicle position, destination or a searched areas, for the next 5 days can be displayed on the multi-display.
        Fuel*1
        • The location and fuel price information of gas stations near the vehicle are displayed as a list on the multi-display.

        • These gas stations can also be set as a destination.

        Parking*1
        • The location and available spaces of parking lots near the vehicle are displayed as a list on the multi-display.

        • These parking lots can also be set as a destination.

        Toyota Assistance*1
        • With a Bluetooth phone connected to the radio and display receiver assembly, a call*3 to Toyota assistance service can be made.

        • Upon receiving the information from the GPS satellite, the vehicle's current location is displayed on the Toyota assistance service call screen so that the user will be able to promptly tell the operator the current location of the vehicle.

        Street View*1
        • Google street view, which shows panoramic images along streets, is available. The street view of the desired location can be displayed on the multi-display.*4

        • A location searched for using street view can be set as a destination.

        Pictures*1 When a USB memory device is connected to the radio and display receiver assembly, pictures stored on the USB memory device can be displayed on the multi-display as well as played as a slide show.*5
        E-mail When a Bluetooth phone is connected to the radio and display receiver assembly, e-mails and Short Message Service (SMS) messages received on the phone can be displayed or read out. In addition, it is possible to reply to the received e-mails and send Short Message Service (SMS) messages.*6
        MirrorLink*2
        • To utilize the MirrorLink function, it is necessary to connect a compatible smartphone*7 to the radio and display receiver assembly using a USB cable.

        • After a connection is established, the screen of the smartphone is displayed on the multi- display. Using this screen, the user can operate applications installed on the smartphone and listen to the audio of the smartphone via the vehicles speakers.

        *1: Models with navigation system

        *2: MirrorLink is a registered trademark of Car Connectivity Consortium LLC.

        *3: Calls are only available when the user is in a Toyota assistance service supported country and the country in which the vehicle is currently located has been selected using the multi-display.

        *4: Up to 6 pictures per location can be displayed.

        *5: Available image data formats: JPEG, PNG and BMP

        *6: Messages may not be displayed depending on the message service or profile that the connected Bluetooth phone supports.

        *7: To use this function, a compatible device with a compatible application must be connected to the system. Furthermore, compatible devices and applications may differ depending on which version of MirrorLink is installed to the audio head unit. (See the following table for details.)

        Compatible devices and applications
        MirrorLink Version Manufacturer Device Application
        Ver.1.0 Nokia 701, N8 or N9 Car Mode
        Samsung Galaxy S3 DriveLink
        Ver.1.1 or later For details, refer to http://carconnectivity.org/ and http://www.mirrorlink.com/

        Figure 1. MirrorLink Image

        A01UX2ZE03
        Text in Illustration
        *1 Smartphone *2 Connection via USB Cable
        *a

        MirrorLinkTMScreen

        *b The illustration shows an example for Android.

        Figure 2. Toyota Assistance Image

        A01UWTGE01
  4. PRECAUTION


    1. Ignition Switch Expressions


      1. The type of ignition switch used on this model differs depending on the specifications of the vehicle. The expressions listed in the table below are used in this section.

        Expression Ignition Switch (Position) Engine Switch (Condition)
        Ignition Switch off LOCK Off (Lock)
        Ignition Switch ACC ACC On (ACC)
        Ignition Switch ON ON On (IG)
        Engine Start START On (Start)