AUDIO AND VISUAL SYSTEM


  1. OUTLINE


    1. Audio Head Unit


      1. 1 type of radio receiver assembly and 1 type of radio and display receiver assembly are available for the audio head unit.

      2. A radio and display receiver assembly has a Thin Film Transistor (TFT) 6.1-inch display, an audio function, a Bluetooth audio system, a Bluetooth hands-free system, a parking assist monitor system and a stereo jack adapter. In addition, when an optional extension module (navigation ECU) is mounted, a navigation system and other extension functions can be made available.

      3. Discs with the marks shown below can be played.

        A01UWZP
    2. Speaker System


      1. 2 types of speaker system, 6-speaker and 8-speaker, are available.

    3. Bluetooth Audio System


      1. The Bluetooth audio system enables the users to listen to the music stored in a Bluetooth compliant portable audio device (Bluetooth audio player) through a Bluetooth connection.

      2. The Bluetooth audio system can operate a Bluetooth audio player through the audio head unit.

        A01UXAS "Bluetooth" is a trademark owned by Bluetooth SIG, Inc.
    4. Bluetooth Hands-free System


      1. The Bluetooth hands-free system enables drivers to place or receive phone calls using a cellular phone without releasing their hands from the steering wheel.

      2. For safety, some functions of the Bluetooth hands-free system may not be selectable while the vehicle is being driven.

    5. Steering Pad Switch


      1. Steering pad switch assembly that supports the respective equipment is available.

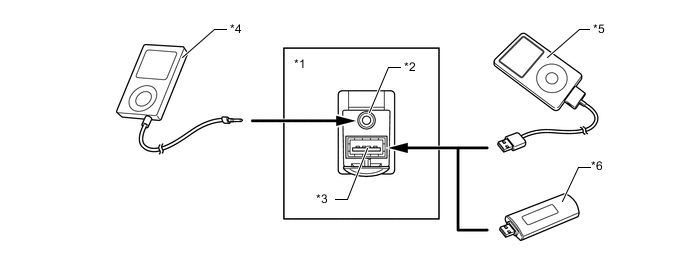
    6. No. 1 Stereo Jack Adapter Assembly


      1. An AUX port provided to enable playing music data that is stored on portable audio devices.

      2. A USB port provided to enable playing music data that is stored on a USB memory stick or an iPod.

        Tech Tips

        1. The following iPod, iPod nano, iPod classic, iPod touch and iPhone devices can be used with this system.

        Compatible Models
        iPod touch (4th generation)
        iPod touch (3rd generation)
        iPod touch (2nd generation)
        iPod touch (1st generation)
        iPod classic
        iPod with video
        iPod nano (6th generation)
        iPod nano (5th generation)
        iPod nano (4th generation)
        iPod nano (3rd generation)
        iPod nano (2nd generation)
        iPod nano (1st generation)
        iPhone 4
        iPhone 3GS
        iPhone 3G
        iPhone

        2. Depending on differences between models or software versions etc., some models might be incompatible with this system.

        3. iPod is a trademark of Apple Inc. that has been registered in the U.S.A. and other countries.

        A01UX0AE05
        Text in Illustration
        *1 No. 1 Stereo Jack Adapter Assembly *2 AUX Port
        *3 USB Port *4 Portable Audio
        *5 iPod *6 USB Memory Stick
  2. SPECIFICATION


    1. Audio Head Unit

      Audio Head Unit Design Specification
      Radio Receiver Assembly A01UX03
      • Liquid Crystal Display (LCD)

      • AM/FM Tuner

      • CD Player: Compatible with MPEG audio layer-3 (MP3) and Windows Media Audio (WMA) Files

      • iPod Player Interface

      • USB Memory Interface

      • Unit Manufacturer: Panasonic

      • 6-speaker System

      • Stereo Jack Adapter (USB and AUX Port)

      Radio and Display Receiver Assembly A01UX8Y
      • 6.1-inch Thin Film Transistor (TFT)

      • AM/FM Tuner

      • CD Player: Compatible with MPEG audio layer-3 (MP3) and Windows Media Audio (WMA) Files

      • Bluetooth Audio System

      • Bluetooth Hands-free System

      • iPod Player Interface

      • USB Memory Interface

      • Unit Manufacturer: FUJITSU TEN

      • 6-speaker System or 8-speaker System

      • Stereo Jack Adapter (USB and AUX Port)

      • Extension Module (Navigation ECU)*

      *: Models with extension module (navigation ECU)

    2. 6-speaker System

      A01UX8QE04
      Location Speaker Type Quantity Size Impedance Rated Input Power
      *1 Front No. 2 Speaker Assembly Tweeter 2 25 mm (1.0 in.) 4 Ω 20 W
      *2 Front No. 1 Speaker Assembly Full Range 2 160 mm (6.3 in.) 4 Ω 20 W
      *3 Rear No. 1 Speaker Assembly Full Range 2 160 mm (6.3 in.) 4 Ω 20 W
    3. 8-speaker System

      A01UWX7E02
      Location Speaker Type Quantity Size Impedance Rated Input Power
      *1 Front No. 2 Speaker Assembly Tweeter 2 25 mm (1.0 in.) 6 Ω 13.5 W
      *2 Front No. 3 Speaker Assembly Squawker 2 65 mm (2.6 in.) 4 Ω 20 W
      *3 Front No. 1 Speaker Assembly Woofer 2 160 mm (6.3 in.) 2 Ω 30 W
      *4 Rear No. 1 Speaker Assembly Full Range 2 160 mm (6.3 in.) 4 Ω 20 W
    4. Bluetooth Hands-free System


      1. The specifications for the Bluetooth hands-free system vary with the audio head unit that is used. The details are as follows:

        Function Radio and Display Receiver Assembly
        Call with Bluetooth Phone By Dial
        By Phonebook ○ (1000 Cases)*1
        By Call History Dialed Number ○ (10 Cases)
        Received Call ○ (10 Cases)
        Missed Call ○ (10 Cases)
        All Call History ○ (30 Cases)
        By Speed Dial*2 ○ (18 Cases)
        Receive with Bluetooth Phone / Talk on Bluetooth Phone Receiving Call*2 Received Manually
        Received Refusal
        Interrupt Call*2
        Tone Sending By Dial
        By Registered Number
        Recognition / Connection Registering Bluetooth Phone ○ (5 Bluetooth Phones)
        Connecting Bluetooth Phone Received Automatically
        Connected Manually
        Setting Setting Automatic Connection

        • ○: Available

        Tech Tips

        *1: 1000 cases per telephone (Bluetooth Phone)

        *2: Can be operated while driving

  3. MAIN FEATURES


    1. Radio and Display Receiver Assembly


      1. A radio and display receiver assembly has a Thin Film Transistor (TFT) 6.1-inch display, an audio function, a Bluetooth audio system, a Bluetooth hands-free system, a parking assist monitor system and a stereo jack adapter interface, and it offers touch panel screen controls to operate the functions.

      2. When an optional extension module (navigation ECU) is mounted, a navigation system and other extension functions can be made available.

        A01UWYRE03
        Text in Illustration
        *1 iPod *2 USB Memory Stick
        *3 Bluetooth Phone *4 Parking Assist Monitor Screen
        *5 Radio and Display Receiver Assembly *6 Extension Module (Navigation ECU)
        *7 Navigation Screen - -
  4. PRECAUTION


    1. Some of the functions of a system that uses a Bluetooth connection may not operate, depending on the Bluetooth specification or profile of the Bluetooth phone or Bluetooth audio player that is being used. The Bluetooth specifications and profiles required for the operation are as follows:

      Specification/Profile Item Bluetooth Audio System Bluetooth Hands-free System
      Bluetooth Specification Version 1.2 or higher Required Required
      Version 2.1+EDR or higher Recommended Recommended
      Profile Hands-Free Profile (HFP) Version 1.0 or higher - Required
      Hands-Free Profile (HFP) Version 1.5 or higher - Recommended
      Dial-up Networking Profile (DUN) Version 1.1 or higher - Recommended
      Object Push Profile (OPP) Version 1.1 or higher - Required
      Phone Book Access Profile (PBAP) Version 1.0 or higher - Required
      Message Access Profile (MAP) Version 1.0 or higher - Required
      Advanced Audio Distribution Profile (A2DP) Version 1.0 or higher Required -
      Audio/Video Remote Control Profile (AVRCP) Version 1.0 Required -
      Audio/Video Remote Control Profile (AVRCP) Version 1.3 Recommended -
      Audio/Video Remote Control Profile (AVRCP) Version 1.4 or higher Recommended -

      • -: Not available

      Tech Tips

      The operation of the interrupt call function of the Bluetooth hands-free system may vary with the Bluetooth phone or the telephone company that is used.