КОНСТРУКЦИЯ КУЗОВА ДЕТАЛЬНОЕ ОПИСАНИЕ


  1. ФУНКЦИИ


    1. Конструкция, амортизирующая удар при лобовом столкновении


      1. Применяемая конструкция обеспечивает эффективное поглощение энергии удара, распределяет удар и минимизирует деформацию салона при лобовом столкновении.


        • Усиление панели порога № 1 изготавливается из листовой стали сверхвысокой прочности (класса 980 МПа). Кроме того, усиление панели порога № 1 дополнено укрепляющим усилением. Это позволяет ослабить деформацию кабины из-за продольного наклона автомобиля при непрямом лобовом столкновении.

        • Передний конец порога (наружный удлинитель порога) выступает вперед, принимая на себя ударную нагрузку, поступающую от шин при непрямом лобовом столкновении, и амортизируя удар, что позволяет ослабить деформацию кузова по краю кабины.

        • Нижнее усиление передней стойки кузова и наружное усиление передней стойки кузова имеют конструктивное перекрытие, что обеспечивает разделение сверху и снизу одновременно для усиления части передней стойки кузова, благодаря чему ослабляется деформация кузова по краю кабины (обусловленная ударной нагрузкой, поступающей от шин при непрямом лобовом столкновении).

        • Усиление внутренней панели передней двери изготавливается из высокопрочной листовой стали (класса 590 МПа). Кроме того, продольная стенка усиления внутренней панели передней двери сильнее смещена внутрь, чем центр масс, что позволяет ослабить деформацию двери под действием усилия сжатия при непрямом лобовом столкновении.

        A01FP1BE01
        Обозначения на рисунке
        *1 Внутренняя панель крыла *2 Усиление панели порога № 1
        *3 Усиление панели порога № 4 *4 Наружный удлинитель передней стойки кузова
        *5 Нижнее усиление передней стойки кузова *6 Наружный удлинитель порога
        *7 Усиление внутренней панели передней двери - -
        *a Сечение A - A *b Сечение B - B
        *c Сечение C - C *d Сторона салона
        *e Центр масс *f Продольная стенка
        A01FPED Ударная энергия при фронтальном столкновении - -
    2. Конструкция, амортизирующая удар при боковом столкновении


      1. Применяемая конструкция обеспечивает эффективное поглощение энергии удара, распределяет удар и минимизирует деформацию салона при боковом столкновении.


        • Все части каркаса кузова изготавливаются из горячештампованной стали (класса 1500 МПа), листовой стали сверхвысокой прочности (класса 980 МПа) и высокопрочной листовой стали (класса 590 МПа), что гарантирует защиту при боковых столкновениях, а также обеспечивает облегчение и упрощение конструкции.

          Tech Tips

          Горячештампованная сталь представляет собой высокоупрочненный материал, который получается путем одновременного обеспечения штамповки и охлаждения горячей стали и последующей ее закалки.


          • Верхнее усиление средней стойки кузова изготавливается из горячештампованной стали (класса 1500 МПа). Кроме того, внутри верхнего усиления средней стойки кузова располагается усиление верхней петли средней стойки кузова из высокопрочной листовой стали (класса 590 МПа).

          • Боковой брус крыши изготавливается из горячештампованной стали (класса 1500 МПа).

          • На моделях с обычной крышей используется центральное усиление панели крыши, изготавливаемое из высокопрочной листовой стали (класса 590 МПа).

        • Усиление панели порога № 1 изготавливается из листовой стали сверхвысокой прочности (класса 980 МПа), а наружная панель порога и усиление панели порога № 3, которые находятся внутри усиления панели порога № 1, – из высокопрочной листовой стали (класса 590 МПа). Для сдерживания разрушения порога в поперечном сечении при боковом столкновении были увеличены длины спереди и сзади, благодаря чему уменьшается проникновение средней стойки кузова в салон.

        • Увеличение толщины бокового защитного бруса задней двери позволило уменьшить проникновение задней двери в салон при боковом столкновении.

        • Усиление панели порога № 5 дополнено перегородкой (усилением панели порога № 6). Кроме того, для передачи нагрузки с бокового защитного бруса задней двери с внутренней стороны располагается усиление из твердой смолы (внутренняя задняя защита панели порога), что ослабляет проникновение задней двери при боковом столкновении.

        A01FPQME01
        Обозначения на рисунке
        *1 Центральное усиление панели крыши *2 Боковой брус крыши
        *3 Наружная панель кузова над ветровым стеклом *4 Внутренняя панель кузова над ветровым стеклом
        *5 Шатун *6 Усиление панели приборов в сборе
        *7 Передний щиток в сборе *8 Поперечина переднего пола в сборе
        *9 Боковая поперечина переднего пола *10 Поперечина центрального пола
        *11 Верхнее усиление средней стойки кузова *12 Усиление верхней петли средней стойки кузова
        *13 Усиление панели порога № 1 *14 Задняя центральная поперечина пола в сборе
        *15 Разделительную панель салона в сборе *16 Верхняя внутренняя рама заднего окна
        *17 Рама заднего окна - -
        A01FPED Ударная энергия при боковом столкновении - -
        A01FPPME01
        Обозначения на рисунке
        *1 Усиление верхней петли средней стойки кузова *2 Усиление нижней петли средней стойки кузова № 1
        *3 Верхнее усиление средней стойки кузова *4 Наружная панель порога
        *5 Усиление панели порога № 1 *6 Усиление панели порога № 3
        *7 Боковой брус крыши *8 Боковой защитный брус задней двери
        *9 Внутренняя задняя защита панели порога *10 Усиление панели порога № 6
        *11 Усиление панели порога № 5 - -
        *a Сечение A - A *b Сечение B - B
        *c Сечение C - C *d Сечение D - D
        *e Часть бокового бруса крыши *f Часть средней стойки кузова
        *g Часть порога *h Часть заднего порога
        *i Горячештампованная сталь *j Сталь высокой прочности

        • Ударная нагрузка, поступающая от средней стойки кузова при боковом столкновении, передается либо на кронштейн ЭБУ, закрепленный на центральном туннеле панели переднего пола в сборе, либо на его верхнюю часть через усиление поперечины переднего пола в сборе, подушку раздельного переднего сиденья и соединительную тягу. В результате оптимизируется распределение ударной нагрузки, что уменьшает степень деформации кузова при боковом столкновении.

        • На моделях с обычной крыши для уменьшения степени проникновения бокового бруса за счет передачи и распределения нагрузки в сторону, противоположную удару, в верхней части средней стойки располагаются центральное усиление панели крыши (из высокопрочной листовой стали (класса 590 МПа)) и кронштейн усиления панели крыши № 2, что обеспечивает снижение степени деформации кузова при боковом столкновении.

        • Внутри панели двери предусмотрена жесткая подкладка передней двери, которая повышает эффективность передачи ударной нагрузки, что нацелено на уменьшение степени тяжести травм.

        • В панели облицовки передней двери в сборе предусмотрена нижняя облицовочная накладка передней двери, которая ослабляет воздействие ударной нагрузки на пассажиров при боковом столкновении, что нацелено на уменьшение степени тяжести травм.

        • Положение, форма и жесткость плечевой части панели облицовки передней двери в сборе и подлокотника передней двери в сборе оптимизированы для ослабления воздействия ударной нагрузки на водителя и передних пассажиров при боковом столкновении, что нацелено на уменьшение степени тяжести травм.

        A01FPV8E01
        Обозначения на рисунке
        *1 Центральное усиление панели крыши *2 Кронштейн усиления панели крыши № 2
        *3 Панель облицовки передней двери в сборе *4 Подлокотник передней двери в сборе
        *5 Жесткая подкладка передней двери *6 Нижняя облицовочная накладка передней двери
        *7 Подушка раздельного переднего сиденья *8 Усиление поперечины переднего пола в сборе
        *9 Шатун *10 Центральный туннель панели переднего пола в сборе
        *11 Кронштейн ЭБУ - -
        A01FPED Ударная энергия при боковом столкновении - -
    3. Ослабление травмы головы пешехода


      1. Чтобы снизить тяжесть травм пешехода в случае столкновения с ним, используется кузов, обеспечивающий ослабление травм пешеходов. По краю панели капота и верхней панели кожуха применяется ударопоглощающая конструкция кузова, которая ослабляет удар, действующий на голову и др. части пешехода.


        • Верхняя защита переднего крыла имеет легкосгибаемую конструкцию. При ударе головы пешехода и т.п. о капот в сборе верхняя защита переднего крыла изгибается, чтобы снизить силу противодействия, действующую на голову и др. части со стороны капота в сборе, и тем самым ослабить удар пешехода.

        A01FPOYE01
        Обозначения на рисунке
        *1 Верхняя защита переднего крыла *2 Капот
        *3 Панель переднего крыла *4 Панель капота
        *5 Внутренняя панель капота *6 Верхний боковой защитный брус между передним фартуком и капотом
        *a Сечение A - A *b Легкосгибаемая конструкция

        • Внутренняя панель капота имеет конструктивные вертикальные утолщения, которые призваны ослабить удар головы и др. частей пешехода в случае столкновения с ним. Кроме того, высота и наклон утолщений оптимизированы, что позволило обеспечить высокую степень ослабления удара несмотря на тонкую конструкцию капота в сборе.

        A01FPLAE01
        Обозначения на рисунке
        *1 Капот *2 Панель капота
        *3 Внутренняя панель капота - -
        *a Сечение A - A - -

        • В конце внутренней панели капота предусмотрены утолщения, которые образуют базовые точки сгибания. В результате конструкция сгибается, легко деформируясь в базовых точках, создаваемых концевым выступом внутренней панели капота, и утолщениях рядом с основанием зацепа замка капота, когда пешеход ударяется о конец капота бедренной частью, что обеспечивает ослабление удара о бедренную часть пешехода.

        A01FP79E01
        Обозначения на рисунке
        *1 Внутренняя панель капота *2 Усиление панели капота
        *3 Панель капота *4 Зацеп замка капота
        *5 Основание зацепа замка капота - -
        *a Сечение A - A *b Линия сгиба
        *c Валик *d Выступ
        *e До столкновения *f После поглощения удара
        A01FPED Удар - -

        • Наружная пластина кронштейна петли капота в петле капота в сборе является сминаемой, благодаря чему создается конструкция, которая может быть легко смята. В результате обеспечивается ослабление ударное воздействие на пешехода при столкновении с ним.

        A01FPFCE01
        Обозначения на рисунке
        *1 Петля капота в сборе *2 Кронштейн петли капота
        *3 Наружная пластина кронштейна петли капота - -
        *a Сечение A - A *b Сминаемая конструкция

        • Вентиляционная решетка в верхней части кожуха в сборе имеет показанную ниже форму, благодаря чему поддерживается необходимая жесткость и достигается ослабление ударного воздействия на пешехода при столкновении с ним.


          • Верхнему уплотнению между капотом и кожухом придана гладкая и плоская форма, благодаря чему конструкция легко деформируется.

          • Обе стороны вентиляционной решетки в верхней части кожуха в сборе сделаны открытыми, благодаря чему конструкция легко деформируется.

          • Предусмотрена тонкостенная часть для контроля деформации за счет создания точек деформации.

        A01FP70E01
        Обозначения на рисунке
        *1 Вентиляционная решетка в верхней части кожуха в сборе *2 Верхнее уплотнение между капотом и кожухом
        *a Сечение A - A *b Сечение B - B
        *c Открытая конструкция *d Тонкостенная часть (точка деформации)

        • Благодаря тому, что на передней наружной верхней панели кожуха в сборе предусмотрены точки сгиба, а конструкция является легко сминаемой, энергия, поступающая с ожидаемого направления в область головы при столкновении, поглощается более эффективно, при этом удалось добиться сокращения количества зон, которые остаются не полностью смятыми. В результате ослабляется ударное воздействие в область головы и др. области при столкновении с пешеходом.

        A01FPQKE01
        Обозначения на рисунке
        *1 Наружная передняя панель в верхней части кожуха *2 Объект столкновения, имеющий форму головы
        *3 Кронштейн крепления электродвигателя стеклоочистителя № 1 - -
        *a Сечение A - A *b После столкновения
        *c Линия сгиба - -
    4. Ослабление травмы ног пешехода


      1. Для снижения степени тяжести травм пешехода в случае столкновения с ним используется кузов, обеспечивающий ослабление травм пешеходов. По краю переднего бампера применяется ударопоглощающая конструкция, что позволило создать кузов, который ослабляет ударное воздействие на ноги пешехода и т.п.


        • При столкновении с пешеходом ударная нагрузка в части переднего бампера поглощается в зоне, отмеченной на рисунке буквой A (кроме моделей для Кореи), благодаря чему ослабляется ударное воздействие на ноги пешехода. Кроме того, удар, действующий на ноги, передается наружу автомобиля в зону, отмеченную на рисунке буквой B. За счет эффективного расположения в зоне A (кроме моделей для Кореи) двух типов ударопоглощающих материалов в виде поглотителя энергии удара переднего бампера (который состоит из вспенивающего вещества, снижающего ударную нагрузку на колени) и нижней решетки радиатора № 1 (имеющей коробчатую конструкцию с высоким энергопоглощением, которая поглощает энергию эффективнее и в большем количестве, чем гофрированная конструкция в амортизирующем материале для защиты коленей) одновременно ослабляются ударные воздействия на ноги пешехода и улучшается дизайн.

          A01FPAQE01
          Обозначения на рисунке
          *1 Нижняя решетка радиатора № 1 *2 Передний поглотитель энергии удара
          *3 Усилитель переднего бампера *4 Крышка отверстия кронштейна радиатора
          *a Сечение C - C - -
    5. Аэродинамика


      1. Нижний конец накладки удлинителя отверстия переднего колеса имеет ступенчатую форму, что обеспечивает оптимизацию аэродинамических характеристик. Наружная ступень накладки удлинителя отверстия переднего колеса расширена с нижней стороны, что уменьшает объем воздуха, ударяющегося о вращающиеся части шин. Как следствие, ослабляется завихрение, создаваемое вращением передних шин и нарушающее их обтекание воздухом, что снижает аэродинамическое сопротивление и обеспечивает высокую устойчивость прямолинейного движения при высоких скоростях за счет регулирования воздушного потока. Кроме того, внутренняя ступень накладки удлинителя отверстия переднего колеса укорочена с нижней стороны, что снижает аэродинамическое сопротивление, создаваемое самой накладкой удлинителя отверстия переднего колеса.

        A01FPH8E01
        Обозначения на рисунке
        *1 Накладка удлинителя отверстия переднего колеса - -
        *a Внутренняя сторона автомобиля *b Наружная сторона автомобиля
        A01FPED Поток воздуха - -
      2. В брызговике переднего крыла в сборе предусмотрена канавка. В результате воздушный поток в арке колеса превращается в равномерный поток, параллельный шинам, что обеспечивает плавный ток воздуха в арке колеса, гарантируя превосходную устойчивость во время маневров.

        A01FP5ZE01
        Обозначения на рисунке
        *1 Брызговик переднего крыла в сборе *2 Облицовка переднего бампера
        *3 Шина переднего колеса *4 Панель переднего крыла
        *5 Верхний боковой защитный брус между передним фартуком и капотом *6 Опора передней пружины
        *a Сечение A - A *b Сечение B - B
        *c Канавка - -
        A01FPDC Канавка A01FPED Поток воздуха
      3. Нижний конец облицовки переднего бампера опущен для регулирования объема воздуха, движущегося под пол кузова. В результате подъемная сила снижается, что обеспечивает превосходную устойчивость во время маневров.

        A01FPHLE01
        Обозначения на рисунке
        *A Кроме комплектации "F SPORT" *B Для комплектации "F SPORT"
        *1 Облицовка переднего бампера - -
        *a Сечение A - A *b Сечение B - B
        A01FPED Поток воздуха - -
      4. Для снижения объема воздуха, ударяющегося о вращающиеся части шин, предусмотрен щиток заднего пола. Как следствие, ослабляется завихрение, создаваемое вращением задних шин и нарушающее их обтекание воздухом, что снижает аэродинамическое сопротивление и обеспечивает высокую устойчивость прямолинейного движения при высоких скоростях за счет регулирования воздушного потока.

        A01FP82E01
        Обозначения на рисунке
        *1 Щиток заднего пола - -
        A01FPED Поток воздуха - -
      5. Для отвода наружу завихрения высокого давления, которое создает аэродинамическое сопротивление в арках задних колес за счет вращения задних шин, предусмотрены утолщения.

        A01FPK6E01
        Обозначения на рисунке
        *1 Подкрылок арки заднего колеса *2 Наружная панель задней колесной арки
        *3 Внутренняя панель задней колесной арки *4 Шина заднего колеса
        *a Вид A *b Сечение B - B
        *c Валик - -
        A01FPJH Воздушный поток, создаваемый вращением шины A01FPED Подвод воздуха за счет утолщения
      6. Панель двери багажного отделения в сборе в задней концевой части заострена, что обеспечивает снижение аэродинамического сопротивления за счет сглаживания потока воздуха, поступающего с крыши к задней стороне.

        A01FP47E01
        Обозначения на рисунке
        *1 Панель двери багажного отделения в сборе - -
        A01FPED Поток воздуха - -
      7. Задний спойлер в сборе на моделях с задним спойлером в сборе ослабляет завихрения воздуха назад, что нацелено на снижение аэродинамического сопротивления за счет сглаживания воздушного потока.

        A01FP8KE01
        Обозначения на рисунке
        *1 Задний спойлер в сборе - -
        *a Плавный воздушный поток *b Завихрение
      8. Задний блок фонарей в сборе имеет угловатую форму и снабжен ребром аэродинамической стабилизации. Угловатая часть (кромка) срезает воздушный поток и направляет его назад для подавления завихрений, тем самым обеспечивая снижение аэродинамического сопротивления за счет эффектов регулировки воздушного потока, которые сглаживают ток воздуха. Задний блок фонарей в сборе имеет угловатую форму и снабжен ребром аэродинамической стабилизации. Угловатая часть (кромка) срезает воздушный поток и направляет его назад для подавления завихрений, тем самым обеспечивая снижение аэродинамического сопротивления за счет эффектов регулировки воздушного потока, которые сглаживают ток воздуха.

      9. На заднем блоке фонарей в сборе используются ребра аэродинамической стабилизации (вихрегенераторы). По мере обтекания воздухом поверхностей движущегося автомобиля трение может вызывать беспорядочное движение воздуха, увеличивающее аэродинамическое сопротивление и создающее случайные колебания давления воздуха вокруг автомобиля. Ребра аэродинамической стабилизации преобразуют воздушный поток, прежде чем он становится турбулентным, создавая серию управляемых закруток или завихрений, что способствует уравниванию давлений воздуха, снижению аэродинамического сопротивления и повышению устойчивости автомобиля.

        A01FPJ8E01
        Обозначения на рисунке
        *1 Задний блок фонарей в сборе - -
        *a Аэростабилизирующее ребро *b Угловатая форма
        *c Срезанный воздушный поток *d Создаваемые завихрения
      10. Чтобы обеспечить плавный ток воздуха к задней стороне для воздуха, который поступает спереди под пол кузова, нижняя поверхность автомобиля имеет следующие особенности, способствующие регулированию воздушного потока. Плавный поток воздуха вблизи нижней поверхности автомобиля повышает скорость воздушного потока, при этом между автомобилем и поверхностью дороги создается зона низкого давления (эффект Вентури). Эта зона низкого давления создает прижимную силу, тем самым прижимая автомобиль к дорожной поверхности. В результате достигается превосходная устойчивость при прямолинейном движении.


        • Защита картера двигателя имеет плоскую поверхность, регулирующую воздушный поток. Кроме того, предусмотрено ребро аэродинамической стабилизации.

        • Площадь поверхности накладки переднего пола и панели заднего пола № 1 в сборе увеличена, а высота относительно земли оптимизирована. Кроме того, предусмотрено ребро аэродинамической стабилизации.

        • Угол среза подкузовной панели пола № 1 под полом кузова оптимизирован. Кроме того, предусмотрено ребро аэродинамической стабилизации.

        A01FPKUE01
        Обозначения на рисунке
        *1 Защита картера двигателя *2 Панель переднего пола
        *3 Панель заднего пола № 1 в сборе *4 Подкузовная панель пола № 1
        *a Участок A *b Участок B
        *c Участок C *d Аэростабилизирующее ребро
        *e Высокоскоростной воздушный поток под полом - -
      11. Общая поверхность центрального удлинителя заднего бампера расположена под углом, что обеспечивает превосходные аэродинамические характеристики за счет направления потока воздуха из-под днища назад. Кроме того, ребро аэродинамической стабилизации на нижней облицовке заднего бампера способствует сглаживанию воздушного потока совместно с ребром аэродинамической стабилизации на подкузовной панели пола № 1.

        A01FPLYE01
        Обозначения на рисунке
        *1 Центральный удлинитель заднего бампера в сборе *2 Нижняя задняя панель кузова
        *3 Днище заднего пола *4 Подкузовная панель пола № 1
        *a Сечение A - A *b Аэростабилизирующее ребро
        *c Общая поверхность *d Плавный воздушный поток
        *e Угол установки - -
  2. КОНСТРУКЦИЯ


    1. Легкий кузов повышенной жесткости


      1. Исключительная жесткость и легкость кузова обеспечиваются за счет применения высокопрочной стали, стали сверхвысокой прочности, горячештампованной стали и стали, содержащей алюминий.

        A01FPIT
        Обозначения на рисунке
        A01FPDC Сталь сверхвысокой прочности A01FPI1 Сталь высокой прочности
        A01FP93 Сталь, содержащая алюминий A01FPMF Горячештампованная сталь
      2. Наряду с тем, что внутренняя панель кузова над ветровым стеклом изготавливается из высокопрочной стали, рама заднего окна и верхняя внутренняя рама заднего окна имеют замкнутое поперечное сечение, что гарантирует исключительную прочность крыши.

        A01FPGSE01
        Обозначения на рисунке
        *1 Наружная панель кузова над ветровым стеклом *2 Внутренняя панель кузова над ветровым стеклом
        *3 Верхняя внутренняя рама заднего окна *4 Рама заднего окна
        *a Сечение A - A *b Сечение B - B
      3. В части переднего крыла предусмотрена верхняя косынка дверного проема стойки ветрового стекла, которая соединяет часть элемента фартука с частью стойки ветрового стекла. Как следствие, обеспечиваются превосходная чувствительность рулевого управления и ощущение устойчивости при угловых колебательных движениях. Кроме того, чтобы предотвратить ухудшение безопасности при столкновении, в конструкции предусмотрено утолщение, которое легко деформируется во время столкновения.

        A01FPCTE01
        Обозначения на рисунке
        *1 Верхняя косынка дверного проема стойки ветрового стекла *2 Внутренняя боковая верхняя панель кожуха
        *3 Панель переднего крыла - -
        *a Сечение A - A *b Валик
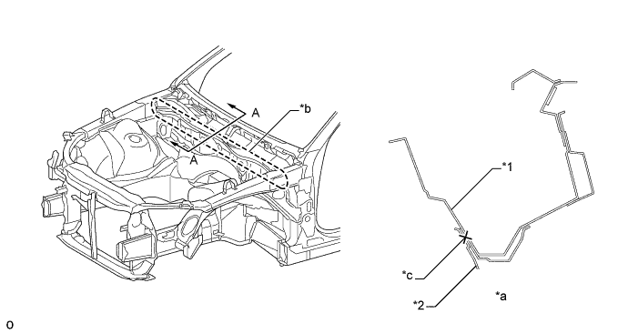
      4. На переднем щитке и внутренней верхней панели кожуха активно используется точечная сварка, что гарантирует превосходную устойчивость при маневрировании за счет увеличения жесткости соединения панелей.

        A01FPTBE01
        Обозначения на рисунке
        *1 Внутренняя верхняя панель кожуха *2 Передний щиток
        *a Сечение A - A *b Увеличенная площадь использования точечной сварки
        *c Место точечной сварки - -
      5. В зоне колесной арки активно используется точечная сварка, что гарантирует превосходную устойчивость при маневрировании (реакцию рулевого управления, ощущение прижимного усилия сзади) за счет увеличения жесткости соединения панелей.

        A01FPVME01
        Обозначения на рисунке
        *1 Усиление опоры пружины задней подвески № 2 *2 Внутренняя панель задней колесной арки
        *3 Наружная панель задней колесной арки *4 Боковая наружная панель
        *5 Наружная боковая панель крыши - -
        *a Сечение A - A *b Увеличенная площадь использования точечной сварки
        *c Место точечной сварки - -
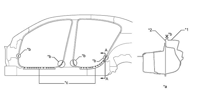
      6. На части проема двери дополнительно применяется лазерная сварка, что улучшает качество соединения панелей между зонами точечной сварки, обеспечивая исключительную реакцию автомобиля на начальных стадиях маневрирования (смены ряда движения, слалома) и чувствительность.

        A01FPDRE01
        Обозначения на рисунке
        *1 Усиление панели порога № 5 *2 Боковая наружная панель
        *a Сечение A - A *b Лазерная сварка
        *c Зона точечной сварки - -
      7. На части разделительного проема салона дополнительно применяется лазерная сварка, что улучшает прочность соединения панелей между зонами точечной сварки, обеспечивая исключительную реакцию автомобиля на начальных стадиях маневрирования (смены ряда движения, слалома) и ощущение прижимного усилия сзади.

        A01FPHRE01
        Обозначения на рисунке
        *1 Верхняя задняя наружная направляющая *2 Задняя верхняя панель
        *a Сечение A - A *b Лазерная сварка
      8. Усиление центрального пола № 3 располагается так, чтобы правая и левая установочные части элемента задней подвески в сборе с передней стороны соединялись по прямой, тем самым обеспечивая высокий уровень жесткости в месте приложения нагрузки. В результате достигается превосходная устойчивость при маневрировании.

      9. Места точечной сварки между передним днищем центрального пола и днищем центрального пола, поперечиной центрального пола № 2 и днищем центрального пола, и поперечиной заднего пола № 1 и днищем центрального пола расположены оптимальным образом, что обеспечивает превосходную устойчивость при маневрировании.

      10. При этом толщина днища центрального пола увеличена, чтобы добиться превосходной устойчивости при маневрировании, комфорта во время движения и низкого уровня шума.

        A01FPM9E01
        Обозначения на рисунке
        *1 Днище центрального пола *2 Поперечина центрального пола № 2
        *3 Переднее днище центрального пола *4 Усиление центрального пола № 3
        *5 Поперечина заднего пола № 1 *6 Элемент задней подвески в сборе
      11. Формы кронштейна радиатора в сборе и заднего основания кузова оптимизированы, причем все скобы и подкосы, имеющиеся под полом, располагаются оптимальным образом, что обеспечивает превосходную устойчивость при маневрировании.

        A01FPMOE02
        Обозначения на рисунке
        *1 Кронштейн радиатора в сборе *2 Верхний элемент передней подвески № 2
        *3 Скоба элемента передней подвески *4 Передний центральный подкос пола в сборе
        *5 Передний центральный подкос пола *6 Задняя подушка опоры кузова в сборе
    2. Cтальной лист с антикоррозионным покрытием


      1. В местах, показанных на рисунке ниже, используются стальные листы с антикоррозионным покрытием и сталь, содержащая алюминий.

        A01FPECE01
        Обозначения на рисунке
        *A Для моделей с люком *B Для моделей с обычной крышей
        A01FPDC Сталь, содержащая алюминий A01FPI1 Cтальной лист с антикоррозионным покрытием
    3. Нанесение антигравийного покрытия и антикоррозионные свойства


      1. На колесные арки и другие части, подверженные сколам от ударов гравия, наносится покрытие из поливинилхлорида (ПВХ), что повышает коррозионную стойкость этих участков.

        A01FPL7E01
        Обозначения на рисунке
        *1 Герметизация кромок - -
        *a Правый передний фартук *b Арка правого заднего колеса
        *c Левый передний фартук *d Арка левого заднего колеса
        *e Кромочное уплотнение симметрично левой стороне фартука переднего крыла. *f Верх
        *g Передняя сторона - -
        A01FP93 Участки нанесения грунтовки (толстый слой) A01FPMF Участки нанесения грунтовки (толстый слой (влажный))
        A01FPDC Участки нанесения грунтовки (обычный слой (влажный)) A01FPI1 Участки нанесения грунтовки (обычный слой)
      2. Для защиты от ржавчины на переднюю кромку капота наносится антигравийное покрытие (пластичная шпаклевка).

      3. Для защиты поверхности лакокрасочного покрытия от снега со льдом и гравия, а также для достижения высокой коррозионной стойкости используются большой молдинг порога кузова в сборе и защитный элемент задней боковой панели (для моделей для Европы и Австралии).

      4. Края панели капота, нижние части дверей, дверные петли в сборе и петля капота в сборе для повышения стойкости к коррозии покрыты воском.

        A01FPVVE01
        Обозначения на рисунке
        *1 Панель капота *2 Панель передней двери
        *3 Молдинг порога кузова в сборе *4 Панель задней двери
        *5 Защитный элемент задней боковой панели *6 Петля капота в сборе
        *7 Верхняя петля передней двери в сборе *8 Верхняя петля задней двери в сборе
        *9 Нижняя петля передней двери в сборе *10 Нижняя петля задней двери в сборе
        *11 Панель крыла *12 Боковая наружная панель
        *a Сечение A - A *b Сечение B - B
        *c Сечение C - C *d Сечение D - D
        *e Область нанесения пластичной шпаклевки - -
        A01FP93 Пластичная шпаклевка A01FPDC Воск
    4. Материалы, поглощающие вибрацию и шум


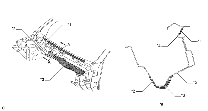
      1. На задней части панели капота установлен изолятор. Он обеспечивает отличную звукоизоляцию.

        A01FPDTE01
        Обозначения на рисунке
        *1 Звукоизоляция капота *2 Капот
        *a Сечение A - A - -
      2. Передняя панель в сборе снабжена изоляторами (изолятором верхней панели кожуха № 1, изолятором верхней панели кожуха № 2 и листовым изолятором верхней панели кожуха), чтобы обеспечить ослабление шума, проникающего в салон из отсека двигателя.

        A01FPDME01
        Обозначения на рисунке
        *1 Изолятор верхней панели кожуха № 2 *2 Изолятор верхней панели кожуха № 1
        *3 Верхняя листовая изоляция кожуха *4 Наружная передняя панель в верхней части кожуха
        *5 Внутренняя верхняя панель кожуха - -
        *a Сечение A - A - -
      3. Устанавливается звукоизоляция переднего щитка. Она поглощает и изолирует шум двигателя, уменьшая уровень шума двигателя в салоне.

        A01FP5RE01
        Обозначения на рисунке
        *1 Изолятор переднего щитка в сборе *2 Передний щиток
        *a Конструкционный материал *b Сторона салона
        *c Уретан *d Тройной этиленпропилендиеновый сополимер (EPDM)
        *e Войлок - -
      4. Предусмотрен наружный изолятор переднего щитка. Она уменьшает уровень шума двигателя в салоне и снаружи автомобиля.

        A01FPQQE01
        Обозначения на рисунке
        *1 Наружная звукоизоляция переднего щитка *2 Передний щиток в сборе
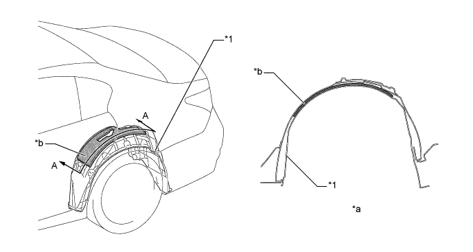
      5. Подкрылок арки заднего колеса снабжается шумопоглощающим материалом, благодаря чему ослабляются дорожный шум и шум, создаваемый отлетающими частицами песка и каплями воды.

        A01FP78E01
        Обозначения на рисунке
        *1 Подкрылок арки заднего колеса - -
        *a Сечение A - A *b Шумопоглощающий материал
      6. За счет применения перечисленных ниже конструкций реализована настройка в резонанс переднего щитка и днища пола. В результате достигаются исключительные уровни шума, вибраций и неплавности хода (NVH).


        • Предусмотрена поперечина между передним боковым защитным брусом и передним щитком.

        • Предусмотрена скоба между передним щитком и кожухом.

        • В зоне переднего щитка применяется многослойная конструкция из листовой стали, в которой между передним щитком и задним передним щитком со стороны сиденья водителя располагаются листовой изолятор переднего щитка и левый листовой изолятор переднего щитка, а между передним щитком и передним щитком № 2 со стороны сиденья переднего пассажира располагается правый листовой изолятор переднего щитка.

        • Оптимизированы форма утолщения, а также расположение днища центрального пола и днища заднего пола.

        • Оптимизирована толщина листа переднего щитка.

        • Оптимизирована толщина листа днища центрального пола.

        A01FPIVE01
        Обозначения на рисунке
        *1 Передний щиток *2 Поперечина между передним боковым защитным брусом и передним щитком
        *3 Днище центрального пола *4 Днище заднего пола
        *5 Звукоизоляция нижней передней панели - -
        A01FPWYE01
        Обозначения на рисунке
        *1 Скоба соединения панели приборов с кожухом *2 Изолятор переднего щитка № 3 в сборе
        *3 Изолятор переднего щитка № 2 в сборе *4 Левый листовой изолятор переднего щитка
        *5 Передний щиток *6 Задний передний щиток
        *7 Правый листовой изолятор переднего щитка *8 Передний щиток № 2
        *9 Днище центрального пола *10 Днище заднего пола
        *11 Звукоизоляция нижней передней панели - -
        *a Сечение A - A *b Сечение B - B
        *c Валик - -
      7. Детали (подкос № 1 между верхней и внутренней частями кожуха и кронштейн крепления электродвигателя стеклоочистителя № 1), фиксирующие переднюю панель в сборе, имеют оптимальную конструкцию, при этом используется виброизоляционный материал (изолятор верхней панели кожуха № 2), что обеспечивает ослабление глухих звуков, обусловленных вибрацией стекла.

        A01FPSME01
        Обозначения на рисунке
        *1 Передняя панель в сборе *2 Подкос № 1 между верхней и внутренней частями кожуха
        *3 Кронштейн крепления электродвигателя стеклоочистителя № 1 *4 Наружная верхняя панель капота
        *5 Изолятор верхней панели кожуха № 2 *6 Внутренняя верхняя панель кожуха
        *a Сечение A - A *b Сечение B - B
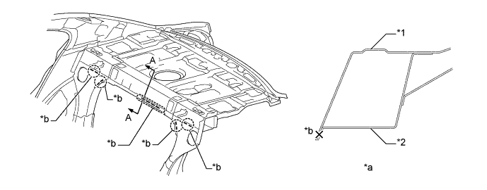
      8. Верхнее заднее усиление № 4 соединяется с продольной стенкой верхней задней панели, при этом усиление имеет замкнутое поперечное сечение, что снижает вибрацию верхней задней панели, обеспечивая ослабление глухих звуков и дребезжания динамиков.

        A01FPKQE01
        Обозначения на рисунке
        *1 Верхнее заднее усиление № 4 *2 Наружная верхняя задняя панель
        *3 Задняя верхняя панель - -
        *a Сечение A - A *b Сечение B - B
        *c Соединение *d Замкнутое поперечное сечение
      9. В целях уменьшения дорожного шума, шума двигателя и гудения в салоне панель пола покрыта шумоизолятором.

        A01FP5W
        Обозначения на рисунке (для моделей с левосторонним рулевым управлением)
        A01FPDC Шумоизолятор пола - -
        A01FP6D
        Обозначения на рисунке (для моделей с правосторонним рулевым управлением)
        A01FPDC Шумоизолятор пола - -
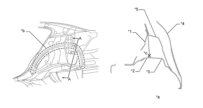
      10. Профиль рамы кузова заполнен звукоизоляционными материалами, которые ослабляют различные шумы, проникающие в салон автомобиля снаружи.

        A01FPDDE01
        Обозначения на рисунке
        *1 Шумоизолятор крыши № 2 *2 Шумоизолятор крыши № 6
        *3 Панель крыши *4 Внутренний боковой брус крыши
        *5 Подкладка стойки № 6 *6 Боковой брус крыши
        *7 Верхнее усиление средней стойки кузова *8 Подкладка стойки № 3 (№ 4)
        *9 Боковая наружная панель - -
        *a Сечение A - A *b Сечение B - B
        *c Сечение C - C - -
        A01FP93 Материалы, поглощающие вибрацию и шум A01FPMF Губчатые материалы
        A01FPDC Вспененные материалы - -
      11. Изоляция салона и багажного отделения оптимизирована звукоизолирующими и звукопоглощающими материалами, что обеспечивает тишину во время движения.

        A01FP7VE01
        Обозначения на рисунке
        *A Для моделей с обычной крышей *B Для моделей с системой люка
        *1 Противосолнечный козырек в сборе *2 Шумоизолятор крыши № 1
        *3 Шумоизолятор крыши № 2 *4 Шумоизолятор крыши № 4
        *5 Обивка крыши *6 Войлок
        *7 Шумоизолятор передней двери *8 Шумоизолятор задней двери
        *9 Изолятор переднего щитка в сборе *10 Передний коврик переднего пола в сборе
        *11 Разделительная подкладка салона № 3 *12 Разделительная подкладка салона № 2
        *13 Разделительная подкладка салона № 1 *14 Передняя накладка переднего пола
        *15 Шумоизолятор переднего пола *16 Шумоизолятор центрального пола
        *17 Шумоизолятор заднего пола *18 Звукоизоляция нижней передней панели
        A01FPLIE01
        Обозначения на рисунке
        *A Для моделей с высококачественной системой объемного звучания "Mark Levinson" - -
        *1 Панель облицовки отделения для мелких вещей № 2 в сборе *2 Панель облицовки отделения для мелких вещей в сборе
        *3 Передняя облицовочная накладка багажного отделения *4 Левая внутренняя облицовочная накладка багажного отделения
        *5 Отделочная пластина заднего пола *6 Правая внутренняя облицовочная накладка багажного отделения
        A01FPDC Звукопоглощающий материал - -
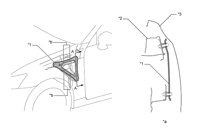
      12. В первой угловой части уплотнителя передней двери используется конструкция, заполняющая зазор, что ослабляет шум встречного потока воздуха за счет блокирования воздушного потока.

        A01FPCDE01
        Обозначения на рисунке
        *1 Уплотнитель передней двери *2 Боковая наружная панель
        *3 Верхняя передняя рама окна передней двери - -
        *a Сечение A - A *b Конструкция, заполняющая зазор
      13. За счет уменьшения разности уровней между ветровым стеклом и панелью крыши удалось добиться надлежащих аэродинамических характеристик и ослабления шума встречного потока воздуха.

        A01FP5QE01
        Обозначения на рисунке
        *1 Ветровое стекло *2 Молдинг водосточного желоба
        *3 Панель крыши - -
        *a Сечение A - A *b Минимальная разность уровней между ветровым стеклом и панелью крыши
        A01FPED Поток воздуха - -
      14. Для ослабления шума встречного потока воздуха оптимизированы разности уровней между наружным молдингом ветрового стекла и ветровым стеклом (C на рисунке), толщина боковой наружной панели (D на рисунке) и форма угла боковой наружной панели (R на рисунке).

        A01FPRXE01
        Обозначения на рисунке
        *1 Наружный молдинг ветрового стекла *2 Ветровое стекло
        *3 Боковая наружная панель *4 Панель переднего крыла
        *a Сечение A - A *b Сечение B - B
        A01FPED Поток воздуха - -
      15. Между боковой наружной панелью и панелью переднего крыла размещается защита боковой панели переднего крыла. Она предотвращает проникновение дорожного шума в салон и обеспечивает великолепную шумоизоляцию.

        A01FPT1E01
        Обозначения на рисунке
        *1 Защита боковой панели переднего крыла *2 Панель переднего крыла
        *3 Наружная панель передней двери *4 Боковая наружная панель
        *a Сечение A - A - -
      16. Предусмотрено уплотнение между капотом и передним крылом, которое ослабляет шум встречного потока воздуха по краю панели переднего крыла и капота в сборе.

        A01FPJKE01
        Обозначения на рисунке
        *1 Уплотнение между капотом и передним крылом *2 Капот
        *3 Панель переднего крыла - -
        *a Сечение A - A - -
        A01FPED Поток воздуха - -
      17. Чтобы ослабить шум встречного потока воздуха, обусловленный движением воздуха через промежуток между стеклом передней двери в сборе и наружным зеркалом заднего вида в сборе, оптимизирована величина этого промежутка.

        A01FPC9E01
        Обозначения на рисунке
        *1 Стекло передней двери в сборе *2 Наружное зеркало заднего вида в сборе
        A01FPED Поток воздуха - -
      18. Для ослабления проникновения шума встречного потока воздуха и дорожного шума в салон по краям дверей предусмотрены уплотнения стыков (передний молдинг рамы окна задней двери, уплотнитель задней двери № 2, уплотнитель передней двери № 3, уплотнитель задней двери № 3).

        A01FPICE01
        Обозначения на рисунке
        *1 Задний молдинг рамы окна передней двери *2 Уплотнитель
        *3 Передний молдинг рамы окна задней двери *4 Панель передней двери в сборе
        *5 Уплотнитель задней двери № 2 *6 Молдинг порога кузова в сборе
        *7 Панель переднего крыла *8 Уплотнитель передней двери № 3
        *9 Панель задней двери в сборе *10 Уплотнитель задней двери № 3
        *a Сечение A - A *b Сечение B - B
        *c Сечение C - C *d Сечение D - D