СИСТЕМА ГИБРИДНОЙ ТРАНСМИССИИ ДЕТАЛЬНОЕ ОПИСАНИЕ


  1. FUNCTION


    1. Sequential Shiftmatic System


      1. The sequential shiftmatic system enables the driver to select 6 stages of engine braking force by operating the shift lever or shift paddle. By controlling the engine, MG1 and MG2, this system improves the generation response of the engine braking force and acceleration response. In addition, a shift range which is lower than NORMAL mode can be selected in SPORT mode, making it possible to obtain a greater engine braking force.

      2. By moving the shift lever to S, the automatic shifting mode will be switched to shift range selecting mode. By operating the shift lever and shift paddle, driving in the shift range selected by the driver is possible, and the accelerator pedal characteristics and acceleration response can be selected.* In the low shift range, motive force in the intermediate area of accelerator opening has been increased, improving the vehicle response to the driver's operation. In the high shift range, motive force changes in accordance with accelerator operation amount changes have been decreased more than normal, enhancing accelerator control and making it easy to maintain the vehicle speed during constant-speed cruising.

        Tech Tips

        *: This does not indicate that maximum vehicle speed and maximum motion performance have been improved. Also, when the shift lever is moved to S, accelerator characteristics in SPORT mode, ECO mode and SNOW mode are disabled.

      3. When the shift lever is in D, performing a "-" (downshift) operation with the shift paddle changes the system to a temporary shift range selecting mode. By operating the shift paddle in the same way as when in S, shift range selection is possible even in D. As a result, the level of engine braking force can be selected by operating the shift paddle without the need to remove hands from the steering wheel while driving.

        A01FPAUE01
        Text in Illustration
        *1 Shift Paddle Switch (Transmission Shift Switch Assembly) *2 Transmission Control Switch
        *3

        Combination Meter Assembly


        • Multi-information Display

        • Multi Buzzer

        - -
      4. An S mode position signal is output from the transmission control switch to the power management control ECU when the shift lever is moved from D to S. Then, the system switches to shift range selecting mode in order to enable shift range switching operation using the shift lever and shift paddle.

      5. By performing a "-" (downshift) operation with the shift paddle when driving with the shift lever in D, a shift-down signal is output from the shift paddle switch (transmission shift switch assembly) to the power management control ECU The sequential shiftmatic system switches to the temporary shift range selecting mode, which makes it possible to perform shift range selection even with the shift paddle in D.

      6. In shift range selecting mode, by performing a "+" (upshift) or "-" (downshift) operation using the shift lever and shift paddle, a shift-up signal or shift-down signal is output from the transmission control switch or shift paddle switch (transmission shift switch assembly) to the power management control ECU, and the shift range is changed. While using the selected shift range as the upper limit, an optimal shift point is automatically selected in accordance with driving conditions.

        A01FPE6E01
      7. Holding the shift lever to "+" (upshift) in S will change the shift range to the S6 range regardless of the current shift range (S1 to S5).

      8. In order to protect the transmission, when accelerating while any range between the S1 range and the S4 range is selected in shift range selecting mode, sequential upshifts are automatically performed up to the S5 range by exceeding a predetermined vehicle speed in each shift range.

      9. The shift range position is displayed on the multi-information display in the combination meter assembly to inform the driver of shift range selection conditions.

        A01FP1OE01
        Text in Illustration
        *1 Shift Position Display *2 Shift Range Position Display
        *a Performing "+" (Upshift) or "-" (Downshift) Operation *b Holding Shift Lever to "+" (Upshift)

        Tech Tips


        • When downshifting at a low speed, the system may change the shift range by 2 stages or more.

      10. With the shift lever in D, the temporary shift range selecting mode is canceled in the following conditions:


        • The "+" (upshift) side shift paddle has been operated for a certain period of time.

        • The accelerator pedal has been depressed and held for a certain period of time in the same range.

        • The vehicle has stopped.

        • The shift lever is moved to any position other than D.*

          Tech Tips

          *: When the shift lever is moved to S, the system changes to the S position shift range selecting mode.

      11. Upon receiving a downshifting request issued by the driver through the operation of the shift lever or shift paddle, this system limits the switching of the shift range if the vehicle is being driven at a speed that is higher than the limit speed, and informs the driver by sounding an alarm.

        Downshifting Request Limit Speed
        6 → 5 -
        5 → 4 153 km/h (95 mph)
        4 → 3 118 km/h (73 mph)
        3 → 2 82 km/h (51 mph)
        2 → 1 47 km/h (29 mph)
    2. Shift Lock System


      1. The shift lock system prevents the shift lever from being moved to any position other than P, unless the power switch is turned on (IG) and the brake pedal is depressed. This prevents the vehicle from starting off suddenly.

      2. The shift lock system is controlled by the shift lock control ECU sub-assembly and the system has a shift lock function.

      3. The shift lock control ECU sub-assembly has a built-in P detection switch to detect the shift lever position, and receives input signals from the stop light switch assembly and power switch. Upon receiving these signals, the shift lock control ECU sub-assembly turns on the shift lock solenoid in order to release the shift lock.

      4. A shift lock release button, which manually overrides the shift lock mechanism, is used.

        A01FP22E01
        Text in Illustration
        *1 Shift Lock Release Button *2 Transmission Floor Shift Assembly
        *3

        Shift Lock Solenoid Assembly


        • Shift Lock Control ECU

        • P Detection Switch

        - -
        A01FPILE03
  2. CONSTRUCTION


    1. L210 Hybrid Transmission (Hybrid Vehicle Transmission Assembly)


      1. This transmission consists of the following components: Motor Generator 1 (MG1) that operates primarily as a generator, Motor Generator 2 (MG2) that operates primarily for driving the vehicle, a power split planetary gear that splits the engine power between MG1 and the rear wheels, a motor speed reduction planetary gear that operates as a reduction mechanism for MG2, a mechanical oil pump that is driven by the engine or electrical power and a transmission damper.

      2. MG1, MG2, the power split planetary gear, and the motor speed reduction planetary gear are located axially along the engine output shaft.

        A01FP57E02
        Text in Illustration
        *1 Motor Generator 1 (MG1) *2 Transmission Damper (Transmission Input Damper Assembly)
        *3 Mechanical Oil Pump *4 Motor Speed Reduction Planetary Gear
        *5 Motor Generator 2 (MG2) *6 Power Split Planetary Gear
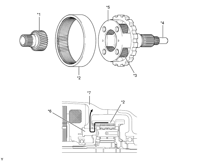
    2. Compound Gear Unit


      1. A power split planetary gear and a motor speed reduction planetary gear are provided.

      2. The power split planetary gear unit splits the motive force of the engine into 2 passages. One passage provides motive force to drive the wheels, and the other provides force to drive MG1, so that the MG1 can function as a generator.

      3. The motor speed reduction planetary gear reduces the speed of MG2 and amplifies its torque.

      4. The power split planetary gear is located behind MG1, and the motor speed reduction planetary gear is located behind MG2. The gears are connected as follows:

        Item Connection
        Power Split Planetary Gear Sun Gear MG1
        Carrier Input Shaft (Engine)
        Ring Gear Intermediate Shaft
        Motor Speed Reduction Planetary Gear Sun Gear MG2
        Carrier Transmission Output Shaft (Propeller Shaft)
        A01FPUPE01
        Text in Illustration
        *1 Input Shaft *2 MG1
        *3 Power Split Planetary Gear *4 Intermediate Shaft
        *5 MG2 *6 Motor Speed Reduction Planetary Gear
        *7 Output Shaft *8 Carrier
        *9 Ring Gear *10 Pinion Gear
        *11 Sun Gear - -
        A01FPED From Engine A01FPJH To Propeller Shaft
    3. Power Split Planetary Gear


      1. A planetary gear, which is composed of a sun gear, ring gear, pinion gear and carrier, is used.

      2. The engine side oil pump drive gear is integrated into the planetary cover for a reduced number of components.

      3. The teeth of the oil pump drive gear are cut after being fitted and welded to the input shaft assembly to achieve excellent tooth surface accuracy, helping to enhance quietness.

      4. The power output of the engine, which is transmitted via the planetary gear unit, is divided into the motive force directed to the drive wheels and the motive force to MG1 for generating electricity.

      5. As part of the power split planetary gear unit, the sun gear is connected to MG1, the ring gear is connected to the transmission output shaft and the carrier is connected to the engine output shaft.

        A01FPFBE01
        Text in Illustration
        *1 Sun Gear (MG1) *2 Input Shaft
        *3

        Planetary Cover


        • Engine Side Oil Pump Drive Gear

        *4 Pinion Gear
        *5 Output Side Oil Pump Drive Gear *6 Intermediate Shaft
        *7 Ring Gear *8 Carrier
    4. Motor Speed Reduction Planetary Gear


      1. The motor speed reduction planetary gear consists of a sun gear, pinion gear, carrier and ring gear. The motive force of MG2 travels via the sun gear to the carrier in order to drive the rear wheels.

      2. The ring gear is fixed to the transmission case using a pin, which transmits vibrations from the gear to the transmission case, helping to enhance quietness.

        A01FPFXE01
        Text in Illustration
        *1 Sun Gear *2 Ring Gear
        *3 Pinion Gear *4 Output Shaft
        *5 Carrier *6 Ring Gear Fix Pin
        *7 Transmission Case - -
        A01FPED Vibration Transmitted from Gear - -
      3. The angle of the gear engagement is optimized to reduce vibration, helping to enhance quietness.

        A01FPFEE01
    5. Oil Pump


      1. A mechanical type oil pump is provided separately from the input shaft. An oil pump driven gear is used to increase the rotational speed, achieving a compact and lightweight design.

      2. The one-way clutch provided on the same shaft as the oil pump transmits power from the oil pump drive gear of either the engine side or output side, depending on which speed is higher, to the oil pump, and allows for hydraulic pressure generation during EV driving, in order to achieve a compact and lightweight design and help enhance cooling and lubrication performance of the hybrid transmission system.

        A01FP6EE01
        Text in Illustration
        *1 Output Side Oil Pump Drive Gear *2 Engine Side Oil Pump Drive Gear
        *3 Rear Oil Pump Driven Gear *4 Front Oil Pump Driven Gear
        *5 One-way Clutch *6 Oil Pump Drive Rotor
        *7 Oil Pump Driven Rotor *8 Ring Gear (Power Split Planetary Gear)
        *a Driving Force Transmitted to Oil Pump - -
    6. Cooling System


      1. An oil cooler is provided in the lower tank of the radiator assembly, ensuring ATF cooling performance. This suppresses increases in ATF temperature during sporty driving, helping to enhance reliability.

        A01FPDOE01
        Text in Illustration
        *1 Oil Cooler Inlet Hose *2 Oil Cooler Outlet Hose
        *3 Oil Cooler Tube Assembly *4 Oil Cooler (Radiator Assembly)
      2. ATF is drawn from the oil strainer assembly using the oil pump, and divided into the cooling and the lubrication passages of MG1 and MG2. Through the cooling passage of MG1 and MG2, ATF is fed directly to MG1 and MG2 from the top after being cooled down in the oil cooler. In addition, ATF in the gear lubrication passage is also sent through the oil hole of the intermediate shaft to equally cool down the stator coil ends using the centrifugal force generated by the rotation of the motor rotor shaft. This ensures excellent cooling performance.

        A01FP2FE01
        Text in Illustration
        *1 MG1 *2 Oil Pump
        *3 Oil Strainer *4 MG2
        A01FPED Motor Shaft Core Cooling A01FPJH MG1/MG2 Top Feed Cooling Passage
        A01FPEJ Gear Lubrication Passage - -
    7. Transmission Damper (Transmission Input Damper Assembly)


      1. A coil spring type transmission damper is used to transmit driving force from the engine.

      2. Torsion rigidity is optimized, helping to enhance damping performance.

      3. A torque fluctuation absorbing mechanism that uses the dry-type friction material against the flywheel is used to prevent excessive torque from being transmitted to the transmission. This allows for the use of small components of suitable strength and achieves a compact and lightweight design for the transmission unit.

      4. A dual-stage hysteresis is provided to reduce engine speed fluctuations, thereby reducing booming noise and shocks when the engine is started and stopped.

        A01FPQTE01
        Text in Illustration
        *1 Flywheel *2 Coil Spring
        *3 Crankshaft (Engine) *4 Input Shaft (Transmission)
        *5 Dual-stage Hysteresis *6 Friction Material
    8. Parking Lock Mechanism


      1. The parking lock mechanism consists of a parking lock pawl and a parking lock gear which is integrated with the compound gear.

      2. When the shift lever is moved to P, the parking lock pawl is engaged with the parking lock gear connected to the output shaft so that the rotation of the output shaft is fixed.

        A01FP95E01
        Text in Illustration
        *1 Transmission Control Shaft Lever *2 Parking Lock Lever
        *3 Parking Lock Rod *4 Parking Lock Pawl
        *5 Floor Shift Gear Shifting Rod Sub-assembly *6 Parking Lock Gear
    9. Shift Lever Position Sensor, Transmission Control Switch and Shift Paddle Switch (Transmission Shift Switch Assembly)


      1. The power management control ECU uses the shift lever position sensor and the transmission control switch to detect the shift position.

      2. The shift lever position sensor sends the P, R, N, D and NSW signals to the power management control ECU. The power management control ECU also sends signals to the shift position indicator P, R, N and D in the combination meter assembly via CAN.

      3. The transmission control switch is installed inside the transmission floor shift assembly to detect the S mode position and inform the power management control ECU. The power management control ECU turns on the S mode indicator in the combination meter assembly.

      4. The transmission control switch detects whether the shift lever is in D or S, detects whether the shift lever is moved to "+" (upshift) or "-" (downshift) when the S mode is selected, and sends signals to the power management control ECU. At this time, the power management control ECU turns on the shift range indicator in the combination meter assembly via CAN for the selected shift range.

      5. The shift paddle switch (transmission shift switch assembly) is installed in the steering wheel. The power management control ECU detects the operation of the shift paddle is "+" (upshift) or "-" (downshift) when the shift lever is in D or S.

        A01FPG9E01
    10. Shift Control Mechanism


      1. A gate type shift lever with boot that uses a transmission control rod is used.

      2. The shift control mechanism consists of a transmission floor shift assembly, a shift lever knob and a floor shift gear shifting rod sub-assembly.

        A01FP2LE01
        Text in Illustration
        *1 Shift Lever Knob *2 Transmission Floor Shift Assembly
        *3 Floor Shift Gear Shifting Rod Sub-assembly - -
        *a Shift Pattern - -
  3. OPERATION


    1. Power Split Planetary Gear Unit


      1. The relationship between the rotational direction and the torque that acts on the gears is described through the following main operation examples:


        • When Starting Off

        • During Low Load and Constant-speed Cruising

        • During Full Throttle Acceleration

        • During Deceleration

        • Driving in Reverse

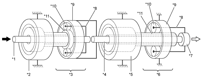
    2. How to Read Nomographic Chart


      1. The nomographic chart below gives a visual representation of the planetary gear's rotational direction, rotational speed and torque balance. In the nomographic chart, the rpm of the 3 gears in the power split planetary gear unit maintain a relationship in which they are invariably joined by a direct line.

    3. When Starting Off


      1. When starting off normally, the vehicle is driven by the motive force of MG2. At this time, the rotational speed of the carrier is 0 rpm because the engine stops. Torque does not act on the sun gear because MG1 does not generate any torque. The sun gear rotates freely in the (-) direction due to the relationship with the rotation of the ring gear.

        A01FPOEE01
        Condition of Power Split Planetary Gear Unit
        Condition Sun Gear (MG1) Carrier (Engine) Ring Gear (Output)
        Rotational Direction - 0 +
        Torque 0 0 +
    4. During Low Load and Constant-speed Cruising


      1. The condition described below is one of the examples of the power split planetary gear unit operation during low load and constant-speed cruising. The sun gear, carrier and ring gear rotate in the (+) direction. Torque acts on the carrier in the (+) direction. In return, torque acts on the sun gear and ring gear in the (-) direction. MG1 generates electricity as a result of the torque that acts on the sun gear in the (-) direction.

        A01FP2DE01
        Condition of Power Split Planetary Gear Unit
        Condition Sun Gear (MG1) Carrier (Engine) Ring Gear (Output)
        Rotational Direction + + +
        Torque - + +
    5. During Full Throttle Acceleration


      1. When a large motive force of the engine is required, the engine speed becomes high. As a result, the relationship between the rotational speeds of the gears in the power split planetary gear unit may become as shown in the nomographic chart below. The directions of torque that acts on each gear are the same as those during low load and constant-speed cruising.

        A01FP69E01
        Condition of Power Split Planetary Gear Unit
        Condition Sun Gear (MG1) Carrier (Engine) Ring Gear (Output)
        Rotational Direction + + +
        Torque - + +
    6. During Deceleration


      1. During deceleration, the ring gear rotates by the rear wheels. At this time, the rotational speed of the carrier becomes 0 rpm because the engine stops. Torque does not act on the sun gear because MG1 does not generate any torque. The sun gear rotates freely in the (-) direction due to the relationship with the rotation of the ring gear.

        A01FPJLE01
        Condition of Power Split Planetary Gear Unit
        Condition Sun Gear (MG1) Carrier (Engine) Ring Gear (Output)
        Rotational Direction - 0 +
        Torque 0 0 -
    7. Driving in Reverse


      1. During reverse driving, the vehicle is driven mainly by the motive force of MG2. At this time, the rotational directions of the gears in the power split planetary gear unit are the reverse of those when starting in a normal way. The rotational speed of the carrier becomes 0 rpm because the engine stops. The sun gear rotates freely in the (+) direction due to the relationship with the rotation of the ring gear.

        A01FPD5E01
        Condition of Power Split Planetary Gear Unit
        Condition Sun Gear (MG1) Carrier (Engine) Ring Gear (Output)
        Rotational Direction + 0 -
        Torque 0 0 -