СИСТЕМА ОПОВЕЩЕНИЯ О ВОЗМОЖНОМ ВЫХОДЕ АВТОМОБИЛЯ ЗА ПРЕДЕЛЫ ПОЛОСЫ ДВИЖЕНИЯ РАСПОЛОЖЕНИЕ ДЕТАЛЕЙ

A01FPI0E01
Обозначения на рисунке
*1 Датчик камеры распознавания полосы движения в сборе *2 Правый передний датчик частоты вращения
*3 Датчик радара миллиметрового диапазона в сборе *4

Тяга рулевого управления с усилителем в сборе

- Датчик крутящего момента

*5 Левый передний датчик частоты вращения *6 ЭБУ рулевого управления с усилителем
*7 ЭБУ системы противоскольжения в сборе *8 Левый задний датчик частоты вращения
*9 Правый задний датчик частоты вращения - -
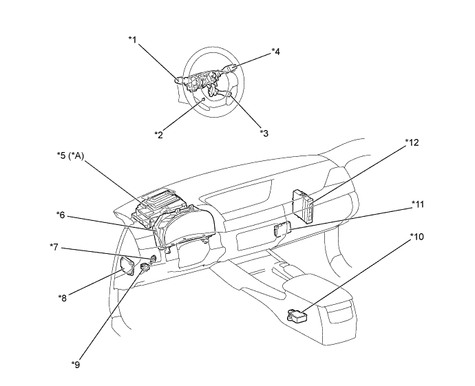
A01FP5HE01
Обозначения на рисунке
*A для моделей с блоком индикации на ветровом стекле - -
*1 Переключатель ближнего/дальнего света фар в сборе *2 Главный выключатель LKA
*3 Главный выключатель круиз-контроля *4 Переключатель стеклоочистителя ветрового стекла в сборе
*5 ЭБУ зеркала щитка приборов *6 Щиток приборов в сборе
*7 Выключатель стоп-сигналов в сборе *8 ЭБУ помощи при движении в сборе
*9 Зуммер системы противоскольжения в сборе *10 Датчик рысканья
*11 ЭБУ сетевого шлюза *12 ЭБУ распределения питания