СИСТЕМА ОПОВЕЩЕНИЯ О ВОЗМОЖНОМ ВЫХОДЕ АВТОМОБИЛЯ ЗА ПРЕДЕЛЫ ПОЛОСЫ ДВИЖЕНИЯ ДЕТАЛЬНОЕ ОПИСАНИЕ


  1. НАЗНАЧЕНИЕ ОСНОВНЫХ УСТРОЙСТВ

    Узлы и детали Описание
    Датчик камеры распознавания полосы движения в сборе Получает изображение дороги перед автомобилем, обнаруживает разделительные линии полосы движения и рассчитывает отклонение от центра полосы, угол рысканья и радиус закругления.
    Главный выключатель LKA Передает в ЭБУ помощи при движении сигнал вкл/выкл.
    ЭБУ помощи при движении в сборе
    • Рассчитывает усиление рулевого управления в соответствии с сигналами от переключателей и ЭБУ.

    • Передает в щиток приборов сигналы запроса включения контрольной лампы LKA, отображения информации на мультиинформационном дисплее и включения многофункционального зуммера.

    • Передает сигнал запроса включения зуммера системы противоскольжения.

    ЭБУ системы противоскольжения в сборе
    • Передает в ЭБУ помощи при движении сигнал скорости автомобиля от датчика частоты вращения.

    • Включает зуммер системы противоскольжения в соответствии с сигналом запроса от ЭБУ помощи при движении.

    ЭБУ рулевого управления с усилителем
    • Приводит в действие электродвигатель усилителя рулевого управления в соответствии с сигналам от ЭБУ помощи при движении.

    • Передает в ЭБУ помощи при движении сигнал усилия, которое водитель прикладывает к рулевому колесу.

    Щиток приборов в сборе Контрольная лампа LKA Горит, когда система помощи при движении по полосе включена.
    Мультиинформационный дисплей Отображает сообщение, информирующее водителя о состоянии системы, в соответствии с сигналами от ЭБУ контроля движения.
    Главная контрольная лампа аварийного состояния Светится, предупреждая водителя, в соответствии с сигналами от ЭБУ контроля движения.
    Многофункциональный зуммер Звучит, предупреждая водителя, в соответствии с сигналами от ЭБУ контроля движения.
    ЭБУ зеркала щитка приборов* Отображает предупреждение об уходе с полосы в соответствии с сигналом от щитка приборов.
    Тяга рулевого управления с усилителем в сборе Электродвигатель усилителя рулевого управления Прикладывает вспомогательное усилие к рулевому колесу.
    Датчик крутящего момента Определяет усилие, которое водитель прикладывает к рулевому колесу, и передает его в ЭБУ рулевого управления с усилителем.
    Зуммер системы противоскольжения в сборе Подает звуковой сигнал, предупреждая водителя, в соответствии с сигналами от ЭБУ системы противоскольжения.
    Датчик радара миллиметрового диапазона в сборе Обнаруживает автомобиль впереди и передает дистанцию до него в датчик камеры распознавания полосы движения.
    Датчик рысканья Определяет скорость рысканья и ускорение и передает сигнал в ЭБУ помощи при движении.
    Датчик частоты вращения Передает в ЭБУ системы противоскольжения сигнал скорости автомобиля.
    Главный выключатель круиз-контроля Передает сигнал главного выключателя круиз-контроля в ЭБУ помощи при движении.
    Выключатель стоп-сигналов в сборе Регистрирует нажатие педали тормоза и передает сигнал в ЭБУ помощи при движении.
    Переключатель ближнего/дальнего света фар в сборе Передает команду сигнала поворота в ЭБУ помощи при движении.

    • *: для моделей с блоком индикации на ветровом стекле

  2. УСЛОВИЯ РАБОТЫ


    1. Условия работы системы помощи при движении по полосе


      1. Систему помощи при движении по полосе можно включить, нажав главный выключатель LKA. В это время загорается контрольная лампа LKA на щитке приборов.

      2. Условия работы функции предупреждения об уходе с полосы и функции помощи при движении по полосе системы помощи при движении по полосе различаются в зависимости от того, включена ли динамическая радарная система круиз-контроля, а также скорости автомобиля.

        Главный выключатель LKA Динамическая радарная система круиз-контроля Скорость автомобиля Функция
        ON (ВКЛ) OFF (ВЫКЛ) Приблизительно 48-200 км/час (30-125 миль в час) Предупреждение об уходе с полосы
        ON (ВКЛ) Приблизительно 48-72 км/час (30-45 миль в час) Предупреждение об уходе с полосы
        Приблизительно 72-180 км/час (45-112 миль в час) Система помощи при движении по полосе
        Приблизительно 180-200 км/час (112-125 миль в час) Предупреждение об уходе с полосы
    2. Условия приостановки работы системы помощи при движении по полосе


      1. Условия приостановки работы функций предупреждения об уходе с полосы и помощи при движении по полосе указаны ниже. Однако после подтверждения устранения условий, которые вызывали приостановку работы, система будет снова активирована.

        Действие функции предупреждения об уходе с полосы
        Скорость автомобиля не находится в диапазоне приблизительно 48-200 км/час (30-125 миль в час).
        Получена команда сигнала поворота.
        Прикладываемое к рулевому колесу усилие превышает определенный уровень.
        Разделительные линии не обнаружены.
        Датчик рысканья неисправен.
        Немедленно после подачи предупреждения об уходе с полосы. Однако если прошло несколько секунд, и подтверждается, что автомобиль движется в пределах разделительных линий, система будет снова активирована.
        Функция помощи при движении по полосе:
        Скорость автомобиля не находится в диапазоне приблизительно 72-180 км/час (45-112 миль в час).
        Получена команда сигнала поворота.
        Прикладываемое к рулевому колесу усилие превышает определенный уровень.
        Стеклоочиститель ветрового стекла работает в режиме HI.
        Разделительные линии не обнаружены.
        Датчик рысканья неисправен.
        Определено, что разделительную линию пересекло больше приблизительно половины автомобиля.
        В течение определенного времени не регистрируется усилие на рулевом колесе.
    3. Условия выключения системы помощи при движении по полосе


      1. Условия выключения и возобновления работы функций предупреждения об уходе с полосы и помощи при движении по полосе указаны ниже.

        Действие функции предупреждения об уходе с полосы
        Условие прекращения работы Условие возобновления работы
        Главный выключатель LKA выключен Главный выключатель LKA включен.
        Работа системы временно приостановлена

        Система будет снова включена при выполнении следующих условий:


        • Главный выключатель LKA снова включен.

        • Система LKA исправна.

        Система неисправна

        Система будет снова включена при выполнении следующих условий:


        • Вновь включается питание (IG).

        • Главный выключатель LKA снова включен.

        • Система LKA исправна.

        Питание выключается. Главный выключатель LKA включен после того, как снова включено питание (IG).
        Функция помощи при движении по полосе
        Условие прекращения работы Условие возобновления работы
        Главный выключатель LKA выключен Главный выключатель LKA включен.
        Динамическая радарная система круиз-контроля выключена* Динамическая радарная система круиз-контроля включена снова.
        Приведены в действие тормоза* Динамическая радарная система круиз-контроля включена снова.
        Работа системы временно приостановлена Если главный выключатель LKA находится во включенном состоянии, система будет автоматически активирована снова после того, как временная приостановка работы будет отменена.
        Система неисправна

        Система будет снова включена при выполнении следующих условий:


        • Вновь включается питание (IG).

        • Главный выключатель LKA снова включен.

        • Система LKA исправна.

        Питание выключается. Главный выключатель LKA включен после того, как снова включено питание (IG).

        Tech Tips

        *: автоматически переключается в режим функции предупреждения об уходе с полосы.

  3. УПРАВЛЕНИЕ В СИСТЕМЕ


    1. Система помощи при движении по полосе имеет следующие функции:

      Функция Описание
      Предупреждение об уходе с полосы Когда система определяет, что автомобиль отклоняется от полосы, она выводит предупреждение, включает зуммер и прикладывает небольшое усилие к рулевому колесу, побуждая водителя вернуть автомобиль в центр полосы.
      Система помощи при движении по полосе Когда работает круиз-контроль, система прикладывает небольшое усилие к рулевому колесу посредством EPS, помогая водителю осуществлять повороты.
    2. Действие функции предупреждения об уходе с полосы


      1. ЭБУ помощи при движении определяет расчетное положение, в котором передние колеса окажутся примерно через 1 с, по информации от датчика камеры распознавания полосы движения, скорости автомобиля и текущему положению передних колес. Если ЭБУ помощи при движении определяет, что переднее колесо может пересечь разделительную линию, он включает функцию предупреждения об уходе с полосы, выводит предупреждение на мультиинформационный дисплей и блок индикации на ветровом стекле, включает зуммер системы противоскольжения, а также прикладывает небольшое усилие к рулевому колесу, включая электродвигатель усилителя рулевого управления приблизительно на 1 с, чтобы водитель скорректировал курс автомобиля.

      2. Функция предупреждения об уходе с полосы не включается, если автомобиль просто приближается к линии разметки (но не пересекает ее), пока автомобиль движется параллельно линии разметки.

        A01FPKEE01
    3. Функция помощи при движении по полосе:


      1. ЭБУ помощи при движении включает электродвигатель усилителя рулевого управления посредством ЭБУ рулевого управления с усилителем на основании информации, собранной датчиком камеры распознавания полосы движения, и помогает водителю осуществлять рулевое управления в целях удержания автомобиля вблизи центра полосы.

      2. ЭБУ помощи при движении постоянно рассчитывает и контролирует вспомогательное рулевое усилие в соответствии с радиусом закругления полосы, углом отклонения от курса и боковым отклонением от центра полосы.

      3. Если ЭБУ помощи при движении регистрирует отклонение автомобиля от полосы, ЭБУ системы противоскольжения включает зуммер системы противоскольжения. В то же время ЭБУ помощи при движении выводит на мультиинформационный дисплей предупреждение об уходе с полосы.

      4. Если в течение определенного времени водитель не корректирует курс автомобиля, ЭБУ помощи при движении предупреждает его, включая зуммер в щитке приборов и отображая сообщение на мультиинформационном дисплее.

      5. Функция помощи при движении по полосе включается при включении главного выключателя LKA, когда на мультиинформационном дисплее отображается значок рулевого колеса. Если значок не отображается, функция не будет работать даже при включении главного выключателя LKA.

        A01FPX9E01
  4. ФУНКЦИИ


    1. Щиток приборов в сборе


      1. Щиток приборов обеспечивает вывод предупреждений и сообщений, связанных с функциями системы помощи при движении по полосе, посредством главной контрольной лампы аварийного состояния, контрольной лампы LKA, многофункционального зуммера и мультиинформационного дисплея. Кроме того, предупреждение подает зуммер системы противоскольжения.

      2. На мультиинформационном дисплее отображаются данные функции предупреждения об уходе с полосы, функции помощи при движении по полосе, а также предупреждения. При работе каждой функции значки разделительных линий отображаются жирными.

        Функция предупреждения об уходе с полосы (главный выключатель LKA включен, радарная система круиз-контроля выключена)
        Условие Мультиинформационный дисплей Контрольная лампа LKA Многофункциональный зуммер Зуммер системы противоскольжения в сборе

        • Приблизительно 48-200 км/час (30-125 миль в час)

        • Разделительные линии обнаружены

        A01FP9A Горит - -

        • Приблизительно 48-200 км/час (30-125 миль в час)

        • Обнаружены разделительные линии с одной стороны

        A01FPFZ
        Подача предупреждения A01FP4WE01 Горит - Звучит непрерывно

        • Приблизительно 48 км/час (30 миль в час) или более

        • Разделительные линии не обнаружены

        A01FPKV Горит - -
        Менее приблизительно 48 км/час (30 миль в час)
        Функция помощи при движении по полосе (главный выключатель LKA включен, радарная система круиз-контроля включена)
        Условие Мультиинформационный дисплей Контрольная лампа LKA Многофункциональный зуммер Зуммер системы противоскольжения в сборе

        • Приблизительно 72-180 км/час (45-112 миль в час)

        • Разделительные линии обнаружены

        A01FPIN Горит - -

        • Приблизительно 72-180 км/час (45-112 миль в час)

        • Разделительные линии обнаружены

        • Подача предупреждения об уходе с полосы

        A01FPV2E01 Горит - Звучит непрерывно

        • Приблизительно 72-180 км/час (45-112 миль в час)

        • Разделительные линии обнаружены

        • В течение определенного периода времени не регистрируется усилие на рулевом колесе

        A01FPE8 Горит Подается 2 звуковых сигнала -

        • Менее приблизительно 72 км/час (45 миль в час), либо не менее 180 км/час (112 миль в час)

        • Разделительные линии обнаружены

        A01FPW8 Горит - -

        • Менее приблизительно 72 км/час (45 миль в час), либо не менее 180 км/час (112 миль в час)

        • Обнаружена разделительная линия с одной стороны

        A01FP4C Горит - -
        Разделительная линия не обнаружена A01FPPK Горит - -
        Предупреждение
        Условие Мультиинформационный дисплей Контрольная лампа LKA Главная контрольная лампа аварийного состояния Многофункциональный зуммер

        • Ненормальная температура датчика камеры распознавания полосы движения.

        • Система EPS неисправна или работает неправильно.

        A01FP39 Горит Горит -
        Неисправность системы A01FPRK - Горит Подает звуковой сигнал
        Регулировка угла датчика камеры распознавания полосы движения A01FP0P Горит - -
    2. Индикация на ветровом стекле


      1. Блок индикации на ветровом стекле отображает состояние функции предупреждения об уходе с полосы. При работе функции предупреждения об уходе с полосы значки разделительных линий отображаются жирными.

        Действие функции предупреждения об уходе с полосы
        Условие Индикация на ветровом стекле
        Подача предупреждения A01FPUX
  5. КОНСТРУКЦИЯ


    1. Датчик камеры распознавания полосы движения в сборе


      1. Датчик камеры распознавания полосы движения в сборе установлен в верней центральной части вверху ветрового стекла.

        A01FP8Q

        Tech Tips

        Угол датчика камеры распознавания полосы движения необходимо отрегулировать после выполнения любой из следующих операций:


        • Датчик камеры распознавания полосы движения был снят и установлен, либо заменен.

        • Регулировка или замена деталей, связанных с подвеской.

        Более подробную информацию см. в руководстве по ремонту.

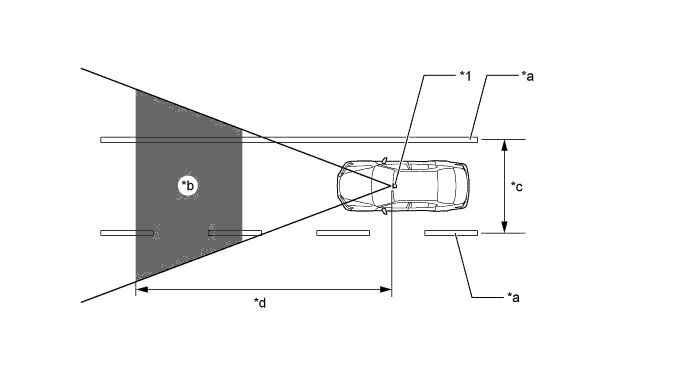
      2. Датчик камеры распознавания полосы движения получает изображение дороги на расстоянии до 30 м (98 футов) перед автомобилем. Кроме того, может определяться полоса движения шириной приблизительно 3-4 м (9-13 футов).

        A01FPOTE01
        Обозначения на рисунке
        *1 Датчик камеры распознавания полосы движения в сборе - -
        *a Разделительная линия *b Зона обработки изображения
        *c Приблизительно 3-4 м (9-13 футов) *d Приблизительно 30 м (98 футов)
      3. Обрабатывая данные изображения дороги, датчик камеры распознавания полосы движения определяет разделительные линии и рассчитывает радиус закругления осевой линии полосы, угол отклонения от курса, боковое отклонение от центра полосы, а также ширину полосы.

        A01FPOZE01
        Обозначения на рисунке
        *a Изображение, получаемое датчиком камеры распознавания полосы движения в сборе *b Левая разделительная линия
        *c Центр полосы движения *d Правая разделительная линия
        *e Радиус осевой линии полосы *f Угол отклонения от курса
        *g Боковое отклонение *h Ширина полосы
  6. ДИАГНОСТИКА


    1. Если в системе помощи при движении по полосе регистрируется неисправность, ЭБУ помощи при движении выключает систему, гасит контрольную лампу LKA, включает главную контрольную лампу и многофункциональный зуммер, а также выводит на мультиинформационный дисплей предупреждение, чтобы проинформировать водителя о неисправности. Одновременно в памяти сохраняется диагностический код DTC, соответствующей этой неисправности.