ДИНАМИЧЕСКАЯ РАДАРНАЯ СИСТЕМА КРУИЗ-КОНТРОЛЯ ДЕТАЛЬНОЕ ОПИСАНИЕ


  1. НАЗНАЧЕНИЕ ОСНОВНЫХ УСТРОЙСТВ


    1. Основные устройства динамической радарной системы круиз-контроля выполняют следующие функции:

      Устройство Назначение
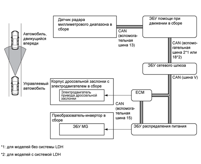
      Датчик радара миллиметрового диапазона в сборе Излучает радиоволны радара миллиметрового диапазона вперед и определяет по отраженным сигналам наличие впереди автомобиля, расстояние между автомобилями и относительную скорость, после чего передает эти данные в ЭБУ помощи при движении.
      Главный выключатель круиз-контроля Кнопка ON-OFF (ВКЛ-ВЫКЛ) Включает и выключает систему круиз-контроля.
      Переключатель MODE (режим) Осуществляет переключение режимов поддержания постоянной скорости и контроля дистанции между автомобилями.
      Переключатель CANCEL С помощью данного переключателя можно передать сигнал выключения в ЭБУ помощи при движении.
      Переключатель + RES Данный переключатель позволяет выполнить ускорение и восстановить заданную скорость. При нажатии этого переключателя передается сигнал в ЭБУ помощи при движении.
      Переключатель -SET При нажатии данного переключателя включается функция замедления, и в ЭБУ помощи при движении передаются сигналы восстановления заданной скорости автомобиля.
      Выключатель системы контроля дистанции Когда система работает в режиме контроля дистанции между автомобилями, с помощью данного выключателя водитель может выбрать одну из 3 дистанций между автомобилями: длинную, среднюю или короткую.
      ЭБУ помощи при движении в сборе
      • Рассчитывает ускорение или замедление, необходимое для достижения заданной скорости автомобиля и заданной дистанции между автомобилями, на основании сигналов от переключателей, датчиков и ЭБУ и передает сигналы запроса тягового усилия в ЭБУ распределения питания (для ускорения автомобиля в соответствии с запросом тягового усилия) и ЭБУ системы противоскольжения (для замедления автомобиля в соответствии с запросом тягового усилия).

      • Определяет наличие автомобиля впереди по информации от датчика радара миллиметрового диапазона.

      • Передает сигналы запроса отображения состояния, сигналы запроса отображения предупреждений и сигналы диагностики для динамической радарной системы круиз-контроля.

      ЭБУ распределения питания
      • Увеличивает и уменьшает тяговое усилие в соответствии с сигналами запроса тягового усилия, передаваемыми ЭБУ помощи при движении.

      • Передает информацию о фактически создаваемых и достижимых тяговых усилиях в ЭБУ помощи при движении.

      Преобразователь-инвертор в сборе

      - ЭБУ мотор-генератора

      Регулирует тяговое усилие MG2 в соответствии с сигналами от ЭБУ распределения питания.
      ECM Управляет электродвигателем привода дроссельной заслонки в соответствии с сигналами от ЭБУ распределения питания.
      ЭБУ системы противоскольжения в сборе
      • При включенном режиме контроля дистанции между автомобилями ЭБУ системы противоскольжения приводит в действие тормоза в соответствии с командами от ЭБУ помощи при движении.

      • Передает в ЭБУ помощи при движении такие сигналы, как частота вращения колес и расчетное ускорение автомобиля.

      • Сохраняет автомобиль в неподвижном состоянии с помощью функции поддержания тормозного усилия при получении сигнала поддержания состояния остановки от ЭБУ помощи при движении.*

      Щиток приборов в сборе Главная контрольная лампа круиз-контроля
      • Загорается при входе в режим поддержания постоянной скорости.

      • Гаснет, если при движении в режиме поддержания постоянной скорости возникла неисправность.

      Контрольная лампа радарной системы круиз-контроля
      • Загорается, когда кнопка ON-OFF главного выключателя круиз-контроля нажимается для запуска системы круиз-контроля.

      • Гаснет, если при движении в режиме контроля дистанции между автомобилями возникла неисправность.

      Контрольная лампа круиз-контроля SET Загорается, когда во время движения в режиме круиз-контроля устанавливается скорость автомобиля.
      Главная контрольная лампа аварийного состояния Горит при наличии неисправности системы.
      Многофункциональный зуммер Когда ЭБУ помощи при движении получает сигналы автоматического выключения или предупреждения, когда автомобиль движется под управлением системы круиз-контроля, этот зуммер подает звуковой сигнал, информирующий водителя.
      Мультиинформационный дисплей Во время работы динамической радарной системы круиз-контроля мультиинформационный дисплей получает сигналы от ЭБУ помощи при движении и отображает состояние системы.
      ЭБУ зеркала щитка приборов В режиме предупреждения о приближении автомобиля блок индикации на ветровом стекле получает сигналы от щитка приборов для отображения предупреждений.
      Электродвигатель привода дроссельной заслонки Регулирует угол поворота дроссельной заслонки в соответствии с сигналами от ECM.
      Блок управления рабочими цилиндрами тормозов в сборе Приводит в действие тормоза в соответствии с сигналами от ЭБУ системы противоскольжения.
      Интегрированное реле Включает стоп-сигналы в соответствии с сигналом запроса включения стоп-сигналов от ЭБУ системы противоскольжения.
      Зуммер системы противоскольжения в сборе Подает звуковой сигнал при получении сигнала от ЭБУ системы противоскольжения и предупреждает водителя о малой дистанции между автомобилями.
      Датчик частоты вращения Определяют частоту вращения всех 4 колес.
      Датчик положения педали акселератора в сборе Определяет угол поворота педали акселератора и передает его в ЭБУ распределения питания.
      Датчик положения рычага переключения передач Определяет положение рычага переключения передач и передает сигналы в ЭБУ распределения питания.
      Датчик положения рулевого колеса Определяет угол и направление поворота рулевого колеса и передает сигналы в ЭБУ помощи при движении.
      Датчик рысканья Определяет скорость рысканья автомобиля и передает сигналы в ЭБУ помощи при движении.
      Выключатель стоп-сигналов в сборе Регистрирует нажатие педали тормоза и передает сигнал в ЭБУ помощи при движении и ЭБУ системы противоскольжения.

      • *: Для моделей с функцией поддержания максимальной скорости

  2. ФУНКЦИИ


    1. Управление в динамической радарной системе круиз-контроля изменяется в зависимости от режима


      • A: Режим поддержания заданной скорости

      • B: Режим управления дистанцией между автомобилями

      • C: Режим контроля дистанции между автомобилями (для моделей с функцией следования за автомобилем в полном диапазоне скоростей)

      Функция Описание Режим
      А B C
      Поддержание постоянной скорости Посредством ЭБУ распределения питания и ЭБУ системы противоскольжения регулируется тяговое усилие, и скорость автомобиля поддерживается на заданном уровне.
      Управление замедлением Управление двигателем, MG2 и тормозами осуществляется таким образом, чтобы замедлить движение автомобиля, и скорости управляемого автомобиля и автомобиля впереди были равны. -
      Следящее управление Завершив замедление, автомобиль следует за автомобилем впереди, поддерживая требуемую дистанцию между автомобилями в соответствии со скоростью. -
      Управление ускорением Если управляемый автомобиль или автомобиль впереди меняет ряд движения, управляемый автомобиль разгоняется до заданной скорости. -
      Управление остановкой Если определяется, что автомобиль впереди остановился, тяговое усилие регулируется, и автомобиль останавливается, поддерживая надлежащую дистанцию. - -
      Управление при поддержании автомобиля в состоянии остановки Когда определяется, что автомобиль остановлен, осуществляется управление тормозами, и автомобиль сохраняется в неподвижном состоянии посредством функции поддержания тормозного усилия. - -
      Управление началом движения Когда определяется, что автомобиль впереди возобновляет движение, на мультиинформационном дисплее отображается сообщение, предлагающее водителю тронуться с места (с помощью главного выключателя круиз-контроля, либо нажав педаль акселератора). После начала движения возобновляется следящее управление. - -
      Установка скорости

      Если выполняются указанные ниже условия, и система включена с помощью главного выключателя круиз-контроля, при переводе выключателя круиз-контроля в положение -SET и последующем отпускании ЭБУ помощи при движении запоминает скорость автомобиля и поддерживает ее постоянной.


      • Рычаг переключения передач находится в положении D.

      Автомобиль движется в следующем диапазоне скорости:


      • Приблизительно 50-200 км/час (30-125 миль в час)

      - -

      Автомобиль движется в следующем диапазоне скорости:


      • Приблизительно 50 км/час - 170 км/час (30 миль в час - 105 миль в час)

      -
      Нижний предел скорости Нижний предел скорости представляет собой наименьшую скорость, на которую может быть настроена динамическая радарная система круиз-контроля, и предельная скорость составляет примерно 40 км/час (25 миль в час). Систему круиз-контроля нельзя настроить на меньшую скорость. Если во время работы системы круиз-контроля скорость автомобиля падает ниже этой величины, система круиз-контроля автоматически выключается. Тем не менее, заданная скорость сохраняется в памяти.
      Управление замедлением Пока главный выключатель круиз-контроля удерживается в положении -SET, скорость автомобиля и заданная скорость изменяются, как описано ниже, в соответствии с режимом:

      • Автомобиль непрерывно замедляет движение.

      • В качестве заданной скорости устанавливается скорость, при которой отпускается выключатель.

      - -

      • Заданная скорость уменьшается с шагом 5 км/час или 5 миль в час (например: 57 → 55 → 50 км/час, 57 → 55 → 50 миль в час).

      • Автомобиль продолжит движение на скорости в момент отпускания переключателя COAST.

      -
      Ступенчатое снижение скорости Когда главный выключатель круиз-контроля кратковременно (примерно на 0,6 с или менее) переводится в положение -SET, скорость автомобиля и заданная скорость изменяются, как описано ниже, в соответствии с режимом:

      • При каждом нажатии переключателя автомобиль замедляется с шагом приблизительно 1,6 км/час (1 миля в час).

      • Однако если разница между фактической скоростью автомобиля и заданной скоростью превышает 5 км/час (3 мили в час), в качестве заданной скорости устанавливается скорость, с которой автомобиль двигался в момент приведения в действие выключателя.

      - -
      Когда главный выключатель круиз-контроля кратковременно (приблизительно на 0,6 с или менее) переводится в положение -SET, скорость автомобиля уменьшается с шагом примерно 1 км/час или 1 миля в час при каждом нажатии выключателя. -
      Управление разгоном Пока главный выключатель круиз-контроля удерживается в положении +RES, скорость автомобиля и заданная скорость изменяются, как описано ниже, в соответствии с режимом:

      • Автомобиль непрерывно разгоняется.

      • В качестве заданной скорости устанавливается скорость, при которой отпускается выключатель.

      - -

      • Заданная скорость увеличивается с шагом 5 км/час или 5 миль в час (например: 52 → 55 → 60 км/час, 52 → 55 → 60 миль в час).

      • Автомобиль разгоняется до скорости, которая устанавливается в момент отпускания выключателя.

      • В режиме следящего управления изменяется только заданная скорость.

      -
      Ступенчатое повышение скорости Когда главный выключатель круиз-контроля кратковременно (примерно на 0,6 с или менее) переводится в положение +RES, скорость автомобиля и заданная скорость изменяются, как описано ниже:

      • При каждом нажатии переключателя автомобиль ускоряется с шагом приблизительно 1,6 км/час (1 миля в час).

      • Однако если разница между фактической скоростью автомобиля и заданной скоростью превышает 5 км/час (3 мили в час), заданная скорость не изменяется.

      - -
      При каждом нажатии переключателя автомобиль ускоряется с шагом приблизительно 1 км/час или 1 миля в час. -
      Восстановление режима круиз-контроля Когда скорость автомобиля превышает нижнее предельное значение, система круиз-контроля возобновляет работу (при последующем перемещении главного выключателя круиз-контроля в положение +RES), и скорость автомобиль достигает значения, установленного, когда водитель отключил систему круиз-контроля.
      Даже если скорость автомобиля падает ниже минимального значения, возобновление работы возможно, когда скорость автомобиля превысит нижнее предельное значение. (Однако, возобновление работы возможно даже тогда, когда скорость автомобиля не превышает нижний предел, если автомобиль движется в режиме B, и впереди есть другой автомобиль.) - -
      Когда в режиме следящего управления автомобиль впереди меняет ряд движения, скорость автомобиля постепенно увеличивается до заданного значения. При этом скорость автомобиля можно увеличить быстро путем перевода главного выключателя круиз-контроля в положение +RES. -
      После такого, как автомобиль впереди возобновляет движение после работы функции поддержания автомобиля в состоянии остановки, появляется сообщение, предлагающее водителю начать движение. При переводе выключателя круиз-контроля в положение + RES возобновляется следящее управление, и автомобиль может ускориться до заданной скорости. - -
      Ручное выключение

      Когда в ЭБУ помощи при движении поступает любой из следующих сигналов, динамическая радарная система круиз-контроля соответствующим образом отключается.


      • Сигнал ON (ВКЛ) выключателя стоп-сигналов (нажата педаль тормоза)

      • Сигнал OFF (ВЫКЛ) положения D (рычаг переключения передач перемещается из положения D в положение N)

      • Сигнал выбора диапазона D1, D2 и D3 в положении D с помощью переключателя управления переключением.

      • Сигнал выбора диапазона S1, S2 или S3

      • - Сигнал ON (ВКЛ) переключателя CANCEL (главный выключатель круиз-контроля перемещается в положение CANCEL).

      • Сигнал выключения, поданный посредством кнопки ON-OFF (ВКЛ-ВЫКЛ).

      Автоматическое выключение При поступлении в ЭБУ помощи при движении сигнала автоматического выключения система круиз-контроля отключается. При этом способ предупреждения и условия возобновления работы зависят от типа сигнала выключения.
      Переключение режимов

      Режимы переключаются при выполнении следующих операций:


      • (a) Включена кнопка ON-OFF главного выключателя круиз-контроля (управление начинается в режиме контроля дистанции между автомобилями).

      • (b) Когда главный выключатель круиз-контроля удерживается в положении MODE (примерно в течение 1 с или дольше).

      Если до изменения режима выключатель перемещается в какое-либо другое положение, необходимо отключить динамическую радарную систему круиз-контроля, а затем повторно выполнить шаги (a) и (b).

      Tech Tips

      ○: функция доступна

      -: функция недоступна

    2. Поддержание постоянной скорости


      1. ЭБУ помощи при движении сравнивает фактическую скорость автомобиля (сигнал частоты вращения колес от ЭБУ системы противоскольжения) с заданной скоростью при поддержании постоянной скорости в каждом режиме. Если фактическая скорость автомобиля отличается от заданной, ЭБУ помощи при движении рассчитывает ускорение или замедление, необходимое для достижения заданной скорости, и передает сигналы запроса ускорения или замедления в ЭБУ распределения питания, оптимальным образом регулируя тяговое усилие и поддерживая фактическую скорость автомобиля на заданном уровне.

      2. В режиме контроля дистанции между автомобилями ЭБУ помощи при движении осуществляет управление замедлением, следящее управление, управление ускорением, управление остановкой*, управление для поддержания автомобиля в состоянии остановки* или управление троганием с места* на основании информации о движущемся впереди автомобиле, передаваемой датчиком радара миллиметрового диапазона.


        • *: Для моделей с функцией поддержания максимальной скорости

        A01FPBTE02
    3. Управление замедлением


      1. ЭБУ помощи при движении рассчитывает требуемое замедление в соответствии с сигналами от датчика радара миллиметрового диапазона и передает сигнал запроса замедления в ЭБУ распределения питания и ЭБУ системы противоскольжения. При получении этого сигнала ЭБУ регулируют тяговое усилие и замедляют движение автомобиля.

      2. Данная функция управления не работает при наличии припаркованного автомобиля или иного объекта, а также на скорости ниже минимально допустимой.

        A01FPBLE02
      3. Если ЭБУ помощи при движении определяет, что требуется дополнительное замедление, он передает в ЭБУ системы противоскольжения сигнал запроса торможения. При получении этого сигнала ЭБУ системы противоскольжения приводит в действие тормоза посредством блока управления рабочими цилиндрами тормозов.

      4. В это время, если замедление превышает предустановленное значение, ЭБУ системы противоскольжения передает в интегрированное реле сигнал запроса включения стоп-сигналов, чтобы предупредить водителя транспортного средства, движущегося позади.

        A01FPSJE02
      5. Если замедление автомобиля недостаточно, ЭБУ системы противоскольжения включает зуммер системы противоскольжения на основании сигнала запроса от ЭБУ помощи при движении, информируя водителя о необходимости нажатия педали тормоза.

      6. Если требуется дополнительное замедление, ЭБУ системы противоскольжения включает зуммер системы противоскольжения на основании сигнала запроса от ЭБУ помощи при движении, информируя водителя о необходимости нажатия педали тормоза.

        A01FPC1E01
    4. Следящее управление


      1. После завершения работы в режиме замедления ЭБУ помощи при движении передает сигнал запроса ускорения или замедления в ЭБУ распределения питания и ЭБУ системы противоскольжения, чтобы автомобиль следовал за автомобилем впереди, поддерживая надлежащую дистанцию, соответствующую скорости. Получив этот сигнал, указанные ЭБУ регулируют тяговое усилие, осуществляя следящее управление.

      2. С помощью выключателя системы контроля дистанции можно выбрать одну из трех дистанций между автомобилями (длинную, среднюю или короткую).

        A01FPA3E02
    5. Управление ускорением


      1. Если ЭБУ помощи при движении определяет, что автомобиль впереди или управляемый автомобиль перестроился на другую полосу движения, в ЭБУ распределения питания передается сигнал запроса ускорения, чтобы автомобиль достиг заданной скорости. Получив этот сигнал, ЭБУ распределения питания регулирует тяговое усилие двигателя и MG2, обеспечивая управление ускорением.

        A01FP7ME02
    6. Управление остановкой (для моделей с функцией поддержания максимальной скорости)


      1. ЭБУ помощи при движении по сигналам от датчика радара миллиметрового диапазона определяет, что автомобиль впереди останавливается, и рассчитывает тяговое усилие, необходимое для остановки собственного автомобиля при условии поддержания надлежащей дистанции между автомобилями. Затем ЭБУ передает сигналы запроса тягового усилия в ЭБУ распределения питания и ЭБУ системы противоскольжения. При получении этого сигнала ЭБУ регулируют тяговое усилие и останавливают автомобиль.

      2. В это время, если замедление превышает предустановленное значение, ЭБУ системы противоскольжения передает в интегрированное реле сигнал запроса включения стоп-сигналов, чтобы предупредить водителя транспортного средства, движущегося позади.

      3. При остановке автомобиля между ним и автомобилем впереди устанавливается дистанция около 3-5 м (10-16 футов), независимо от дистанции между автомобилями, предварительно заданной с помощью выключателя системы контроля дистанции.

        A01FPBDE01
    7. Управление для поддержания автомобиля в состоянии остановки (для моделей с функцией поддержания максимальной скорости)


      1. После остановки автомобиля функцией остановки ЭБУ помощи при движении передает сигнал запроса поддержания автомобиля в состоянии остановки в ЭБУ системы противоскольжения. При получении этого сигнала ЭБУ системы противоскольжения включает функцию поддержания тормозного усилия и сохраняет автомобиль в неподвижном состоянии.

        A01FP56E01
    8. Управление троганием с места (для моделей с функцией поддержания максимальной скорости)


      1. Когда по сигналам датчика радара миллиметрового диапазона ЭБУ помощи при движении определяет, что автомобиль впереди возобновил движение, он выводит на мультиинформационный дисплей сообщения "PRECEDING VEHICLE MOVEMENT" (движение автомобиля впереди) и "Operate cruise lever or accelerator pedal to resume" (используйте рычаг круиз-контроля или педаль акселератора для возобновления движения), предлагая водителю тронуться с места (перевести главный выключатель круиз-контроля в положение + RES или нажать педаль акселератора).

      2. После получения сигнала начала движения, формируемого при переводе главного выключателя круиз-контроля в положение + RES или нажатии педали акселератора, ЭБУ помощи при движении передает сигнал запроса тягового усилия в ЭБУ распределения питания. Получив этот сигнал, ЭБУ распределения питания регулирует тяговое усилие двигателя и MG2, начиная движение автомобиля и возобновляя следящее управление.

        A01FPJNE01
    9. Автоматическое выключение


      1. При выполнении любого из следующих условий во время движения в режиме круиз-контроля этот режим отключается. При этом водитель получает следующие предупреждения:

        Режим поддержания постоянной скорости
        Описание неисправности Предупреждение
        Мультиинформационный дисплей Главная контрольная лампа аварийного состояния Многофункциональный зуммер Главная контрольная лампа круиз-контроля

        При выполнении следующих условий ЭБУ помощи при движении удаляет заданную скорость автомобиля и отключает систему круиз-контроля.


        • Сбой сигнала скорости автомобиля

        • Обрыв или короткое замыкание в цепи выключателя стоп-сигналов

        Система круиз-контроля отключается до тех пор, пока не будут устранены соответствующие условия, либо система круиз-контроля не будет выключена и включена вновь с помощью кнопки ON-OFF главного выключателя круиз-контроля.

        Check Cruise Control System (проверьте систему круиз-контроля) Горит Подает один звуковой сигнал -

        При выполнении следующего условия ЭБУ помощи при движении удаляет заданную скорость автомобиля и отключает систему круиз-контроля.


        • Неисправность в гибридной системе

        Система круиз-контроля отключается до тех пор, пока не будут устранены соответствующие условия, либо система круиз-контроля не будет выключена и включена вновь с помощью кнопки ON-OFF главного выключателя круиз-контроля.

        - - - -

        При выполнении следующего условия ЭБУ помощи при движении удаляет заданную скорость автомобиля и отключает систему круиз-контроля.


        • Уменьшение скорости автомобиля более чем на 16 км/час (10 миль в час) ниже заданной.

        - - - -

        При выполнении следующих условий ЭБУ помощи при движении отключает систему круиз-контроля, сохраняя заданную скорость движения автомобиля в памяти.


        • Система VSC работает.

        • Система TRC работает в течение определенного периода времени.

        • Система VSC или TRC выключена.

        - - - -

        При выполнении следующих условий ЭБУ помощи при движении удаляет заданную скорость автомобиля и отключает систему круиз-контроля.


        • Неисправность в цепи выключения

        • Неисправность во входной цепи выключателя стоп-сигналов

        Работа системы круиз-контроля запрещается до следующего включения выключателя питания.

        Check Cruise Control System (проверьте систему круиз-контроля) Горит Подает один звуковой сигнал -
        Режим контроля дистанции между автомобилями
        Описание неисправности Предупреждение
        Мультиинформационный дисплей Главная контрольная лампа аварийного состояния Многофункциональный зуммер Главная контрольная лампа круиз-контроля

        При выполнении любого из перечисленных ниже условий ЭБУ помощи при движении удаляет заданную скорость автомобиля и отключает систему круиз-контроля.


        • Сбой сигнала скорости автомобиля

        • Обрыв или короткое замыкание в цепи выключателя стоп-сигналов

        Система круиз-контроля отключается до тех пор, пока не будут устранены соответствующие условия, либо система круиз-контроля не будет выключена и включена вновь с помощью кнопки ON-OFF главного выключателя круиз-контроля.

        Check Cruise Control System (проверьте систему круиз-контроля) Горит Подает один звуковой сигнал -
        Cruise Control not available Depress the brake pedal (круиз-контроль недоступен, нажмите педаль тормоза)*1 Звучит непрерывно*1

        При выполнении следующего условия ЭБУ помощи при движении удаляет заданную скорость автомобиля и отключает систему круиз-контроля.


        • Неисправность в гибридной системе

        Система круиз-контроля отключается до тех пор, пока не будут устранены соответствующие условия, либо система круиз-контроля не будет выключена и включена вновь с помощью кнопки ON-OFF главного выключателя круиз-контроля.

        - - - -

        При выполнении следующих условий ЭБУ помощи при движении удаляет заданную скорость автомобиля и отключает систему круиз-контроля.


        • Неисправность датчика радара миллиметрового диапазона в сборе

        • Смещение оси датчика радара миллиметрового диапазона в сборе

        • Неисправность динамической радарной системы круиз-контроля, отличная от указанных выше.

        • Нарушение работы функции поддержания тормозного усилия*2

        Работа системы круиз-контроля запрещается до следующего включения выключателя питания.

        Check Cruise Control System (проверьте систему круиз-контроля) Горит Подает один звуковой сигнал -
        Cruise Control not available Depress the brake pedal (круиз-контроль недоступен, нажмите педаль тормоза)*1 Звучит непрерывно*1

        При выполнении следующего условия ЭБУ помощи при движении отключает систему круиз-контроля, сохраняя заданную скорость движения автомобиля в памяти.


        • Датчик радара миллиметрового диапазона в сборе загрязнен.

        Система круиз-контроля отключается до тех пор, пока не будут устранены соответствующие условия, либо система круиз-контроля не будет выключена и включена вновь с помощью кнопки ON-OFF главного выключателя круиз-контроля.

        Clean Radar Sensor (очистите датчик радара) Горит Подает один звуковой сигнал -
        Cruise Control not available Depress the brake pedal (круиз-контроль недоступен, нажмите педаль тормоза)*1 Звучит непрерывно*1

        При выполнении любого из перечисленных ниже условий ЭБУ контроля движения отключает систему круиз-контроля, сохраняя заданную скорость движения автомобиля в памяти.


        • Стеклоочистители работают с высокой скоростью (HI).

        • Измерения становятся очень неустойчивыми вследствие плохих погодных условий.

        • С помощью комбинированного переключателя (переключателя режима SNOW) выбран режим SNOW.

        Система круиз-контроля отключается до тех пор, пока не будут устранены соответствующие условия, либо система круиз-контроля не будет выключена и включена вновь с помощью кнопки ON-OFF главного выключателя круиз-контроля.

        Cruise Control not available (круиз-контроль недоступен) Горит Подает один звуковой сигнал -

        При выполнении следующих условий ЭБУ помощи при движении отключает систему круиз-контроля, сохраняя заданную скорость движения автомобиля в памяти.


        • Падение скорости автомобиля ниже нижнего предела (примерно 40 км/час [25 миль в час]).

        • Система VSC работает.

        • Система TRC работает в течение определенного периода времени.

        • Система VSC или TRC выключена.*3

        - - Подается 2 звуковых сигнала -

        Если выполняется следующее условие, и впереди есть автомобиль, ЭБУ помощи при движении отключает систему круиз-контроля, сохраняя заданную скорость движения автомобиля в памяти.


        • Автомобиль впереди уезжает при следящем управлении на скорости приблизительно 40 км/час (25 миль в час) или менее.*2

        Cruise Control not available (круиз-контроль недоступен) - Подается 4 звуковых сигнала -
        Cruise Control not available Depress the brake pedal (круиз-контроль недоступен, нажмите педаль тормоза)*1 Звучит непрерывно*1

        При выполнении следующих условий ЭБУ помощи при движении удаляет заданную скорость автомобиля и отключает систему круиз-контроля.


        • Неисправность в цепи выключения

        • Неисправность во входной цепи выключателя стоп-сигналов

        Работа системы круиз-контроля запрещается до следующего включения выключателя питания.

        Check Cruise Control System (проверьте систему круиз-контроля) Горит Подает один звуковой сигнал -
        Cruise Control not available Depress the brake pedal (круиз-контроль недоступен, нажмите педаль тормоза)*1 Звучит непрерывно*1

        Tech Tips

        *1: Во время управления для поддержания автомобиля в состоянии остановки (для моделей с функцией поддержания максимальной скорости)

        *2: Для моделей с функцией поддержания максимальной скорости

        *3: Многофункциональный зуммер не звучит.

  3. КОНСТРУКЦИЯ


    1. Главный выключатель круиз-контроля


      1. Главный выключатель круиз-контроля содержит кнопку ON-OFF, а также переключатели +RES, MODE, -SET и CANCEL. Переключатели +RES, MODE, -SET и CANCEL переключаются рычагом, который перемещается в 4 указанных направлениях.

      2. Главный выключатель круиз-контроля нормально разомкнут и автоматически возвращается в исходное положение. Таким образом, выключатель включен только тогда, когда водитель его удерживает, и выключается, как только водитель отпускает его. Кроме того, функции выключателя действуют только тогда, когда система круиз-контроля включена с помощью кнопки ON-OFF главного выключателя круиз-контроля.

        A01FP9VE01
        Обозначения на рисунке
        *1 Главный выключатель круиз-контроля - -
        *a Кнопка ON-OFF (ВКЛ-ВЫКЛ) *b Переключатель + RES
        *c Переключатель MODE (режим) *d Переключатель -SET
        *e Переключатель CANCEL - -
    2. Выключатель системы контроля дистанции


      1. Когда система круиз-контроля работает в режиме контроля дистанции между автомобилями, заданная дистанция между автомобилями изменяется следующим образом при каждом нажатии выключателя системы контроля дистанции: длинная → средняя → короткая.

        A01FPWCE01
        Обозначения на рисунке
        *1 Выключатель системы контроля дистанции - -
      2. Если питание выключается, а затем включается вновь (IG), возвращается установка по умолчанию "длинная".

      3. Дистанция между автомобилями устанавливается следующим образом:

        Режим Дистанция между автомобилями*
        Большая Приблизительно 50 м (160 футов)
        Средняя Приблизительно 40 м (130 футов)
        Короткая Приблизительно 30 м (100 футов)

        Tech Tips

        *: При движении автомобиля со скоростью 80 км/час (50 миль в час).

    3. Датчик радара миллиметрового диапазона в сборе


      1. Датчик радара миллиметрового диапазона содержит схему радара миллиметрового диапазона, схему обработки сигналов и главный процессор.

      2. Датчик радара миллиметрового диапазона передает сигналы только тогда, когда скорость автомобиля превышает 0 км/час (0 миль в час), и не излучает радиоволны, когда скорость автомобиля равна 0 км/час (0 миль в час). Датчик радара миллиметрового диапазона использует частоты диапазона 76,5 ГГц.

      3. Приемные антенны принимают отраженные радиоволны радара миллиметрового диапазона.

      4. Схема обработки сигналов определяет расстояние, относительную скорость и направление объекта, генерируя радиоволны миллиметрового диапазона и оценивая сигналы, принимаемые антеннами. Затем она передает эту информацию в ЭБУ помощи при движении.

        A01FPEFE01
        Обозначения на рисунке
        *1 Датчик радара миллиметрового диапазона в сборе - -
        *a Дистанция обнаружения: Приблизительно 150 м (490 футов) *b Горизонтальный угол: Приблизительно 20°
        *c Вертикальный угол: Приблизительно 8° *d Схема обработки сигналов
        *e Схема радара миллиметрового диапазона - -
      5. По информации, обеспечиваемой радаром миллиметрового диапазона, рассчитываются расстояние до объекта, азимут и относительная скорость, как рассмотрено ниже:

        Описание Метод расчета
        Расстояние Рассчитывается по времени, прошедшему с момента излучения волн радаром миллиметрового диапазона до момента приема отраженных волн. Дистанция обнаружения составляет примерно 150 м (490 футов).
        Азимут Рассчитывается по углу прихода отраженных волн, принимаемых радаром миллиметрового диапазона. Угол обнаружения составляет примерно 20° по горизонтали и 8° по вертикали.
        Относительная скорость Рассчитывается по изменениям частоты отраженных радиоволн радара миллиметрового диапазона (эффект Доплера*)

        Tech Tips

        *: Действие эффекта Доплера заключается в том, что при приближении объекта к наблюдателю частота излучаемых им радиоволн увеличивается, а при удалении – уменьшается.

        A01FPBQE01

        Tech Tips

        Для регулировки диаграммы направленности радара применяется SST. Более подробную информацию см. в руководстве по ремонту.

  4. РАБОТА


    1. Щиток приборов в сборе


      1. Щиток приборов обеспечивает индикацию состояния и вывод предупреждений динамической радарной системы круиз-контроля посредством главной контрольной лампы аварийного состояния, контрольной лампы радарной системы круиз-контроля, контрольной лампы круиз-контроля SET, многофункционального зуммера и мультиинформационного дисплея.

      2. На мультиинформационном дисплее отображаются заданная скорость автомобиля, знак автомобиля, движущегося впереди, и предупреждения.

      3. Ниже показаны примеры индикации с помощью контрольных ламп и мультиинформационного дисплея:

        Режим поддержания постоянной скорости
        Условие Мультиинформационный дисплей Главная контрольная лампа круиз-контроля Контрольная лампа круиз-контроля SET Главная контрольная лампа аварийного состояния Многофункциональный зуммер
        Осуществляется управление A01FPQS Горит Горит - -
        Проверка системы A01FP3B - - Горит Подает 1 звуковой сигнал
        Режим контроля дистанции между автомобилями
        Режим Мультиинформационный дисплей*1 Контрольная лампа радарной системы круиз-контроля Контрольная лампа круиз-контроля SET Главная контрольная лампа аварийного состояния Многофункциональный зуммер
        Экран предостережения*2 (отображается в течение 6 секунд после переключения кнопки ON-OFF в положение ON (ВКЛ)) A01FPSN Горит - - -
        Состояние ожидания A01FPHX Горит - - -
        Режим поддержания постоянной скорости (автомобиль впереди отсутствует) A01FPRBE01 Горит Горит - -
        Режим следящего управления (впереди есть автомобиль) A01FPGEE01 Горит Горит - -
        Производится управление тормозами (впереди есть автомобиль) A01FPBRE01 Горит Горит - -
        Управление для поддержания автомобиля в состоянии остановки*2 A01FP5P Горит Горит - -
        Управление троганием с места*2 A01FPE3 Горит Горит - -
        Управление замедлением / предупреждение об автомобиле впереди (впереди есть автомобиль, длинная дистанция)*3 A01FPLQE01 Горит Горит - Зуммер системы противоскольжения звучит непрерывно
        Датчик радара миллиметрового диапазона загрязнен A01FPKZ - - Горит Подает один звуковой сигнал
        Плохие погодные условия*4 A01FPVR - - Горит Подает один звуковой сигнал
        При возникновении проблем во время управления для поддержания автомобиля в состоянии остановки.*2 A01FP6O - - Горит Зуммер системы противоскольжения звучит непрерывно
        Проверка системы A01FP3B - - Горит Подает один звуковой сигнал
        Регулировка диаграммы направленности A01FPHK - - - -

        Tech Tips

        *1: когда работает система помощи при движении по полосе, также отображается ее индикатор. Подробная информация приведена в описании системы помощи при движении по полосе.

        *2: для моделей с функцией поддержания максимальной скорости

        *3: на моделях с блоком индикации на ветровом стекле также отображается на ветровом стекле.

        *4: когда стеклоочистители работают с высокой скоростью, либо выбран режим SNOW.