| *1 | Корпус дроссельной заслонки с электродвигателем в сборе - Электродвигатель привода дроссельной заслонки - Датчик положения дроссельной заслонки |
*2 | Преобразователь-инвертор в сборе - ЭБУ мотор-генератора |
| *3 | Правый передний датчик частоты вращения | *4 | Датчик радара миллиметрового диапазона в сборе |
| *5 | ECM | *6 | Левый передний датчик частоты вращения |
| *7 | Датчик положения рычага переключения передач | *8 | ЭБУ системы противоскольжения в сборе |
| *9 | Блок управления рабочими цилиндрами тормозов в сборе | *10 | Левый задний датчик частоты вращения |
| *11 | Правый задний датчик частоты вращения | - | - |
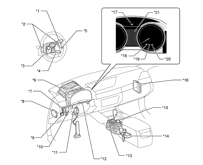
| *1 | Переключатель стеклоочистителя ветрового стекла в сборе | *2 | Переключатель передач в сборе |
| *3 | Датчик положения рулевого колеса | *4 | Главный выключатель круиз-контроля |
| *5 | Выключатель системы контроля дистанции | *6 | ЭБУ зеркала щитка приборов |
| *7 | Интегрированная панель управления в сборе - Выключатель VSC OFF |
*8 | ЭБУ помощи при движении в сборе |
| *9 | Зуммер системы противоскольжения в сборе | *10 | Выключатель стоп-сигналов в сборе |
| *11 | Датчик положения педали акселератора в сборе | *12 | Щиток приборов в сборе |
| *13 | Напольный механизм переключения передач в сборе - Датчик положения селектора передач |
*14 | Датчик рысканья |
| *15 | Комбинированный переключатель в сборе - Переключатель режима SNOW |
*16 | ЭБУ распределения питания |
| *17 | Главная контрольная лампа аварийного состояния | *18 | Контрольная лампа радарной системы круиз-контроля (индикация режима контроля дистанции между автомобилями) |
| *19 | Главная контрольная лампа круиз-контроля (индикация режима поддержания постоянной скорости) | *20 | Контрольная лампа круиз-контроля SET |
| *21 | Мультиинформационный дисплей | - | - |