СИСТЕМА СМАЗКИ ДЕТАЛЬНОЕ ОПИСАНИЕ


  1. КОНСТРУКЦИЯ


    1. Масляный насос


      1. Используется компактный масляный насос с циклоидным ротором, непосредственно приводимый в действие коленчатым валом.

      2. В данном масляном насосе реализован принцип внутренней разгрузки, т.е. сливаемое масло возвращается во всасывающий канал насоса. Целью этого является минимизация изменения уровня масла в масляном поддоне, снижение трения и уменьшение интенсивности смешивания воздуха с маслом.

        A01FPEME01
        Обозначения на рисунке
        *1 Крышка цепного привода газораспределительного механизма *2 Ротор масляного насоса
        *3 Крышка масляного насоса - -
        *a Канал для подачи масла в масляный насос *b К блоку цилиндров
        *c К масляному фильтру *d От сетчатого масляного фильтра
    2. Штуцер подачи масла в сборе


      1. В блоке цилиндров, в центрах правого и левого рядов, размещены штуцеры подачи масла, предназначенные для охлаждения и смазки поршней.

      2. В штуцерах подачи масла имеется обратный клапан, предотвращающий подачу масла, когда его давление мало. Это препятствует падению общего давления масла в двигателе.

        A01FPLPE01
        Обозначения на рисунке
        *1 Штуцер подачи масла в сборе *2 Обратный клапан
        *a Сечение штуцера подачи масла в сборе - -
        A01FPED Масло - -
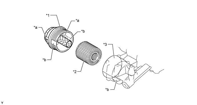
    3. Масляный фильтр


      1. Используется масляный фильтр со сменным фильтрующим элементом. В фильтрующем элементе масляного фильтра применяется высокоэффективная фильтровальная бумага, улучшающая фильтрацию. Кроме того, бумага является сгораемым материалом, что обеспечивает защиту окружающей среды.

      2. Для повышения срока службы крышка фильтра изготавливается из алюминиевого сплава.

      3. Используется конструкция для слива масла, в которой масло сливается путем совмещения вырезов в корпусе и крышке. Это предотвращает разбрызгивание масла при замене фильтрующего элемента масляного фильтра и дает возможность выполнять работы, не вступая в контакт с горячим маслом.

        A01FP0CE01
        Обозначения на рисунке
        *1 Крышка масляного фильтра *2 Фильтрующий элемент масляного фильтра
        *3 Корпус масляного фильтра - -
        *a Ребро *b Вырез

        Tech Tips

        Чтобы слить масло, поверните крышку примерно на 4 оборота и совместите вырезы на крышке и корпусе, используя ребро как ориентир.