ОСОБЕННОСТИ ОБОРУДОВАНИЕ


  1. ОПИСАНИЕ


    1. Концепция интерьера салона


      1. За счет того, что центральная часть панели приборов сделана значительно компактнее, достигается ощущение открытости. Благодаря хорошей боковой поддержке со стороны облицовки двери и консоли создается чувство безопасности. В результате сочетание этих ощущений образует пространство для водителя и пассажиров, соответствующее высшему классу автомобиля для путешествий.

      2. Согласно исходной концепции автомобиля для путешествий высшего класса, делающего длительные поездки на большие расстояния более приятными, обеспечено расширение интегрированного жизненного пространства, достигнутое за счет переработанной внешней формы и более компактной конструкции подушек безопасности занавесочного типа.

      3. В дизайне салона форма и внешний вид линий и поверхностей сделаны максимально отчетливыми, что достигается используемыми материалами. Кроме того, высокий уровень гармонии между интеграцией, выражаемой дизайном, и материалами, используемыми для каждой функции, отражает аутентичность LEXUS высшего класса с привлекательным пространством салона.

      4. Тщательно проработанная форма панели приборов, сидений, обивки крыши, облицовки дверей и стоек кузова образует пространство салона, которое может гибко адаптироваться к самой разной форме и высоте тела водителя и пассажиров.

        A01FPDEE01
        Обозначения на рисунке
        *A Кроме комплектации "F SPORT" - -
        A01FPR0E01
        Обозначения на рисунке
        *A Для комплектации "F SPORT" - -
      5. В комплектации F SPORT обивка крыши, стойки кузова и опорные накладки имеют эксклюзивный цвет, что отличает эту модификацию от модели в стандартной комплектации.

        A01FP15E01
        Обозначения на рисунке
        *1 Обивка крыши *2 Обивка стойки ветрового стекла
        *3 Верхняя облицовочная накладка средней стойки кузова *4 Внутренняя боковая облицовка крыши
        A01FPDC Эксклюзивный цвет F SPORT (черный) - -
        A01FPTRE01
        Обозначения на рисунке
        *1 Опорная накладка F SPORT (черные символы) - -
        *a Со стороны пассажира *b Со стороны водителя
    2. Обивка двери


      1. Конструктивный элемент облицовки двери, который тянется от боковины до подлокотника и накладки на уровне колена, имеет форму, удобную для размещения руки и локтя.

      2. Сочетающиеся с панелью приборов декоративные отделочные элементы создают ощущение единства с дверными ручками, образуя простой, изысканный дизайн.

        A01FPPGE01
        Обозначения на рисунке
        *1 Внутренняя дверная ручка *2 Подлокотник
        *3 Накладка на уровне колена - -
        A01FPI1 Серебристая отделка A01FPDC Декоративный элемент
    3. Подлокотник


      1. Толщина подушек подлокотников увеличена для достижения хорошей опоры и приятного ощущения на ощупь.

        A01FP8RE01
        Обозначения на рисунке
        *1 Облицовка задней двери *2 Подлокотник
        *3 Облицовка передней двери - -
      2. Карман для аксессуаров, создающий впечатление высокого класса, устанавливается в качестве стандартного оборудования на основании переключателей облицовки задней двери. По заказу автомобиль оборудуется пепельницей.

        A01FPPAE01
        Обозначения на рисунке
        *1 Карман для аксессуаров *2 Панель переключателя
      3. Для удобства в нижней части облицовки передней двери предусмотрен карман для мелких вещей.

        A01FPB2E01
        Обозначения на рисунке
        *1 Карман для мелких вещей - -
      4. Для удобства в нижней части облицовки задней двери предусмотрен карман для мелких вещей.

        A01FP42E01
        Обозначения на рисунке
        *1 Карман для мелких вещей - -
      5. На дне кармана в нижней части облицовки двери предусмотрен съемный коврик, который упрощает уборку и уменьшает шум, создаваемый при перемещении хранимых в кармане предметов.

        A01FPE1E01
        Обозначения на рисунке (облицовка передней двери)
        *1 Коврик - -
        *a Сечение A - A - -
        A01FPM1E01
        Обозначения на рисунке (облицовка задней двери)
        *1 Коврик - -
        *a Сечение A - A - -
    4. Окружающее освещение дверей


      1. В облицовке двери установлена внешняя подсветка. При разблокировке двери рассеянный свет мягко подсвечивает нижнюю кромку серебристой отделки, создавая ощущение гостеприимства и впечатление прогресса и высокого класса.

        A01FPAGE01
        Обозначения на рисунке
        *1 Серебристая отделка *2 Подлокотник
        *3 Стержень световода - -
        *a Облицовка передней двери *b Облицовка задней двери
        *c Подсвечиваемая зона - -
    5. Система заднего солнцезащитного навеса


      1. По заказу автомобиль оборудуется системой заднего солнцезащитного навеса с электроприводом. Эта система предотвращает попадание прямого солнечного света через заднее стекло, что повышает комфорт пассажиров на задних сиденьях.

    6. Система солнцезащитных навесов задних дверей


      1. В автомобиль устанавливаются солнцезащитные навесы задних дверей с ручным управлением.

      2. Дверная шторка поднимается и выдвигается назад, точно соответствуя форме окна задней двери. Благодаря уменьшению зазора между шторкой и окном задней двери, а также низкому светопропусканию повышается степень комфорта для пассажиров на задних сиденьях.

      3. Как дополнительный элемент для закрывания той части окна задней двери, которую не может закрыть одна только шторка двери, предусмотрена шторка заднего сектора окна, которая вытягивается из поперечины окна (разделительной стойки) непосредственно вбок.

        A01FPWEE01
        Обозначения на рисунке
        *1 Поперечина окна *2 Шторка заднего сектора окна
        *3 Шторка двери - -
        A01FPJH Вытягивается по диагонали вверх A01FPED Вытягивается непосредственно вбок
    7. Багажное отделение


      1. За счет оптимизации формы элементов багажного отделения образуется очень удобное в использовании пространство для хранения.

      2. В 4 местах на полу багажного отделения расположены скобы для крепления багажа, а складывающиеся вверх крючки предусмотрены из соображений удобства использования и внешнего вида.

      3. Петля двери багажного отделения закрыта внутренней облицовочной накладкой багажного отделения, улучшающей внешний вид багажного отделения.

        A01FPBJE01
        Обозначения на рисунке
        *1 Складывающийся крючок для крепления багажа *2 Петля двери багажного отделения в сборе
        *3 Внутренняя облицовочная накладка багажного отделения *4 Скоба для крепления багажа
      4. Потолок багажного отделения закрыт задней облицовочной накладкой багажного отделения, что придает внутренней части багажного отделения обтекаемый вид.

        A01FPJVE01
        Обозначения на рисунке
        *1 Задняя облицовочная накладка багажного отделения - -
      5. Пространство для хранения под полом


        • Под напольным ковриком багажного отделения предусмотрен нижний поддон для багажа, образующий дополнительное пространство для хранения.

          A01FPPQE01
          Обозначения на рисунке
          *1 Нижний поддон для багажа (центральный короб) - -
      6. Боковая сетка для багажа


        • В багажном отделении предусмотрена практичная сетка, предотвращающая разбрасывание хранящихся в нем предметов и повышающая удобство пользования.

        A01FP7PE01
        Обозначения на рисунке
        *1 Боковая сетка для багажа - -
    8. Панель приборов


      1. Форма и внешний вид панели приборов подверглись переработке по сравнению с традиционной Т-образной панелью. Кроме того, уделено большое внимание деталям в доведенном до совершенства соединении устройств, удобстве и простоте использования оборудования, производимом впечатлении, благодаря чему образовано высококачественное внутреннее пространство.

      2. Такие элементы салона, как верхняя часть панели приборов, декоративные элементы, рулевое колесо, рукоятка рычага переключения передач, консоль пола и облицовка дверей, снабжены декоративной отделкой. Кроме того, используется сочетание материалов с различными свойствами, тактильными характеристиками и внешним видом, воплощающее аутентичность LEXUS высшего класса и утонченную гармонию высококачественного продукта.

        A01FPWFE01
        Обозначения на рисунке
        *A Кроме комплектации "F SPORT" - -
      3. В комплектации "F SPORT" повсеместно используются эксклюзивные элементы и детали, такие как эксклюзивная эмблема на рулевом колесе и алюминиевые педали, что создает образ спортивного автомобиля и отличает его от модели в стандартной комплектации.

        A01FPI8E01
        Обозначения на рисунке
        *A Для комплектации "F SPORT" - -
        *a Алюминиевая педаль для комплектации F SPORT - -
      4. В модели используется 12,3-дюймовый многофункциональный дисплей и сенсорный пульт дистанционного управления (блок пульта дистанционного управления), а зона отображения информации и зона управления разделены. В результате этого достигнуто оптимальное размещение, способствующее приятному вождению и требующее минимального движения глаз или изменения позы.

        A01FPAVE01
        Обозначения на рисунке
        *a Вид сверху *b Вид спереди
        *c Зона отображения *d Зона управления
      5. В таких местах, как верхняя поверхность панели приборов, панель управления щитка приборов, накладки на уровне колена на боковых сторонах консоли пола и подлокотники, используется кожаная обивка со стежковыми швами.

        A01FPQUE01
        Обозначения на рисунке
        *1 Верхняя поверхность панели приборов *2 Панель управления щитка приборов
        *3 Накладка на уровне колена *4 Подлокотник
        A01FPDC Кожаная обивка со стежковыми швами - -
      6. В отделке салона повсеместно используются декоративные материалы, начиная с натуральной древесины, что создает впечатление новаторства и высокого класса. Декоративные материалы и размещение декоративных элементов меняется в зависимости от комплектации.

        A01FP3OE01
        Обозначения на рисунке
        *A Комплектация "Люкс" и "F SPORT" - -
        *1 Центральный воздуховод с дефлектором *2 Декоративный элемент со стороны водителя
        *3 Оправа переключателей на рулевом колесе *4 Блок сенсорного пульта дистанционного управления
        *5 Ручка крышки отделения для напитков (металлизация) *6 Рукоятка рычага переключения передач
        *7 Концевая панель облицовки туннеля пола *8 Верхняя часть консоли пола
        *9 Головное устройство аудиосистемы *10 Декоративный элемент со стороны пассажира
        A01FPDC Детали из натурального дерева, алюминия (для комплектации "F SPORT") или с пленочным покрытием A01FPI1 Детали с серебристой отделкой
    9. Рулевое колесо


      1. Рулевое колесо притягивает внимание фирменным знаком LEXUS за счет увеличенной формы знака.

      2. Форма оптимизирована по положению хвата с целью повысить удобство для рук при любом сценарии вождения и обеспечить опору для больших пальцев, что улучшает чувство хвата в процессе спортивного вождения.

      3. На всех моделях в качестве стандартного элемента комплектации предусмотрен переключатель управления переключением, повышающий удобство переключения передач в спортивном режиме.

        A01FP5YE01
        Обозначения на рисунке
        *A Модель в стандартной комплектации и комплектации Premium *B Комплектация "Люкс"
        *C Для комплектации "F SPORT" - -
        *1 Переключатель управления переключением (переключатель передач трансмиссии в сборе) *2 Опора для больших пальцев
        *3 Оправа переключателей на рулевом колесе *4 Центральная накладка
        A01FPI1 Гладкая кожа A01FPDC Натуральная древесина
        A01FP93 Рельефная кожа - -
    10. Сенсорный пульт дистанционного управления


      1. В модели предусмотрен сенсорный пульт дистанционного управления (блок пульта дистанционного управления).

      2. Сенсорный пульт дистанционного управления установлен на 1 уровень выше верхней поверхности консоли пола для повышения удобства и простоты использования.

        A01FPPYE01
        Обозначения на рисунке
        *1 Кнопочный переключатель *2 Контроллер пульта дистанционного управления
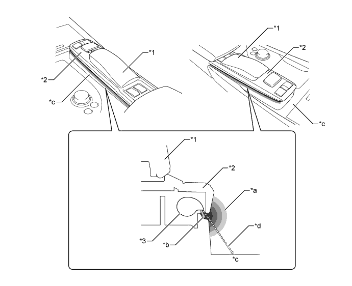
      3. По краю сенсорный пульт дистанционного управления светится рассеянным светом, организованным так, что он не освещает консоль пола. Эта подсветка сопровождается "плавающим" визуальным эффектом, создающим впечатление новаторского решения.

      4. Зона вокруг сенсорного пульта дистанционного управления подсвечивается полосой света постоянной ширины, соответствующей форме серебристой отделки. Кроме того, только в зоне вокруг ручки переключателя интенсивность рассеянной подсветки немного увеличивается, подчеркивая тем самым важные функции этой ручки в управлении.

        A01FPEHE01
        Обозначения на рисунке
        *1 Подлокотник *2 Контроллер пульта дистанционного управления
        *3 Акриловый стержень - -
        *a Зона распространения рассеянного света *b Луч света
        *c Верхняя поверхность панели облицовки панели пола *d Рассеянный свет, освещающий панель
    11. Опора для ноги


      1. Используется большая опора для ноги, обеспечивающая как устойчивость автомобиля при спортивном стиле вождения, так и удобство при дальних поездках.

      2. Поверхность опоры для ноги профилирована, что улучшает прилегание подошвы обуви.

        A01FP13E01
        Обозначения на рисунке
        *a Изогнутая поверхность опоры для ноги - -
    12. Центральная консоль


      1. Сохраняя компактность, конструкция центральной консоли обеспечивает удобство и простоту использования и образует центральную часть интерьера салона.

      2. Дизайн центральной консоли подчеркивает единство инновационного 12,3-дюймового многофункционального дисплея и традиционных аналоговых часов.

      3. Дизайном предусмотрены плоские центральные воздуховоды с дефлектором, которые в сочетании с выступающими аналоговыми часами создают ощущение просторного по ширине салона.

      4. В центральной консоли используются обшитая панель, традиционно изготовленная из полимерного материала. Применение обивочного материала на центральной консоли, к которой часто прикасается водитель, преследовало цель улучшения внешнего вида и ощущений при прикосновении.

        A01FP3PE01
        Обозначения на рисунке
        *1 12,3-дюймовый многофункциональный дисплей *2 Аналоговые часы
        *3 Центральный воздуховод с дефлектором *4 Обшитая панель
    13. Аудиовизуальная система


      1. В качестве материала для поворотных ручек головного устройства аудиосистемы использован алюминий с грубо обработанной рельефной поверхностью, создающий впечатление серьезности и высокого класса.

      2. Зона управления системой кондиционирования организована таким образом, чтобы ясно различать независимые органы регулировки для левого и правого сидений и общие переключатели, сгруппированные в середине. Эта компоновка обеспечивает управление на интуитивном уровне.

        A01FPQ1E01
        Обозначения на рисунке
        *1 Поворотная ручка (алюминий с грубо обработанной поверхностью) - -
        *a Зона управления аудиосистемой *b Зона управления системой кондиционирования
        *c Зона управления со стороны водителя *d Общие переключатели
        *e Зона управления со стороны пассажира - -
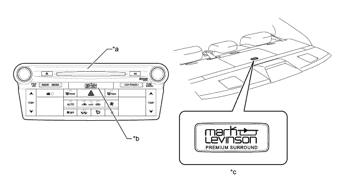
      3. В качестве головного устройства аудиосистемы, устанавливаемого по заказу, используется аудиосистема "Mark Levinson".

      4. Вместе с эксклюзивным головным устройством аудиосистемы устанавливается эксклюзивная декоративная пластина.

        A01FPCCE01
        Обозначения на рисунке
        *a Передняя панель головного устройства аудиосистемы (эксклюзивный цвет) *b Эксклюзивная эмблема
        *c Эксклюзивная декоративная отделка - -
    14. Система навигации


      1. На автомобиль устанавливается дисплей с широкоэкранной матрицей на тонкопленочных транзисторах (TFT) с диагональю 12,3 дюйма или 8 дюймов.

      2. Используется дисплей, который не является сенсорным, но совместим с сенсорным пультом дистанционного управления.

    15. Аудиосистема с дисплеем LEXUS


      1. Устанавливается дисплей TFT с диагональю 8 дюймов.

    16. Система обработки и передачи информации (для моделей для Китая)


      1. Система обработки и передачи информации представляет собой службу обработки и передачи информации, которая связывает автомобиль с сетью G-BOOK (предоставляет информацию из центра G-BOOK или от поставщиков информации).

    17. Система люка


      1. Предусмотрена система люка.

      2. Переключатель люка установлен в консоли над ветровым стеклом.

    18. Система зеркал


      1. Для наружных зеркал заднего вида с электрическим дистанционным управлением предусмотрены следующие функции:


        • Функция приведения в действие заднего солнцезащитного навеса при включении передачи заднего хода

        • Функция, связанная с запоминающим устройством сиденья

        • Противобликовая функция, связанная с внутренним зеркалом заднего вида

    19. Система контроля слепых зон


      1. На моделях для Европы система контроля слепых зон, используя одни и те же датчики системы контроля слепых зон, выполняет 2 функции: функцию контроля слепых зон и функцию уведомления о движении транспорта в пересекающем направлении позади автомобиля (RCTA)*.


        • *: для моделей с функцией RCTA

      2. На моделях, отличных от моделей для Европы, система контроля слепых зон, используя одни и те же датчики системы контроля слепых зон, выполняет 2 функции: функцию контроля слепых зон и функцию уведомления о движении транспорта в пересекающем направлении позади автомобиля (RCTA)*.


        • *: для моделей с функцией RCTA

    20. Система помощи при парковке LEXUS, основанная на применении датчиков


      1. В сенсорной системе помощи при парковке LEXUS используются ультразвуковые датчики и реализована звуковая сигнализация. Система обнаруживает препятствия позади автомобиля и информирует водителя о расстоянии до них.

    21. Система помощи при парковке


      1. В систему монитора помощи при парковке входит задняя телекамера, которая монтируется на двери багажного отделения и помогает водителю парковать автомобиль, контролируя зону позади него.

      2. Зона позади автомобиля отображается на многофункциональном дисплее.

    22. Система круиз-контроля


      1. Автомобили оснащаются системой круиз-контроля.

    23. Динамическая радарная система круиз-контроля


      1. Предусмотрена динамическая радарная система круиз-контроля.

    24. Система ночного видения LEXUS


      1. Система ночного видения LEXUS - это функция, которая при движении в ночное время отображает более широкую, чем поле зрения водителя, зону на многофункциональном дисплее, чем помогает в обнаружении пешеходов и препятствий.

    25. Система помощи при движении по полосе


      1. Предусмотрена система помощи при движении по полосе.

    26. Система открывания двери багажного отделения


      1. Предусмотрена система открывания двери багажного отделения.

    27. Система доводчика двери багажного отделения


      1. Предусмотрена система доводчика двери багажного отделения.

    28. Система автоматизированного привода двери багажного отделения


      1. Предусмотрена система электропривода двери багажного отделения.

    29. Система механизма открывания гаражной двери


      1. Предусмотрена система открывания двери гаража. Эта система позволяет открывать и закрывать дверь гаража из автомобиля путем нажатия одной из кнопок управления дверью гаража, которые расположены на внутреннем зеркале заднего вида.

    30. Система посадки и запуска


      1. В основном в данную систему входят подсистема дистанционной блокировки дверей, иммобилайзер двигателя, подсистема запуска и подсистема посадки.

      2. Функция запуска позволяет переключать режимы источника питания: OFF (ВЫКЛ), ON (ВКЛ) (ACC) и ON (ВКЛ) (IG). Режим источника питания переключается нажатием выключателя питания, если водитель имеет при себе передатчик электронного ключа. Кроме того, если водитель имеет при себе ключ, он может запустить гибридную систему, нажав на выключатель питания при нажатой педали тормоза.

    31. Щиток приборов в сборе


      1. В модели используется щиток приборов с 2 большими циферблатными индикаторами с дисплеем с системой подсветки "Optitron", соответствующий концепции автомобиля для путешествий высшего класса и обеспечивающий отличные визуальные характеристики. Его металлическая окантовка формирует спортивный имидж, а внешняя подсветка создает солидный облик.

      2. Используется 3,5-дюймовый цветной мультиинформационный дисплей с матрицей TFT.

        A01FPCNE02
        Обозначения на рисунке
        *1 3,5-дюймовый цветной мультиинформационный дисплей TFT *2 Металлическая окантовка
        *a В режиме Normal или ECO *b В режиме SPORT
    32. Блок индикации на ветровом стекле


      1. Предусмотрена система индикации на ветровом стекле.

      2. На ветровом стекле отображается различная информация, необходимая в процессе вождения. Благодаря этому водитель получает информацию с меньшими движениями глаз, чем при взгляде на щиток приборов.

    33. Подушки безопасности дополнительной системы (пассивной) безопасности (SRS)


      1. Подушки безопасности системы SRS (дополнительная (пассивная) система безопасности) водителя и переднего пассажира помогают уменьшить травмы головы и грудной клетки водителя и переднего пассажира в случае фронтального столкновения, дополняя действие ремней безопасности.

      2. Подушка безопасности для защиты коленей системы SRS дополняет действие ремня безопасности и помогает ослабить удар в область коленей водителя или переднего пассажира в случае лобового столкновения.

      3. Боковые подушки безопасности системы SRS используются в случае бокового или заднего бокового столкновения и помогают ослабить удары в области грудной клетки водителя, переднего пассажира и пассажиров на задних сиденьях.

      4. Подушки безопасности занавесочного типа системы SRS используются в случае бокового или заднего бокового столкновения и помогают ослабить удары в область головы водителя, переднего пассажира или пассажира задних сидений.

    34. Предаварийная система безопасности


      1. Предусмотрена предаварийная система безопасности. Эта система предупреждает водителя о возможности столкновения.

    35. Варианты сидений


      1. В зависимости от технических характеристик передние сиденья с электроприводами имеют 10, 16 или 18 степеней свободы.

      2. Для передних сидений, в зависимости от комплектации, предусмотрены подголовник с боковыми упорами, тазовый упор, подплечник, боковая опора, опора поясницы, подставка для ног и функция регулировки длины подушки.

      3. В модели используются унифицированные и фиксированные задние сиденья.

    36. Система индивидуального климат-контроля


      1. В систему индивидуального климат-контроля наряду с функциями подогрева и климат-контроля сидений включена функция автоматического кондиционера.

    37. Варианты окраски кузова и цвета отделки салона

      Кроме комплектации "F SPORT"
      ВНЕШНИЙ ВИД ВНУТРЕННЕЕ ОБОРУДОВАНИЕ АВТОМОБИЛЯ
      Индекс цвета Название цвета Название цвета
      L077 Жемчужно-белый, блестящий

      - коричневый топаз

      - дубленая кожа

      - слоновая кость

      - черный

      - светло-серый

      L1J2 Серебристый (Sonic Silver)
      L1J7 Титановый (Sonic Titanium)
      L1H9 Ртутный серый слюдяной
      L212 Черный
      L217 Звездно-черный зеркальный чешуйчатый
      L3S8 Кармазинный блестяще-зеркальный чешуйчатый
      L4V3 Огненно-агатовый слюдяной металлик
      L8V3 Слюдяная ляпис-лазурь
      L8W3 Метеоритно-синий слюдяной металлик
      Для комплектации "F SPORT"
      ВНЕШНИЙ ВИД ВНУТРЕННЕЕ ОБОРУДОВАНИЕ АВТОМОБИЛЯ
      Индекс цвета Название цвета Название цвета
      L083 Белый зеркальный чешуйчатый Nova

      - гранат

      - коричневый топаз

      - слоновая кость

      - черный

      - Черный и алый*

      L1J2 Серебристый (Sonic Silver)
      L1J7 Титановый (Sonic Titanium)
      L1H9 Ртутный серый слюдяной
      L212 Черный
      L217 Звездно-черный зеркальный чешуйчатый
      L3S8 Кармазинный блестяще-зеркальный чешуйчатый
      L8V3 Слюдяная ляпис-лазурь
      L2MH* Черный/белый зеркальный чешуйчатый Nova*

      Tech Tips

      *: Юбилейная модель, посвященная 25-летию LEXUS

    38. Юбилейная модель, посвященная 25-летию LEXUS


      1. Предлагается юбилейная модель, посвященная 25-летию марки LEXUS, которая представляет девиз "Выдающееся время" и базируется на модели F SPORT, ориентированной на более молодое поколение.


        1. Цвет кузова "белый зеркальный чешуйчатый Nova" (L083), который символизирует инновационность и безупречность, дополняется глянцевым рояльно-черным цветом решетки радиатора в сборе, нижней решетки радиатора № 1, облицовки решетки радиатора № 1, наружных зеркал заднего вида в сборе, наружных ручек дверей в сборе и нижней облицовки заднего бампера. Также в черный цвет окрашены колеса. Простое и ясное ЧЕРНО-БЕЛОЕ цветовое решение создает СПОРТИВНЫЙ образ, захватывая сердца более молодого поколения.

          A01FPFYE01
          Обозначения на рисунке
          *1 Решетка радиатора в сборе *2 Нижняя решетка радиатора № 1
          *3 Облицовка решетки радиатора № 1 *4 Наружное зеркало заднего вида в сборе
          *5 Наружная ручка двери в сборе *6 Колесо в сборе
          *7 Нижняя облицовка заднего бампера - -
        2. В салоне используются черный и алый цвета. Высокий контраст цветового решения с ярким АЛЫМ и ЧЕРНЫМ цветами улучшает настроение пользователя и формирует бесподобное дерзкое и волнующее пространство.

          A01FP4OE01
          Обозначения на рисунке
          *1 Декоративная панель (текстура древесины (Shima-moku)) - -
          *a Черные стежки *b Красные стежки
          A01FPDC Черный A01FPI1 Алый цвет