LIGHTING SYSTEM GENERAL


  1. OUTLINE


    1. Exterior Light


      1. The exterior lights consist of the following:

        A01FP8YE02
        Text in Illustration (Models with High Intensity Discharge (HID) Headlight:)
        *A Models with Fog Light Assembly (Halogen Type) *B Models with Fog Light Assembly (LED Type Except for F SPORT)
        *C Models with Fog Light Assembly (LED Type for F SPORT) *D Models without Daytime Running Light
        *E Models with Daytime Running Light *F Models with Lexus Night View
        *1 Side Turn Signal Light Assembly RH *2 Headlight Assembly RH
        *3 Front Fog Light Assembly RH *4 Front Fog Light Assembly LH
        *5 Headlight Assembly LH *6 Side Turn Signal Light Assembly LH
        *7 High/Low Beam *8 Clearance Light
        *9 Clearance Light/Daytime Running Light *10 Near-infrared Ray Light
        *11 Front Turn Signal Light *12 Door Mirror Foot Light
        A01FPW1E02
        Text in Illustration (Models with Light Emitting Diode (LED) Headlight:)
        *A Models with Fog Light Assembly (Halogen Type) *B Models with Fog Light Assembly (LED Type Except for F SPORT)
        *C Models with Fog Light Assembly (LED Type for F SPORT) *D Models without Daytime Running Light
        *E Models with Daytime Running Light *F Models with Lexus Night View
        *1 Side Turn Signal Light Assembly RH *2 Headlight Assembly RH
        *3 Front Fog Light Assembly RH *4 Front Fog Light Assembly LH
        *5 Headlight Assembly LH *6 Side Turn Signal Light Assembly LH
        *7 High Beam *8 Front Turn Signal Light
        *9 Clearance Light *10 Clearance Light/Daytime Running Light
        *11 Near-infrared Ray Light *12 Low Beam
        *13 Door Mirror Foot Light - -
        A01FPEAE01
        Text in Illustration
        *A Models with Rear Fog Light *B Models without Rear Fog Light
        *1 Rear Light Assembly LH *2 Rear Combination Light Assembly LH
        *3 Rear Reflex Reflector LH *4 License Plate Light Assembly
        *5 Rear Reflex Reflector RH *6 Rear Combination Light Assembly RH
        *7 Rear Light Assembly RH *8 Center Stop Light Assembly
        *9 Taillight and Stop Light *10 Rear Turn Signal Light
        *11 Rear Fog Light (Oncoming Lane Side Only) *12 Taillight
        *13 Back-up Light - -
    2. Daytime Running Light System (Models with Daytime Running Light)


      1. The daytime running light system is designed to automatically illuminate the Light Emitting Diode (LED) lights, during the daytime to keep the vehicle highly visible to other vehicles.

    3. High Intensity Discharge (HID) Headlight System


      1. The HID headlight system uses a discharge bulb as its light source for the headlight. Discharge bulbs have features superior to halogen bulbs.

    4. Light Emitting Diode (LED) Headlight System


      1. An LED headlight system, capable of instant illumination and of ensuring a long service life, is used for low beam and high beam headlights.

    5. Near-infrared Ray Light (Models with Lexus Night View)


      1. A near-infrared ray light is built into the headlight assembly for the Lexus night view. LEDs are used as a light source for the near-infrared ray light.

    6. Intelligent Adaptive Front-lighting System (AFS)


      1. An intelligent AFS is used in order to ensure a wide low beam lighting area and provide excellent visibility during turns by moving the low beam.

      2. The intelligent AFS performs medium-to-high speed control and low speed control. In the medium-to-high speed control, the system calculates the target lighting angle based on the steering angle and vehicle speed and changes the swivel angle of the low-beam headlights individually. During the low speed control, the system calculates the target lighting angle based on the steering angle and changes the swivel angle of the low-beam headlight on the side facing into the turn.

        A01FPRYE01
        Text in Illustration
        *A Models with Intelligent AFS *B Models without Intelligent AFS
        *a Medium-to-high Speed Control *b Low Speed Control
        *c Lighting Area - -
    7. Automatic High Beam System (Models with Automatic High Beam System)


      1. The automatic high beam system detects lights in front of the vehicle and automatically changes between high beams and low beams to support the driver during night driving.

    8. Automatic Headlight Beam Level Control System


      1. When the hybrid system and headlights are on, the automatic headlight beam level control system operates the headlight swivel motors in accordance with movement of the vehicle.

    9. Automatic Light Control System


      1. When the light control switch is in the AUTO position, the automatic light control sensor detects the ambient light level and automatically turns the headlights, taillights, clearance lights and license plate lights on or off accordingly.

      2. This system is controlled by the main body ECU (multiplex network body ECU).

    10. Light Auto Turn-off System


      1. The light auto turn-off system is used to prevent the driver from leaving the vehicle with the headlights, front fog lights, clearance lights, taillights or license plate lights on.

    11. Door Mirror Foot Light System


      1. The door mirror foot light system operates the door mirror lights to ensure visibility when approaching or leaving the vehicle at night.

    12. Emergency Brake Signal (Models with Emergency Brake Signal)


      1. The stop lights flash automatically in the case of emergency braking to alert following drivers, thus helping to reduce rear-end accidents.

    13. Illumination System


      1. The illumination system operates the clearance lights, taillights and license plate lights in conjunction with the locking and unlocking of the doors, ensuring nighttime usebility.

  2. SPECIFICATION

    Light Type Wattage
    Headlight Assembly (Models with High Intensity Discharge (HID) Headlight) High/Low Beams Discharge Bulb: D4S 35
    Clearance Lights and Daytime Running Lights*1 LED 0.7/9.9
    Near-infrared Ray Lights*2 LED 16
    Turn Signal Lights Bulb (Amber): WY21W 21
    Headlight Assembly (Models with Light Emitting Diode (LED) Headlight) High Beams LED 28
    Low Beams LED 28
    Clearance Lights and Daytime Running Lights*1 LED 0.7/9.9
    Near-infrared Ray Lights*2 LED 16
    Turn Signal Lights Bulb (Amber): WY21W 21
    Front Fog Lights (Halogen Type)*3 Halogen Bulb: H16 19
    Front Fog Lights (LED Type except for F SPORT)*4 LED 5.9
    Front Fog Lights (LED Type for F SPORT)*5 LED 15
    Side Turn Signal Lights LED 0.3
    Rear Combination Light Assembly Taillights and Stop Lights LED 0.6/3.4
    Turn Signal Lights Bulb: WY21W 21
    Rear Light Assembly Taillights LED 0.8
    Rear Fog Light*6 LED 1.4
    Back-up Lights Bulb: W16W 16
    Center Stop Light Assembly LED 2
    License Plate Lights LED 0.6 (0.3 x 2)

    • *1: Models with daytime running light

    • *2: Models with Lexus night view

    • *3: Models with halogen type front fog light

    • *4: Models with LED type front fog light except for F SORT

    • *5: Models with LED type front fog light for F SORT

    • *6: Models with rear fog light

  3. MAIN FEATURES


    1. HID headlight system has the following features:


      1. The light emitted by the bulb is close in color to sunlight. The light illuminates ahead over a broader area and farther forward compared to halogen headlight system, increasing the area visible to the driver.

      2. Less power is consumed.

      3. Bi-function increases the upper illumination area of the discharge bulb when the high beam is turned on.

    2. Light Emitting Diode (LED) Headlight System


      1. Compared to halogen or HID headlights, even if an LED headlight is used for a long time, the reduction of brightness over its lifetime is less. In addition, there is no possibility of an LED having an open circuit because of vibration. Together, these attributes realize maintenance-free lighting.

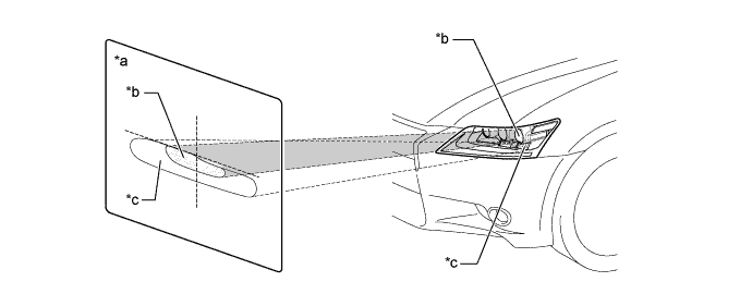
        A01FPX0E01
      2. The LED headlight system consists of lights that have different roles. These are to provide the concentrated beam pattern, diffused beam pattern and widely diffused beam pattern, providing even illumination for the driver.

        A01FPTFE01
        Text in Illustration
        *a Headlight Beam Pattern Displayed on a Screen *b LED Headlight for Concentrated Beam Pattern
        *c LED Headlight for Widely Diffused Beam Pattern - -
  4. PRECAUTION


    1. High Intensity Discharge (HID) Headlight System


      1. When the HID headlights illuminate, a high voltage (approximately 30000 V) is applied momentarily to the bulb. Never connect a tester to the high voltage socket of a HID headlight for measurement, as this may lead to a serious accident because of high voltage.

      2. Whenever inspecting the HID headlight system, make sure that water or rain is not present, the light control switch is off, the battery terminal is disconnected, and the connector of the light control ECU is disconnected in order to prevent an electric shock.

      3. Whenever operating the HID headlights, make sure that it is done only after assembly has been completed and never operate the system without bulbs installed.

      4. Do not operate the HID headlights using a power source other than the vehicle's.

      5. When there is a defect in an HID headlight or any shock has been applied to it, replace the bulb with a new one.

      6. A discharge bulb reaches a high temperature when it is illuminated. For this reason, the life of the bulb could be shortened if any oil comes in contact with the glass portion of the bulb. Do not touch the glass portion of a bulb with bare hands.

    2. Automatic High Beam System (Models with Automatic High Beam System)


      1. The automatic high beam system helps ensure visibility by automatically turning the high beams on and off.

      2. However, due to control limitations of the automatic high beam system, it may be necessary to manually turn the high beams on and off. When driving, for safety reasons, make sure to change the high beams and low beams manually in accordance with the driving conditions.

      3. Under the following conditions, the automatic high beam system might not detect other vehicles or lights correctly, or the high beams might cause glare or flash pedestrians or the occupants of other vehicles. Manual operation should be used.

        Factor Condition
        Weather/Climate When driving in bad weather (rain, snow, fog, sandstorms, etc.).
        Front Windshield
        • When the front windshield is not clear (ice, snow or frost on the glass).

        • When the front windshield is dirty (sand, mud, water stain or bugs on the glass).

        • When the front windshield is cracked.

        • When the front windshield is fogged-up.

        • When an object on the instrument panel reflects off of the front glass.

        • When any other abnormal conditions exist with the front glass.

        Inner Rear View Mirror (Automatic High Beam Sensor)
        • When a parking tag, wide angle rear view mirror adaptor or other accessory is mounted on the inner rear view mirror.

        • When the inner rear view mirror or its built-in camera is deformed.

        • When the automatic high beam sensor in the inner rear view mirror is dirty.

        • When any other abnormal conditions exist with the inner rear view mirror or its built-in automatic high beam sensor.

        Nearby Vehicles or Lights
        • When lights similar to headlights or taillights are in the vicinity of the vehicle.

        • When a nearby vehicle has no lights or its lights are off.

        • When a vehicle in front has misaligned lights, or its lights are changing color.

        • When a vehicle in front has extremely dirty headlights or taillights.

        Road Conditions
        • When driving in an area where the conditions often change between bright and dark.

        • When driving on a road with many uphill and downhill slopes.

        • When driving on a winding road or around a sharp curve.

        • When driving on a bumpy road (cobblestone pavement, gravel road, rough unpaved road, etc.).

        • When highly reflective objects are in front of the vehicle (mirrors, road signs, etc.).

        Own Vehicle
        • When the headlights are damaged, deformed or dirty.

        • When the vehicle posture is abnormal (posture has changed due to the vehicle being fully loaded, a trailer being towed, road conditions etc.).

        • When the vehicle has other malfunctions or when the vehicle has been modified.

        Automatic High Beam System

        Malfunction:


        • When the automatic high beam indicator light on the combination meter assembly is off or is blinking.

        • When the indicator light on the inner rear view mirror is blinking.

        Others:


        • When the automatic high beam system does not seem to be changing between the high beams and low beams properly

        • When the automatic high beam system is frequently changing between the high beams and low beams.

        • When the glare from the high beams would disturb pedestrians or the drivers of other vehicles.