WIPER AND WASHER SYSTEM DETAILS


  1. FUNCTION OF MAIN COMPONENTS


    1. Wiper and Washer System


      1. The wiper and washer system comprises the following parts and functions:

        Component Function
        Windshield Wiper Switch Assembly (Built into Wiper ECU) Outputs the position signal of the windshield wiper switch assembly to the windshield wiper motor assembly.
        Windshield Wiper Motor Assembly Activates the front wiper in accordance with control signal from the windshield wiper switch assembly.
        Rain Sensor* Controls the wiping interval and speed in accordance with the amount of rain and vehicle speeds.
        Windshield Washer Motor and Pump Assembly Activates the front washer motor and pump assembly, in accordance with the signal from the windshield wiper switch assembly (washer switch).

        • *: Models with rain sensing function

    2. Headlight Cleaner System (Models with Headlight Cleaner System)


      1. The headlight cleaner system comprises the following parts and functions:

        Component Function
        Integration Control and Panel Assembly (Headlight Cleaner Switch) The user operates this switch to operate the headlight cleaner.
        Headlight Cleaner Motor and Pump Assembly Sends the washer fluid to the headlight washer actuator sub-assembly in accordance with the signals from the headlight cleaner control relay.
        Headlight Cleaner Control Relay Receives the signals from the headlight cleaner switch, washer switch and main body ECU, and controls the headlight cleaner motor and pump assembly.
        Main Body ECU (Multiplex Network Body ECU) Sends the headlight low beam illumination signal to the headlight cleaner control relay.
        Headlight Cleaner Actuator Sub-assembly The pressure of the washer fluid sent by the headlight cleaner and motor assembly pushes out the headlight cleaner washer nozzles, and sprays the washer fluid onto the headlights.
  2. OPERATING CONDITION


    1. Headlight Cleaner


      1. The headlight cleaner operates as follows:

        Headlight Low Beam Headlight Cleaner Switch Windshield Wiper Switch Assembly (Washer Switch)
        On On (First Time) On (Second Time or Later)
        Turned On Activated Activated Not Activated
        Turned Off Not Activated Not Activated Not Activated
  3. SYSTEM CONTROL


    1. This system has the following functions:

      Function Outline
      Wiper Forced Wiping*1

      When any one of the following conditions is met while wiping is controlled by the rain sensing function, the windshield wiper switch assembly forcibly operates the wipers once:


      • The wiper switch is turned from off to AUTO when the power source is on (IG)

      • The vehicle starts off.

      • The automatic control adjuster is turned to the + direction (to boost the sensitivity)

      Rain Sensing*1 Controls the wiping interval and speed in accordance with the amount of rain and vehicle speeds when the AUTO switch is on.
      Washer-linked Wiper with Drip-prevention*1 To prevent the fluid from dripping after the washer has been operated, this function operates the wipers once after they have operated in unison with the washer.
      Washer Headlight Cleaner*2 Sprays washer fluid on the headlight lenses to clean them.
      Washer Fluid Level Warning When the volume of washer fluid decreases to below a certain level, the combination meter warns the driver through the warning message on the multi-information display.

      • *1: Models with rain sensing function

      • *2: Models with headlight cleaner system

    2. Rain Sensing Function


      1. The rain sensing function controls the wiper timing in accordance with the amount of rain that strikes the windshield when the AUTO switch is on.

      2. The wiper ECU controls the timing based on the signal from the rain sensor.

    3. Washer-linked Wiper with Drip-prevention Function


      1. When the windshield wiper switch assembly is set to off or AUTO and the washer switch is turned on, the wipers start on LO at the same time as the washer fluid is sprayed.

      2. The wipers operate 3 times on LO after the washer switch is turned off.

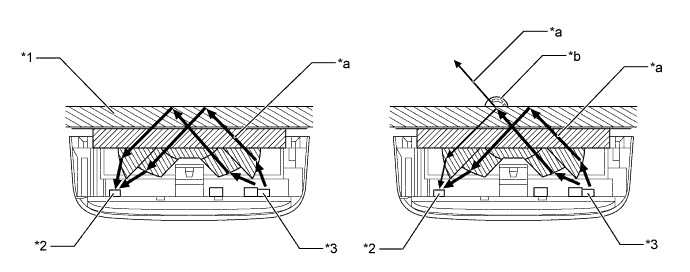
      3. When the washer switch is turned on for approximately 0.5 seconds or more and vehicle speed is approximately 4 km/h (2 mph) or less, as shown in the following diagram, after the end of this operation, the wipers operate once more.

        A01FPUAE01
  4. CONSTRUCTION


    1. Rain Sensor (Models with Rain Sensing Function)


      1. The rain sensor consists of a Light Emitting Diode (LED) that emits infrared rays, a photo diode that can receive those rays, a lens and rain sensor tape.

      2. In order to enhance the responsiveness of the day/night control and the tunnel control, the 2 built-in light sensors have been provided.

        A01FPSVE01
        Text in Illustration
        *1 Rain Sensor Tape *2 Lens
        *3 Photo Diode *4 LED
        *5 Photo Diode for Forward Detection (Light Sensor) *6 Photo Diode for Upward Detection (Light Sensor)
      3. If no raindrops are present in the detection area, the infrared rays emitted by the LED are all reflected from the outer surface of the windshield glass and are received by the photo diode.

      4. If raindrops are present in the detection area, a portion of the emitted infrared rays will penetrate the windshield glass due to the change in the difference of the index of refraction between the glass and the area outside the windshield (difference between air and water). The ability of the windshield glass to reflect all light back inside changes due to the presence of raindrops. This change of internal reflection due to the presence of water reduces the amount of infrared rays that are received by the photo diode. The amount of this reduction is then used to determine the amount of raindrops. This function then selects intermittent, low, or high wiper operation in order to operate the wipers at an optimal speed and timing.

      5. By using 2 light sensors, the sensitivity to detect night has been improved. In addition, when a tunnel is detected, the responsiveness around the entrance/exit of the tunnel has been improved.

        A01FPGRE01
        Text in Illustration
        *1 Windshield Glass *2 Photo Diode
        *3 LED - -
        *a Infrared Ray *b Raindrop
    2. Washer Nozzle


      1. Spray type washer nozzles are located under the hood sub-assembly to ensure good appearance. These nozzles can spray windshield washer fluid over a wide area by spraying it in a fan shape. The washer fluid volume has been reduced so as not to hinder the driver's view when the washer system is operated.

        A01FPUJE01
        Text in Illustration
        *1 Hood Sub-assembly *2 Washer Nozzle
        *a Fluid Volume *b Main Flow Center

        Note

        Spray type washer nozzles cannot be adjusted because of their structure. Do not attempt to adjust the nozzles as it could damage them. If adjustment is necessary, adjust the nozzles after replacing them with those selected from 3 part numbers with different spray angles. For details, refer to the Repair Manual.

    3. Front Wiper Arm and Blade


      1. A unified construction is used for the front wiper blades and arms. A fin-shaped resin cover is used for the entire wiper blade. This ensures the effectiveness of the wipers even when traveling at high speeds.

        A01FPQDE01
        Text in Illustration
        *1 Fin Shaped Resin Cover - -
        *a View from A - -
  5. FAIL-SAFE


    1. On models with rain sensing function, the following fail-safe measures are taken if a malfunction is detected by the windshield wiper switch assembly (wiper ECU) or rain sensor.

      Trouble Area Condition
      Speed Signal Malfunction If a malfunction occurs in the speed signal, control will continue using the speed the vehicle was traveling at before the malfunction occurred.
      Communication Signal Malfunction If a malfunction occurs in the LIN communication signal, control will continue while preserving the same control status that was in effect before the malfunction occurred.
      Rain Sensor Malfunction If a malfunction occurs in the rain sensor, intermittent operation will be conducted in accordance with the position of the auto sensitivity adjustment switch.
      Rain Sensor Temperature Malfunction If the temperature of the rain sensor becomes abnormally high or low, control will be stopped.
      Rain Sensor Low Voltage If the voltage of the power source of the rain sensor becomes low, control will continue while preserving the same control status that was in effect before the malfunction occurred.