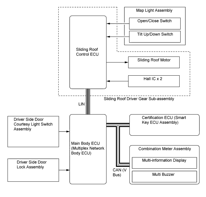
SLIDING ROOF SYSTEM SYSTEM DIAGRAM

A01FP07E01