CLIMATE CONTROL SEAT SYSTEM DETAILS


  1. FUNCTION OF MAIN COMPONENTS


    1. The main components in the climate control seat system have the following functions:

      Components Outline
      Climate Control Seat Switch Operates the front climate control seat system.
      Air Conditioning Amplifier Assembly Operates the climate control blower assembly in accordance with signals from the climate control seat switch.
      Seat Climate Control Blower Assembly Operates in accordance with signals from the air conditioning amplifier assembly.
      Seat Back Climate Control Blower Assembly
  2. FUNCTION


    1. The front climate control seat system effects the functions listed below:

      Components Outline
      Ventilation
      • The climate control seat system is operated by pressing the climate control seat switch. The temperature can be adjusted between 3 stages by pressing the climate control seat switch.

      • When the automatic control function is controlling the climate control seat system, the temperature of the climate control seat system is automatically adjusted in 3 stages according to the outside temperature and front air conditioning target airflow temperature.*


      • *: Models with front seat heater system

  3. CONSTRUCTION


    1. Climate Control Blower


      1. When the user operates the climate control seat switch, the seat back climate control blower and seat climate control blower operate to direct the air that is drawn in from behind the climate control blower to both the seat back and seat cushion pads.

      2. After the air is directed to both the seat back and seat cushion pads, it travels throughout the pads along the grooves that are provided in the pads. Then, the air is discharged through the perforations in the pads.

        A01FP1GE01
        Text in Illustration
        *1 Seat Cushion *2 Seat Back
        *a Airflow - -
    2. Climate Control Seat Switch


      1. The volume indicator light is turned on in response to the usage condition of the climate control seat system while the climate control seat system is being used.

      2. On models with front seat heater system, the indicator light of the climate control seat switch is turned on when the climate control seat system is on.

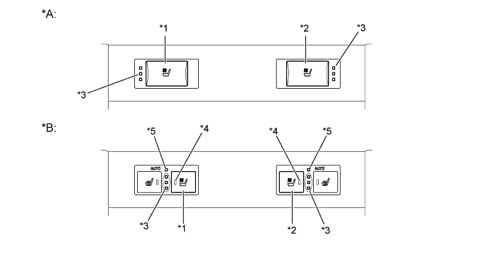
        A01FPPRE01
        Text in Illustration
        *A Models without Front Seat Heater System *B Models with Front Seat Heater System
        *1 Climate Control Seat Switch LH *2 Climate Control Seat Switch RH
        *3 Volume Indicator Light *4 Indicator Light
        *5 Auto Indicator Light - -