| *A | Models with 10-way Power Seat Control System | *B | Models with 16-way or 18-way Power Seat Control System |
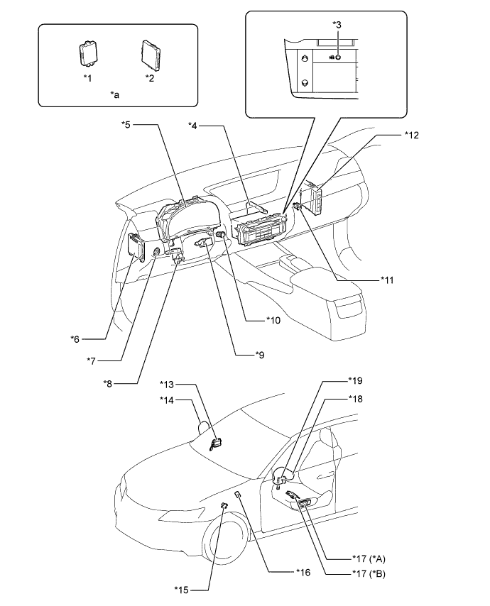
| *1 | ID Code Box (Immobiliser Code ECU) | *2 | Certification ECU (Smart Key ECU Assembly) |
| *3 | Security Indicator Light | *4 | Air Conditioning Amplifier Assembly |
| *5 | Combination Meter Assembly | *6 | Main Body ECU (Multiplex Network Body ECU) |
| *7 | Stop Light Switch Assembly | *8 | Multiplex Tilt and Telescopic ECU |
| *9 | Steering Lock Actuator Assembly | *10 | Power Switch (Push Start Switch) |
| *11 | Luggage Door Opening Cancel Switch Assembly | *12 | Power Management Control ECU |
| *13 | Front Passenger Side Multiplex Network Door ECU | *14 | Front Passenger Side Outer Rear View Mirror Assembly |
| *15 | Shift Lever Position Sensor | *16 | Wireless Door Lock Buzzer |
| *17 | Position Control ECU Assembly | *18 | Driver Side Outer Rear View Mirror Assembly |
| *19 | Driver Side Multiplex Network Door ECU | - | - |
| *a | Refer to the Service Bulletin for the installation of the part. | - | - |
| *A | Models with Power Trunk Lid System | *B | Models without Power Trunk Lid System |
| *1 | Front Door Lock Assembly RH - Door Lock Motor - Door Unlock Detection Switch |
*2 | Front Door Courtesy Light Switch Assembly RH |
| *3 | Front Door Lock Assembly LH - Door Lock Motor - Door Unlock Detection Switch |
*4 | Front Door Courtesy Light Switch Assembly LH |
| *5 | Rear Door Lock Assembly LH - Door Lock Motor - Door Unlock Detection Switch |
*6 | Rear Door Courtesy Light Switch Assembly LH |
| *7 | Luggage Closer Motor Assembly - Multiplex Network Door ECU |
*8 | Luggage Door Closer Assembly - Luggage Door Closer Motor |
| *9 | Luggage Compartment Door Lock Assembly - Luggage Compartment Door Lock Motor |
*10 | Rear Door Courtesy Light Switch Assembly RH |
| *11 | Door Control Receiver | *12 | Rear Door Lock Assembly RH - Door Lock Motor - Door Unlock Detection Switch |
| *1 | Front Outside Door Handle Assembly RH | *2 | No. 1 Indoor Electrical Key Antenna Assembly |
| *3 | Front Outside Door Handle Assembly LH | *4 | Rear Outside Door Handle Assembly LH |
| *5 | No. 2 Indoor Electrical Key Antenna Assembly | *6 | No. 3 Indoor Electrical Key Antenna Assembly |
| *7 | Outside Electrical Key Antenna | *8 | Luggage Electrical Key Switch |
| *9 | Rear Outside Door Handle Assembly RH | - | - |