ДВИГАТЕЛЬ 3UR-FE


  1. Общие сведения


    1. Контур смазки абсолютно герметичен, и все масло проходит через масляный фильтр.

    2. Используется масляный насос с циклоидным ротором.

    3. Используется масляный фильтр со сменным фильтрующим элементом.

    4. Масляный радиатор водяного охлаждения*


      • *: для моделей с масляным радиатором

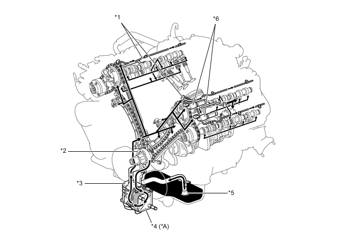
      A01W7X2C02
      *A Для моделей с масляным радиатором - -
      *1 Маслоподводящая трубка (крышки головки блока цилиндров) *2 Масляный насос
      *3 Масляный фильтр *4 Масляный радиатор
      *5 Сетчатый масляный фильтр *6 Гидравлический клапан изменения фаз

      Figure 1. Масляный контур

      A01W7EZE12
  2. Масляный насос


    1. Используется компактный масляный насос с циклоидным ротором, непосредственно приводимый в действие коленчатым валом.

    2. В данном масляном насосе реализован принцип внутренней разгрузки, т.е. сливаемое масло возвращается во всасывающий канал насоса. Целью этого является минимизация изменения уровня масла в масляном поддоне, снижение трения и уменьшение интенсивности смешивания воздуха с маслом.

      A01W748C01
      *1 Крышка цепного привода газораспределительного механизма *2 Крышка масляного насоса
      *3 Ротор масляного насоса (циклоидный ротор) *4 Коленчатый вал
      *a К блоку цилиндров *b Масляный фильтр
      *c Сливаемое масло *d От сетчатого масляного фильтра
  3. Масляная форсунка


    1. В блоке цилиндров, в центрах правого и левого рядов, размещены 4 масляных форсунки, предназначенные для охлаждения и смазки поршней.

    2. В масляных форсунках имеется обратный клапан, предотвращающий подачу масла, когда его давление мало. Это препятствует падению общего давления масла в двигателе.

      A01W7BDC01
      *1 Масляная форсунка *2 Блок цилиндров
      *3 Обратный клапан *4 Масло
      *a Сечение масляной форсунки - -
  4. Масляный фильтр


    1. Используется масляный фильтр со сменным фильтрующим элементом В фильтрующем элементе масляного фильтра применяется высокоэффективная фильтровальная бумага, улучшающая фильтрацию. Кроме того, он является сгораемым, что обеспечивает защиту окружающей среды.

    2. Для снижения массы крышка масляного фильтра изготавливается из пластмассы.

    3. Конструкция масляного фильтра позволяет сливать оставшееся в нем масло. Это предотвращает разбрызгивание масла при замене фильтрующего элемента и дает возможность механику выполнять работы, не вступая в контакт с горячим маслом.

      A01W7ONC01
      *1 Кронштейн масляного фильтра *2 Фильтрующий элемент масляного фильтра
      *3 Кольцевое уплотнение *4 Крышка масляного фильтра
      *5 Пробка сливного отверстия масляного фильтра *6 Сливная трубка
      *a Поперечное сечение *b Во время слива масла

      Tech Tips


      • Чтобы слить масло из масляного фильтра, необходимо снять пробку сливного отверстия масляного фильтра и вставить в масляный фильтр сливную трубку, поставляемую вместе с фильтрующим элементом. Более подробную информацию см. в Руководстве по ремонту.

      • Периодичность замены моторного масла в моделях, снабженных масляным фильтром со сменным фильтрующим элементом, такая же, как в обычных моделях.

  5. Масляный радиатор


    1. Для сдерживания роста температуры масла при буксировке и повышения надежности в двигателе применяется масляный радиатор водяного охлаждения.

    2. Этот масляный радиатор имеет квадратную пластинчатую алюминиевую сердцевину, благодаря которой достигается снижение веса и размеров конструкции, и повышается эффективность охлаждения.

      A01W7YBC01
      *1 Кронштейн масляного фильтра *2 Масляный радиатор
      *a Поток охлаждающей жидкости *b Поток моторного масла