LIGHTING SYSTEM


  1. OUTLINE


    1. Exterior Light


      1. The exterior lights consist of the following:

        A001YSKE02
        Text in Illustration (Front and Side Exterior Lights)
        *1 Side Turn Signal Light Assembly RH *2 Headlight Assembly RH
        *3 Clearance Light / Daytime Running Light (Build in to the Headlight Assembly RH) *4 Front Fog Light Assembly RH
        *5 Front Fog Light Assembly LH *6 Clearance Light / Daytime Running Light (Build in to the Headlight Assembly LH)
        *7 Headlight Assembly LH *8 Side Turn Signal Light Assembly LH
        *9 Footwell Light (Door Mirror Foot Light) - -
        *a The illustration is shown an example only. - -
        A001Z6DE02
        Text in Illustration (Models with Projector Type Headlight Assembly)
        *A Models with Intelligent AFS *B Models without Intelligent AFS
        *1 Front Turn Signal Light Bulb *2 Clearance Light / Daytime Running Light
        *3 Headlight Cover *4 Headlight Light Control ECU Assembly LH
        *5 Headlight Light Control ECU Assembly RH *6 Headlight Swivel Motor Assembly
        *7 Headlight Leveling Motor Assembly - -
        *a Headlight Assembly LH *b Headlight Assembly RH
        *c The illustration is shown the headlight Assembly LH. - -
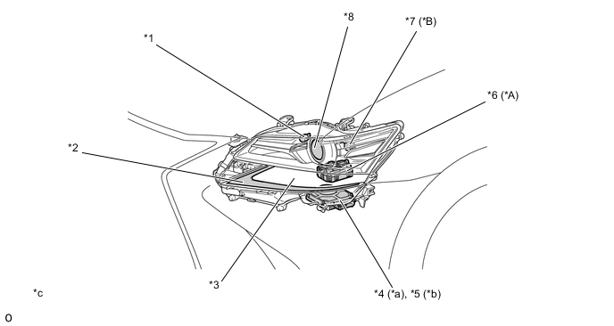
        A001Z24E02
        Text in Illustration (Models with Triple Projector Type Headlight Assembly)
        *A Models with AHS - -
        *1 High Beam Headlight *2 Low Beam Headlight
        *3 Headlight reveling Motor *4 Clearance Light / Daytime Running Light
        *5 LED Light Control ECU *6 Headlight Light Control ECU Assembly LH
        *7 Headlight Light Control ECU Assembly RH *8 Headlight Cover
        *9 Front Turn Signal Light - -
        *a Headlight Assembly LH *b Headlight Assembly RH
        *c The illustration is shown the headlight assembly LH. - -
        A001YUXE02
        Text in Illustration (Rear Exterior Lights)
        *1 Rear Combination Light Assembly LH *2 Rear Light Assembly LH
        *3 License Plate Light Assembly *4 Rear Light Assembly RH
        *5 Rear Combination Light Assembly RH *6 Center Stop Light Assembly
        A001Z9TE02
        Text in Illustration (Rear Combination Light and Rear Light Assembly)
        *A Models with Rear Fog Light - -
        *1 Stop Light *2 Rear Turn Signal Light
        *3 Taillight/Stop Light *4 Rear Fog Light
        *5 Back-up Light - -
    2. Daytime Running Light System


      1. The daytime running light system is designed to automatically illuminate the Light Emitting Diode (LED) lights, during the daytime to keep the vehicle highly visible to other vehicles.

    3. Light Emitting Diode (LED) Headlight System


      1. An LED headlight system, capable of instant illumination and of ensuring a long service life, is used for low beam and high beam headlights.

    4. Intelligent Adaptive Front-lighting System (AFS) (Models with AFS)


      1. An intelligent AFS is used in order to ensure a wide low beam lighting area and provide excellent visibility during turns by moving the low beam.

      2. The intelligent AFS performs medium-to-high speed control and low speed control. In the medium-to-high speed control, the system calculates the target lighting angle based on the steering angle and vehicle speed and changes the swivel angle of the low-beam headlights individually. During the low speed control, the system calculates the target lighting angle based on the steering angle and changes the swivel angle of the low-beam headlight on the side facing into the turn.

        A001YNQE03
        Text in Illustration
        *A Models with Intelligent AFS *B Models without Intelligent AFS
        *a Medium-to-high Speed Control *b Low Speed Control
        *c Lighting Area - -
    5. Automatic High Beam System (Models with Automatic High Beam System)


      1. The automatic high beam system detects lights in front of the vehicle and automatically changes between high beams and low beams to support the driver during night driving.

    6. Adaptive High-beam System (AHS) (Models with AHS)


      1. The Adaptive High-beam System is provided depending on the models.

      2. The Adaptive High-beam System detects lights in front of the vehicle and automatically changes the lighting area to support the driver during night driving.

    7. Automatic Headlight Beam Level Control System


      1. When the hybrid system and headlights are on, the automatic headlight beam level control system operates the headlight swivel motors*1 or headlight leveling monitors*2 in accordance with movement of the vehicle.


        • *1: Models with projector type headlight assembly and intelligent AFS

        • *2: Models with triple projector type headlight assembly or projector type headlight assembly without intelligent AFS

    8. Automatic Light Control System


      1. When the light control switch is in the AUTO position, the automatic light control sensor detects the ambient light level and automatically turns the headlights, taillights, clearance lights and license plate lights on or off accordingly.

      2. This system is controlled by the main body ECU (multiplex network body ECU).

    9. Light Auto Turn-off System


      1. The light auto turn-off system is used to prevent the driver from leaving the vehicle with the headlights, front fog lights, clearance lights, taillights or license plate lights on.

    10. Door Mirror Foot Light System


      1. The door mirror foot light system operates the door mirror lights to ensure visibility when approaching or leaving the vehicle at night.

    11. Emergency Brake Signal (Models with Emergency Brake Signal)


      1. The stop lights flash automatically in the case of emergency braking to alert following drivers, thus helping to reduce rear-end accidents.

    12. Illumination System


      1. The illumination system operates the clearance lights, taillights and license plate lights in conjunction with the locking and unlocking of the doors, ensuring nighttime usebility.

  2. SPECIFICATION

    Light Specifications
    Headlight Assembly (Models with Projector Type Headlight) Low Beam / High Beam LED x 1 14 V 25 W / 30 W
    Clearance Light / Daytime Running Light LED x 15 12V 0.5 W / 13 W
    Front Turn Signal Light Bulb: WY21W 12 V 21 W
    Headlight Assembly (Models with Triple Projector Type Headlight) Low Beam LED x 3 21 V 29 W
    High Beam*1 LED x 3 21 V 29 W
    High Beam*2 LED x 11 39 V 27 W*3
    LED x 1 7V 7.1 W
    Clearance Light / Daytime Running Light LED x 15 12 V 0.5 / 13 W
    Front Turn Signal Light LED x 17 12 V 18 W
    Side Turn Signal Light Assembly LED x 4 12 V 0.3 W
    Front Fog Light Assembly LED x 2 12 V 5.9 W
    Rear Combination Light Assembly Taillight / Stop Light LED x 10*5 12 V 1.5 W / 3.8 W
    Rear Turn Signal Light LED x 9 12 V 7 W
    Rear Light Assembly Taillight / Stop Light LED x 2 12 V 1.0 W / 1.1 W
    Back-up Lights LED x 3 12 V 1.5 W
    Rear Fog Light*4 LED x 3 12 V 1.1 W
    License Plate Light Assembly LED x 1 6 V 0.3 W x 2 (12 V 0.6 W)
    Center Stop Light Assembly LED x 6 12 V 2.0 W
    Footwell Light (Door Mirror Foot Light) Bulb: W5W 12 V 5 W

    • *1: Models without Adaptive High-beam System (AHS)

    • *2: Models with Adaptive High-beam System (AHS)

    • *3: The wattage of the headlight has been variable depending on the Adaptive High-beam System (AHS) control.

    • *4: Models with rear fog light

    • *5: When the taillight is illuminated, 6 LEDs are used.

  3. PRECAUTION


    1. Automatic High Beam System


      1. The automatic high beam system helps ensure visibility by automatically turning the high beams on and off.

      2. However, due to control limitations of the automatic high beam system, it may be necessary to manually turn the high beams on and off. When driving, for safety reasons, make sure to change the high beams and low beams manually in accordance with the driving conditions.

      3. Under the following conditions, the automatic high beam system might not detect other vehicles or lights correctly, or the high beams might cause glare or flash pedestrians or the occupants of other vehicles. Manual operation should be used.

        Factor Condition
        Weather/Climate
        • When driving in bad weather (rain, snow, fog, sandstorms, etc.).

        • When the temperature in the cabin is high.

        Windshield Glass
        • When the windshield glass is not clear (ice, snow or front on the glass).

        • When the windshield glass is dirty (sand, mud, water stains or bugs on the glass)

        • When the windshield glass is cracked.

        • When the windshield glass is fogged up.

        • When an object on the instrument panel reflects off of the windshield glass.

        • When any other abnormal conditions exist with the windshield glass.

        Forward Reception Camera
        • When a parking tag, magnifying lens or other accessory is mounted on the forward recognition camera.

        • When the forward recognition camera is deformed.

        • When the forward recognition camera is dirty.

        • When any other abnormal conditions exist with the forward recognition camera.

        Nearby Vehicles or Lights
        • When lights similar to headlights or taillights are in the vicinity of the vehicle

        • When a nearby vehicle has no lights or its lights are off.

        • When a vehicle in front has misaligned lights, or its lights are changing color.

        • When a vehicle in front has extremely dirty headlights or taillights.

        Road Conditions
        • When driving in an area where the conditions often change between bright and dark.

        • When driving on a road with many uphill and downhill slopes.

        • When driving on a winding road or around a sharp curve.

        • When driving on a bumpy road (cobblestone pavement, gravel road, rough unpaved road, etc.)

        • When highly reflective objects are in front of the vehicle (mirrors, road signs, etc.).

        Own Vehicle
        • When the headlights are damaged, deformed or dirty.

        • When the vehicle posture is abnormal (posture has changed due to the vehicle being fully loaded, a trailer being towed, road conditions etc.).

        • When the vehicle has other malfunctions or when the vehicle has been modified.

        Automatic High Beam (AHB)

        Malfunction:


        • When the automatic high beam indicator light on the combination meter assembly is off or is blinking,

        Others:


        • When the Automatic High Beam (AHB) system does not seem to be changing between the hi beams and lo beams properly.

        • When the automatic high beam system does not seem to be changing between the high beams and low beams promptly.

        • When the glare from the hi beams would disturb pedestrians or the drivers of other vehicles.

    2. Adaptive High-beam System (AHS)


      1. The Adaptive High-beam System (AHS) is a system that helps ensure visibility by automatically switching between the lo beam, hi beam and variable shade beam.

      2. However, due to control limitations of the Adaptive High-beam System (AHS), it may be necessary to manually switch hi beams on and off. When driving, for safety reasons, make sure to switch the high beams and lo beams manually in accordance with the driving conditions.

      3. Under the following conditions, the Adaptive High-beam System (AHS) might not detect other vehicles or lights correctly. Manual operation should be considered.

        Factor Condition
        Weather/Climate
        • When driving in bad weather (rain, snow, fog, sandstorms, etc.).

        • When the temperature in the cabin is high.

        • When the taillights of the preceding vehicle are not visible on snow covered roads due to kicked-up snow, etc.

        Windshield Glass
        • When the windshield glass is not clear (ice, snow or frost on the glass).

        • When the windshield glass is dirty (sand, mud, water stains or bugs on the glass)

        • When the windshield glass is cracked.

        • When the windshield glass is fogged up.

        • When the windshield glass has a film attached.

        • When an object on the instrument panel reflects off of the windshield glass.

        • When any other abnormal conditions exist with the windshield glass.

        Forward Recognition Camera
        • When a parking tag, magnifying lens or other accessory is mounted on the forward recognition camera.

        • When the forward recognition camera is deformed.

        • When the forward recognition camera is dirty.

        • When any other abnormal conditions exist with the forward recognition camera.

        Nearby Vehicles or Lights
        • When lights similar to headlights or taillights are in the vicinity of the vehicle

        • When a nearby vehicle has no lights or its lights are off.

        • When a vehicle in front has misaligned lights, or its lights are changing color.

        • When a vehicle in front has extremely dirty headlights or taillights.

        Road Conditions
        • When driving in an area where the conditions often change between bright and dark.

        • When driving on a road with many uphill and downhill slopes.

        • When driving on a winding road or around a sharp curve.

        • When highly reflective objects are in front of the vehicle (mirrors, road signs, etc.).

        Vehicle Conditions
        • When the headlights are damaged, deformed or dirty.

        • When the vehicle posture is abnormal due to a flat tire (or posture has changed due to the vehicle being fully loaded, a trailer being towed etc.).

        • When the vehicle has other malfunctions or if the vehicle has been modified.

        Adaptive High-beam System

        Malfunction:


        • When "Headlight System Malfunction" is displayed on the multi-information display in the combination meter

        Others:


        • When the Adaptive High-beam System (AHS) does not seem to be changing between the hi beams and lo beams properly.

        • When the headlight mode switching timing of the Adaptive High-beam System (AHS) and the changes in the variable shade areas seem abnormal or change frequently.

        • When the glare from the hi beams would disturb pedestrians or the drivers of other vehicles.