BLIND SPOT MONITOR SYSTEM


  1. OUTLINE


    1. Models for Europe, the blind spot monitor system performs 2 functions using the same blind spot monitor sensors: blind spot monitor function and rear crossing traffic alert (RCTA) function.

    2. Except models for Europe, the blind spot monitor system performs 2 functions using the same blind spot monitor sensors: blind spot monitor function and rear cross traffic alert (RCTA) function*.


      • *: Models with RCTA function

    3. The blind spot monitor function and RCTA function can be enabled or disabled simultaneously using the blind spot monitor main switch. It is not possible to enable or disable either of them independently.

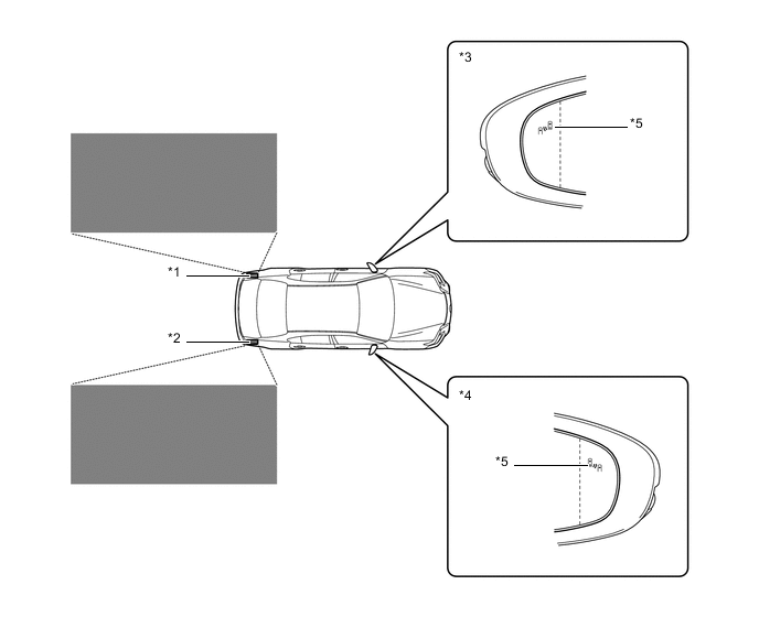
    4. The blind spot monitor system consists of the 2 blind spot monitor sensors, outer rear view mirror assembly LH and RH, RCTA buzzer and combination meter assembly.

    5. The blind spot monitor function uses sensors to detect vehicles that are traveling in the vehicle's blind spot, helping the driver to confirm safety when changing lanes.

      A001Z1ZE01
      Text in Illustration
      *1 Blind Spot Monitor Sensor LH *2 Blind Spot Monitor Sensor RH
      *3 Outer Rear View Mirror Assembly LH *4 Outer Rear View Mirror Assembly RH
      *5 Outer Rear View Mirror Indicator Light - -
      B002AYA Detection Area - -
    6. If the RCTA function detects a vehicle in the rear side direction while the driver is reversing in a parking lot, the function alerts the driver by sounding the RCTA buzzer and flashing the outer rear view mirror indicator lights to provide information for the driver, supporting decision making.

      A001YLOE03
      Text in Illustration
      *a This Vehicle *b Target Vehicle
      B002AYA Detection Area - -
  2. PRECAUTION


    1. The blind spot monitor function may not detect vehicles correctly in the following conditions:


      1. During bad weather such as heavy rain, fog, snow, etc.

      2. When there is a significant difference in speed between this vehicle and the vehicle that enters the detection area.

      3. When a vehicle is in the detection area from a stop and remains in the detection area as this vehicle accelerates.

      4. When driving up or down steep inclines, such as hills, a dip in the road, etc.

      5. When multiple vehicles approach with only a small gap between each vehicle.

      6. When vehicle lanes are wide, and the vehicle in the next lane is too far away from this vehicle.

      7. When the vehicle that enters the detection area is traveling at about the same speed as this vehicle.

      8. When there is a significant difference in height between this vehicle and the vehicle that enters the detection area.

      9. When driving on a road surface that is wet due to rain, standing water, etc.

      10. When ice, mud, etc. is attached to the rear bumper.

      11. Directly after the blind spot monitor main switch is turned on.

      12. When items such as bicycle carrier are installed on the rear of the vehicle.

        Tech Tips

        In this section, the expression "this vehicle" is used to refer to the vehicle equipped with this blind spot monitor system.

    2. The blind spot monitor function is not designed to detect the following types of vehicles or objects:


      1. Vehicles traveling from the opposite direction.

      2. Small motorcycles, bicycles, pedestrians, etc.*

      3. Following vehicles that are in the same lane.*

      4. Guardrails, walls, signs, parked vehicles and similar stationary objects.*

      5. Vehicles driving 2 lanes across from this vehicle.

        *: Depending on conditions, detection of a vehicle and/or object may occur.

    3. Instances of the blind spot monitor function unnecessarily detecting a vehicle and/or object may increase under the following conditions:


      1. When there is only a short distance between this vehicle and a guardrail, wall, etc.

      2. When vehicle lanes are narrow and a vehicle driving 2 lanes across from this vehicle enters the detection area.

      3. When there is only a short distance between this vehicle and a following vehicle.

        Tech Tips

        In this section, the expression "this vehicle" is used to refer to the vehicle equipped with this blind spot monitor system.

    4. One blind spot monitor sensor is installed inside the left and right side of the vehicle rear bumper respectively. Observe the following to ensure the blind spot monitor system can function correctly.


      1. Keep the sensor and its surrounding area on the bumper clean at all times.

      2. Do not subject the sensor or surrounding area on the bumper to a strong impact. If the sensor moves even slightly off position, the system may malfunction and vehicles that enter the detection area may not be detected. If the sensor or surrounding area has been subjected to a strong impact, inspect the sensor and surrounding area.

      3. Do not disassemble the sensor.

      4. Do not attach accessories or stickers to the sensor or surrounding area on the bumper.

      5. Do not modify the sensor or surrounding area on the bumper.

      6. Do not paint the sensor or surrounding area on the bumper.

      7. Do not apply strong impacts to the sensor or drop it, as it is a high-precision device.

      8. Do not reuse a sensor that has been dropped or subjected to a strong impact.

    5. The RCTA function may not detect vehicles correctly in the following conditions:*


      • *: Models with RCTA function


      1. During bad weather such as heavy rain, fog, snow, etc.

      2. When a vehicle is approaching at high speed.

      3. When multiple vehicles approach continuously.

      4. When a parking on a steep incline, such as hills, a dip in the road etc.

      5. Vehicles that the sensors cannot detect because of obstacles.

      6. Shallow angle parking.

      7. When ice, mud, etc. is attached to the rear bumper.

      8. Directly after the blind spot monitor main switch is turned on.

    6. The RCTA function is not designed to detect the following types of vehicles or objects:*1


      1. Vehicles approaching from directly behind

      2. Small motorcycles, bicycles, pedestrians, etc.*2

      3. Vehicles moving away from this vehicle*2

      4. Guardrails, walls, signs, parked vehicles and similar stationary objects*2

      5. Vehicles that enter the detection range from a parking space next to this vehicle*2


        • *1: Models with RCTA function

        • *2: Depending on conditions, detection of a vehicle and/or object may occur.

        Tech Tips

        In this section, the expression "this vehicle" is used to refer to the vehicle equipped with this blind spot monitor system.

    7. Instances of the RCTA function unnecessarily detecting a vehicle and/or object may increase under the following condition:*


      • *: Models with RCTA function


      1. When backing this vehicle into a parking space that faces a road, the function may detect vehicles driving on the road.

        Tech Tips

        In this section, the expression "this vehicle" is used to refer to the vehicle equipped with this blind spot monitor system.

    8. Under the following condition, the blind spot monitor system may store DTCs C1AC1 and C1AC2 by mistake:


      1. The vehicle is driven continuously with the blind spot monitor main switch on when using a drum tester such as a speedometer tester, brake/ speedometer combination tester or chassis dynamometer.