POWER STEERING SYSTEM

A001YSFE01
Text in Illustration
*A Models with LDH System *B Models with Lane-keeping Assist System or Lane Departure Alert System
*1 Power Steering ECU Assembly *2 ECM
*3 Front Speed Sensor RH *4 Power Steering Link Assembly
*5 Front Speed Sensor LH *6 Skid Control ECU Assembly
*7 Rear Speed Sensor LH *8 Auxiliary Battery
*9 Rear Steering Control ECU *10 Rear Speed Sensor RH
*11 Forward Recognition Camera - -
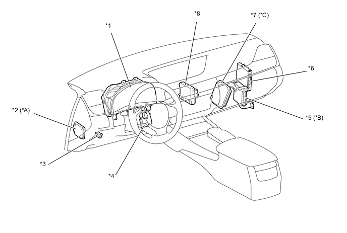
A001ZATE01
Text in Illustration
*A Models with Lane-keeping Assist System or Lane Departure Alert System *B Models with AVS
*C Models with LDH System - -
*1

Combination Meter Assembly


  • Power Steering Warning Light

  • Multi-information Display

  • Master Warning Light

*2 Driving Support ECU Assembly
*3 DLC3 *4 Steering Sensor
*5 Absorber Control ECU *6 Power Management Control ECU
*7 Front Steering Control ECU *8 Air Conditioning Amplifier Assembly