КОНСТРУКЦИЯ КУЗОВА


  1. ФУНКЦИИ


    1. Конструкция, амортизирующая удар при лобовом столкновении


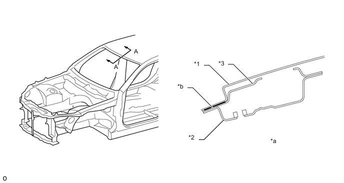
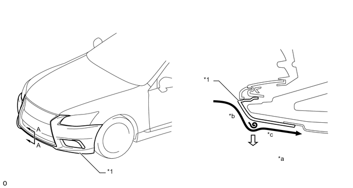
      1. Применяемая конструкция обеспечивает эффективное поглощение энергии удара, распределяет удар и минимизирует деформацию салона при лобовом столкновении. В данной конструкции используются высокоэффективные коробки поглощения удара (усиление опоры переднего бампера в сборе), передние боковые защитные брусья (внутренний передний боковой защитный брус в сборе) и задний лонжерон рамы для защиты от столкновения, при этом передние стойки и внутренние усиления передних дверей изготавливаются из листовой стали сверхвысокой прочности.


        • Большое усиление переднего бампера эффективно распределяет энергию удара, передавая ее на правый и левый передние боковые защитные брусья.

        • На передних концах передних боковых защитных брусьев размещены высокоэффективные коробки поглощения удара, изготовленные из алюминия методом выдавливания. Эти защитные коробки ослабляют удар, действующий на передние боковые защитные брусья, и минимизируют деформацию кузова при незначительном столкновении.

        • Конструкция переднего бокового защитного бруса, показанная на рисунке (сечение A - A), характеризуется высокой прочностью и превосходной способностью поглощать энергию удара.

        • На переднюю раму в сборе установлен задний лонжерон рамы для защиты от столкновения, который распределяет удар при столкновении и обеспечивает высокий уровень защиты.

        • Усиление наружной панели передней двери является еще одним конструктивным решением, способствующим распределению энергии удара при непрямом лобовом столкновении. Оно обеспечивает передачу энергии удара и уменьшает нагрузку на стойки ветрового стекла. Верхнее наружное усиление передней стойки кузова и внутреннее усиление передней двери № 1 изготавливаются из стали высокой прочности.

        • Передние части порогов автомобиля выступают вперед. Принимая удар от передних колес при непрямом лобовом столкновении, они поглощают энергию удара, минимизируя деформацию кузова вокруг салона.

        A000MG3E03
        Обозначения на рисунке
        *1 Усиление опоры переднего бампера в сборе *2 Усилитель переднего бампера
        *3 Нижний подрамник передней подвески *4 Передний боковой внутренний защитный брус в сборе
        *5 Задний лонжерон рамы *6 Передняя рама в сборе
        *7 Усиление наружной панели передней двери *8 Внутреннее усиление передней двери № 1
        *9 Верхнее наружное усиление стойки ветрового стекла *10 Наружная пластина переднего бокового защитного бруса
        *11 Распорный элемент усиления элемента передней подвески № 1 *12 Передний внутренний боковой защитный брус
        *a Сечение A - A *b Сечение B - B
        *c Зона поглощения энергии *d Передний выступ порога
        A000M4P Ударная энергия при фронтальном столкновении A000MO2 Энергия удара при лобовом столкновении со стороны передних колес
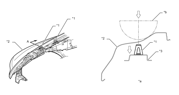
    2. Конструкция, амортизирующая удар при боковом столкновении


      1. Оптимальная конструкция кузова обеспечивает эффективную передачу энергии удара при столкновении в периферийные зоны (например, от центральной стойки кузова на усиления крыши, усиления порогов, боковые поперечины пола и другие детали). Благодаря этому гарантируется целостность внутреннего пространства салона и существенно уменьшается деформация кузова.


        • Внутреннее усиление средней стойки кузова изготавливается из листовой стали сверхвысокой прочности (класса 980 МПа), а усиление крепления ремня безопасности к средней стойке кузова и верхнее усиление средней стойки кузова – из листовой стали высокой прочности (классов 590/440 МПа), что обуславливает компактность, легкость и высокую прочность конструкции средней стойки (сечение A - A).

        • Внутренний боковой брус крыши соединяется с усилением крыши с использованием шарнирного соединения. При столкновении, когда сминается боковой брус крыши, это соединение действует как ось вращения. В результате удар передается на усиление крыши в "выгодном" осевом направлении, что позволяет снизить деформацию кузова (сечение B - B).

        • В порогах оптимальным образом размещены перегородки (усиление панели порога № 6, усиление панели порога № 2 и наружное усиление панели порога), которые способствуют эффективной передаче энергии удара от средней стойки поперечинам пола (поперечине переднего пола и боковой поперечине переднего пола) и переднему днищу центрального пола.

        A000M7RE03
        Обозначения на рисунке
        *1 Усиление панели крыши *2 Усилитель средней стойки
        *3 Усиление порога *4 Поперечина пола
        *5 Верхнее усиление средней стойки кузова *6 Усиление крепления ремня безопасности к средней стойке кузова
        *7 Внутреннее усиление средней стойки кузова *8 Внутренний боковой брус крыши в сборе
        *9 Усиление панели порога № 6 *10 Усиление панели порога № 2
        *11 Усиление наружной панели порога *12 Поперечина переднего пола
        *13 Боковая поперечина переднего пола *14 Переднее днище центрального пола
        *a Сечение A - A *b Сечение B - B (до столкновения)
        *c Сечение B - B (после столкновения) *d Шарнирное соединение
        *e Аксиальный удар *f Деформация
        A000MO2 Ударная энергия при боковом столкновении A000M4P Распределение энергии удара

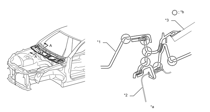
        • Внутрь дверей устанавливаются энергопоглощающие подушки (нижняя облицовочная накладка двери), которые поглощают энергию удара при боковом столкновении. Кроме того, каркасы подушек сидений укреплены трубками, а над туннелем пола добавлена крышка трансмиссии. Это позволило использовать сиденья как элементы конструкции, минимизирующие деформацию кузова при боковом столкновении.

          A000MAGE03
          Обозначения на рисунке
          *1 Крышка трансмиссии *2 Труба сиденья
          *3 Нижняя облицовочная накладка двери - -
          A000MO2 Ударная энергия при боковом столкновении A000M4P Энергия удара, передаваемая при боковом столкновении
        • Применена конструкция для защиты головы от удара. Она действует следующим образом: если в результате столкновения пешеход ударяется головой о стойку или боковой брус крыши, внутренние панели бокового бруса крыши, сама крыша и стойка сминаются, смягчая удар.

          A000MO4
          Обозначения на рисунке
          A000M71 Конструкция для защиты головы от удара - -
    3. Сопротивление крыши смятию


      1. Части панели кузова над ветровым стеклом, передней стойки кузова, бокового бруса крыши и средней стойки кузова изготавливаются из листовой стали высокой прочности, что гарантирует высокую прочность крыши благодаря технологиям упрочнения – таким, как оптимизации толщины листа. Как следствие, обеспечивается защита пассажиров при переворачивании автомобиля.

        A000M9UE03
        Обозначения на рисунке
        *1 Наружная панель кузова над ветровым стеклом *2 Внутренняя панель кузова над ветровым стеклом
        *3 Верхнее внутреннее усиление передней стойки кузова *4 Внутренняя передняя стойка кузова
        *5 Боковая панель кожуха *6 Внутренний боковой брус крыши
        *7 Внутренний боковой брус крыши № 2 *8 Внутренняя средняя стойка кузова
        *9 Усиление крепления ремня безопасности к средней стойке кузова *10 Верхнее наружное усиление стойки ветрового стекла
        *11 Боковая наружная панель *12 Наружный боковой брус крыши
        *13 Верхнее усиление средней стойки кузова *14 Панель крыши
        *15 Внутреннее усиление средней стойки кузова - -
        *a Сечение A - A *b Сечение B - B
        *c Сечение C - C *d Сечение D - D
        *e Сечение E - E - -
        A000MKG Листовая сталь сверхвысокой прочности (класс 980 МПа) A000M71 Листовая сталь высокой прочности (класс 590 МПа)
        A000M4Y Листовая сталь высокой прочности (класс 440 МПа) - -
    4. Ослабление травмы головы пешехода


      1. Чтобы снизить тяжесть травм пешехода в случае столкновения с ним, используется кузов, обеспечивающий ослабление травм пешеходов. По краю капота и верхней панели кожуха применяется ударопоглощающая конструкция кузова, которая ослабляет удар, действующий на голову и другие части тела пешехода.


        • Внутренняя панель капота имеет защитную волновую конструкцию с уступами. Полости, имеющие оптимальную высоту и размещенные оптимальным образом, повышают степень поглощения энергии удара, благодаря чему обеспечивается защита пешехода при столкновении (сечения A - A и B - B).

        • В передней и задней частях панели капота оптимальным образом размещены усиления. Когда во время столкновения пешеход ударяется об автомобиль, эта конструкция распределяет удар по широкой площади. Таким образом, обеспечивается защита пешехода (сечения C - C и D - D).

          A000MGYE05
          Обозначения на рисунке
          *1 Капот *2 Усиление панели капота
          *3 Панель капота *4 Усиление замка капота
          *5 Внутренняя панель капота *6 Усиление внутренней панели капота
          *7 Вентиляционная решетка в верхней части кожуха в сборе *8 Внутренняя верхняя панель кожуха
          *9 Кронштейн крепления электродвигателя стеклоочистителя № 1 - -
          *a Сечение A - A *b Сечение B - B
          *c Сечение C - C *d Сечение D - D
          *e Высота полости *f Уступ
          *g Малая полость *h Большая полость
          *i Зона вероятного удара головой ребенка *j Зона вероятного удара головой взрослого человека
        • В местах стыков передних крыльев устанавливаются амортизирующие скобы (косынка фартука крыла). Деформируясь при ударе головой, они обеспечивают ослабление удара.

          A000M5XE04
          Обозначения на рисунке
          *1 Косынка фартука крыла *2 Панель переднего крыла
          *3 Верхний боковой защитный брус между передним фартуком и капотом - -
          *a Сечение A - A *b Контур головы
          A000MO2 Удар - -
        • За счет оптимизации формы кузова в задней части кожуха и использования усилений удалось не только повысить жесткость кузова, но и обеспечить поглощение энергии удара. Таким образом, гарантируется надлежащая защита пешехода.

          A000MRIE03
          Обозначения на рисунке
          *1 Капот *2 Вентиляционная решетка в верхней части кожуха в сборе
          *3 Внутренняя верхняя панель кожуха *4 Ветровое стекло
          *a Сечение A - A *b Контур головы (до столкновения)
          *c Контур головы (после столкновения) *d Зона деформации
          *e Задняя стенка кожуха - -
        • В зоне соединения вентиляционной решетки в верхней части кожуха (которая обладает относительно высокой жесткостью) с защитным элементом вентиляционной решетки в верхней части кожуха предусмотрены тонкостенные части, ослабляющие удар при деформации. За счет этого удалось повысить однородность жесткости решетки кожуха и обеспечить надлежащее поглощение энергии удара.

          A000MJXE03
          Обозначения на рисунке
          *1 Защитный элемент вентиляционной решетки в верхней части кожуха *2 Вентиляционная решетка в верхней части кожуха
          *3 Ветровое стекло - -
          *a Сечение A - A *b Тонкостенная часть (точка деформации)
    5. Ослабление травмы ног пешехода


      1. Для снижения степени тяжести травм пешехода в случае столкновения с ним используется кузов, обеспечивающий ослабление травм пешеходов. По краю переднего бампера применяется ударопоглощающая конструкция, что позволило создать кузов, который ослабляет ударное воздействие на ноги пешехода и т.п.


        • За счет оптимизации формы, плотности вспененного материала и расположения переднего поглотителя энергии удара и переднего нижнего поглотителя энергии удара ослабляется ущерб, наносимый ногам пешеходов в случае столкновения.

          A000MHKE02
          Обозначения на рисунке
          *1 Передний поглотитель энергии удара *2 Передний нижний поглотитель энергии удара
          *a Сечение A - A - -
    6. Аэродинамика


      1. В переднем подкрылке предусмотрен зазор. В результате поток воздуха в колесных арках проходит вдоль шин, что делает его плавным. Кроме того, имеется зазор с наружной стороны автомобиля, который дает возможность воздушному потоку, выходящему из колесной арки, следовать за воздушным потоком, движущимся мимо боковой стороны бампера. В результате ослабляется завихрение вокруг шин и, как следствие, обеспечивается превосходная курсовая устойчивость.

        A000M1EE03
        Обозначения на рисунке
        *1 Передний подкрылок *2 Панель переднего крыла
        *3 По шинам *4 Облицовка переднего бампера
        *a Вид A *b Сечение B - B
        *c Сечение C - C *d Конструкция с канавкой (зазором)
        *e Воздушный поток, выходящий из колесной арки *f Воздушный поток, проходящий вдоль шины
        *g Зазор, расположенный с наружной стороны автомобиля *h Воздушный поток в колесной арке
        *i Воздушный поток, движущийся мимо боковой стороны бампера - -
      2. Нижний конец облицовки переднего бампера опущен для регулирования объема воздуха, движущегося под пол кузова. В результате подъемная сила снижается, что обеспечивает превосходную устойчивость во время маневров.

      3. Облицовка переднего бампера имеет конструкцию, которая позволяет воздуху плавно обтекать боковую сторону бампера и обеспечивает отвод воздушного потока от края арки колеса со стороны бампера, благодаря чему снижается аэродинамическое сопротивление.

        A000M86E03
        Обозначения на рисунке
        *1 Облицовка переднего бампера *2 По шинам
        *a Сечение A - A *b Сечение B - B
        *c Воздушный поток, направленный к днищу *d Нижний край, ориентированный вниз
        *e Плавный поток воздуха, движущийся мимо боковой стороны бампера *f Воздух, покидающий край облицовки бампера
      4. Форма нижнего края облицовки бампера рассчитана так, чтобы воздушный поток, поступающий к нижней стороне облицовки переднего бампера, сначала отводился от нее, а затем возвращался к облицовке переднего бампера. При таком движении воздуха создается сильное отрицательное давление, которое прижимает кузов автомобиля к поверхности дороги. В результате шины также прижимаются к дорожной поверхности, и их контакт с ней усиливается, что обеспечивает превосходную курсовую устойчивость.

        A000MD6E03
        Обозначения на рисунке
        *1 Облицовка переднего бампера - -
        *a Сечение A - A *b Воздушный поток, отходящий от облицовки переднего бампера
        *c Воздушный поток, возвращающийся к облицовке переднего бампера - -
        A000M4P Поток воздуха A000MO2 Сильное отрицательное давление
      5. На верхней накладке передней нижней рамы передней двери размещено ребро аэродинамической стабилизации, где используется технология улучшения аэродинамики, называемая вихрегенератором. В воздушном потоке специально создаются небольшие завихрения, которые давят на автомобиль с левой и правой сторон, тем самым обеспечивая превосходную курсовую устойчивость.

        A000MHAE02
        Обозначения на рисунке
        *1 Верхняя накладка передней нижней рамы передней двери - -
        *a Стабилизирующее ребро *b Создаваемые завихрения
        A000M4P Поток воздуха - -
      6. Поверхность рассеивателя заднего блока фонарей в сборе имеет форму, вызывающую выброс воздуха. Форма, вызывающая выброс воздуха, срезает воздушный поток и направляет его назад, подавляя завихрения, при этом аэродинамическое сопротивление снижается за счет регулировки воздушного потока, которая обеспечивает его сглаживание.

      7. На поверхности рассеивателя заднего блока фонарей в сборе также размещено ребро аэродинамической стабилизации, где используется технология улучшения аэродинамики, называемая вихрегенератором. В воздушном потоке специально создаются небольшие завихрения, которые давят на автомобиль с левой и правой сторон, тем самым обеспечивая превосходную курсовую устойчивость.

        A000MMVE03
        Обозначения на рисунке
        *1 Задний блок фонарей в сборе - -
        *a Сечение A - A *b Форма, вызывающая выброс воздуха
        *c Срезанный воздушный поток *d Стабилизирующее ребро
        *e Поток воздуха *f Создаваемые завихрения
      8. Под днищем кузова размещены различные детали, регулирующие направление воздушного потока, при этом для уплощения днища используются нижние крышки, которые обеспечивают превосходные аэродинамические характеристики. Некоторые нижние крышки изготавливаются из алюминия с применением звукопоглощающего материала, что обеспечивает снижение уровня шума, сокращение расхода топлива и курсовую устойчивость автомобиля.

      9. На защите картера двигателя № 1, основном уплотнении переднего крыла и подкузовной панели пола № 1 размещено ребро аэродинамической стабилизации, которое регулирует движение воздуха, сглаживая воздушный поток, поступающий спереди автомобиля и проходящий под днище. Плавный поток воздуха вблизи нижней поверхности автомобиля повышает скорость воздушного потока, при этом между автомобилем и поверхностью дороги создается зона низкого давления (эффект Вентури). Эта зона низкого давления создает прижимную силу, тем самым прижимая автомобиль к дорожной поверхности. В результате достигается превосходная устойчивость при прямолинейном движении.

        A000MIVE03
        Обозначения на рисунке
        *1 Защита картера двигателя № 1 *2 Передний подкрылок
        *3 Накладка удлинителя отверстия переднего колеса *4 Основное уплотнение переднего крыла
        *5 Панель переднего пола *6 Накладка бокового защитного бруса заднего пола
        *7 Защитный элемент опоры дифференциала № 1 *8 Подкузовная панель пола № 1
        *9 Нижняя защита элемента передней подвески *10 Защита картера двигателя № 2
        *a Ребро аэродинамической стабилизации - -
        A000MO2 Поток воздуха A000M4P Высокоскоростной воздушный поток
  2. КОНСТРУКЦИЯ


    1. Легкий кузов повышенной жесткости


      1. Исключительная жесткость и легкость кузова обеспечиваются за счет применения стали высокой и сверхвысокой прочности. Сталь сверхвысокой прочности примерно в 1,3 раза прочнее обычной стали высокой прочности.

        A000MJ6
        Обозначения на рисунке
        A000M71 Сталь сверхвысокой прочности A000M4Y Сталь высокой прочности
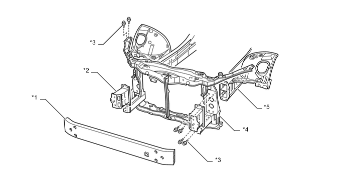
      2. Капот в сборе, усиление опоры переднего бампера в сборе, усиление переднего бампера, нижний подрамник передней подвески, задний лонжерон рамы, передняя рама в сборе, усиление кронштейна заднего бампера и часть усиления заднего бампера № 1 для снижения веса изготавливаются из стали, содержащей алюминий. Использование алюминия вместо стали позволило уменьшить массу передней рамы в сборе на 30% и капота двигателя на 45%.

        A000MIFE01
        Обозначения на рисунке
        *1 Капот *2 Усиление опоры переднего бампера в сборе
        *3 Усилитель переднего бампера *4 Нижний подрамник передней подвески
        *5 Задний лонжерон рамы *6 Передняя рама в сборе
        *7 Усилитель кронштейна заднего бампера *8 Усилитель заднего бампера №1
        A000M71 Сталь, содержащая алюминий - -
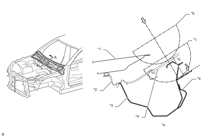
      3. Панель кожуха в сборе снабжена внутренним усилением в верхней части кожуха. Передний щиток в сборе снабжен скобой между передним щитком и кожухом, усилением правой подножки и усилением левой подножки. Кроме того, усилена поперечина пола № 3 в сборе. Эти меры способствуют улучшению крутильной жесткости кузова и курсовой устойчивости автомобиля.

        A000M85E02
        Обозначения на рисунке
        *1 Внутреннее усиление в верхней части кожуха *2 Передний щиток в сборе
        *3 Усиление левой подножки *4 Скоба соединения панели приборов с кожухом
        *5 Усиление правой подножки *6 Поперечина пола № 3 в сборе
      4. В дополнение к обычной точечной сварке для крепления части панели кузова над ветровым стеклом и части задней панели днища кузова используется адгезионное средство. В результате удалось повысить прочность соединения, что обеспечивает исключительный комфорт во время движения и превосходную курсовую устойчивость.

        A000M9PE03
        Обозначения на рисунке
        *1 Панель крыши *2 Внутренняя панель кузова над ветровым стеклом
        *3 Наружная панель кузова над ветровым стеклом - -
        *a Сечение A - A *b Клейкое вещество
        A000MJ7E04
        Обозначения на рисунке
        *1 Наружный удлинитель заднего пола в сборе *2 Нижняя задняя панель кузова
        *3 Усиление задней панели днища № 2 - -
        *a Сечение A - A *b Клейкое вещество
      5. На переднем щитке и внутренней верхней панели кожуха активно используется точечная сварка, что гарантирует превосходную устойчивость при маневрировании за счет увеличения жесткости соединения панелей.

        A000MPWE03
        Обозначения на рисунке
        *1 Внутренняя верхняя панель кожуха *2 Передний щиток
        *a Сечение A - A *b Место точечной сварки
      6. В дополнение к обычной структуре панелей пола для крепления панели пола, переднего щитка и поперечины используется адгезионное средство и сварка. В результате удалось повысить прочность соединения, что обеспечивает исключительный комфорт во время движения и превосходную курсовую устойчивость.

        A000MDGE03
        Обозначения на рисунке
        *a Место точечной сварки *b Клейкое вещество
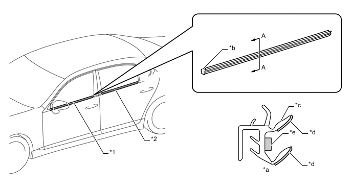
      7. Между местами точечной сварки на части проема двери используется винтовая лазерная сварка (LSW), что обеспечивает исключительный комфорт во время движения.

        A000M3NE03
        Обозначения на рисунке
        *a Участок A *b Участок B
        *c Винтовая лазерная сварка *d Точечная сварка
      8. Перегородка кузова изготавливается из стальных листов переменной толщины, скрепленных лазерной сваркой, благодаря чему обеспечивается увеличение крутильной жесткости при минимальном увеличении веса.

        A000M44E01
        Обозначения на рисунке
        *1 Разделительную панель салона в сборе *2 Задняя верхняя панель в сборе
        *a Швы лазерной сварки *b Тоньше
        *c Толще *d Граница
      9. В основании V-образной канавки на разделительной панели салона в сборе размещена усиленная панель (усиление разделительной панели салона), которая ограничивает деформацию из-за действия вертикально направленной силы, передаваемой с левой и правой подвесок. В результате достигается превосходная курсовая устойчивость (а также обеспечиваются исключительная управляемость и ощущение прижимного усилия на задних колесах).

        A000MM0E03
        Обозначения на рисунке
        *1 Усиление разделительной панели салона *2 Разделительную панель салона в сборе
        *a Участок A *b Сечение B - B
        *c V-образная канавка - -
      10. Для укрепления каркаса кузова также применяются крупные левый/правый наружные кронштейны опоры передних сидений и передний подкос пола, что обеспечивает исключительный комфорт во время движения.

      11. Предусмотрены передний центральный подкос пола в сборе и элемент задней подвески в сборе. Кроме того, на модели F SPORT предусмотрены левый/правый нижние упоры элемента задней подвески, которые соединяют переднюю монтажную поверхность элемента задней подвески в сборе с передним боковым защитным брусом заднего пола. Эти детали придают жесткость местам установки подвески и способствуют улучшению курсовой устойчивости.

      12. Особенностью конструкции является соединение алюминиевой защиты LWR элемента передней подвески с передней поперечиной.

        A000MN1E03
        Обозначения на рисунке
        *A Для комплектации "F SPORT" - -
        *1 Передняя поперечина в сборе *2 Нижняя защита элемента передней подвески
        *3 Левый наружный кронштейн опоры передних сидений *4 Правый наружный кронштейн опоры передних сидений
        *5 Передний центральный подкос пола в сборе *6 Левый нижний фиксатор элемента задней подвески
        *7 Правый нижний фиксатор элемента задней подвески *8 Элемент задней подвески в сборе
        *9 Передний боковой защитный брус заднего пола - -
      13. В зоне стыка между боковым защитным брусом заднего пола в сборе и усилением заднего бампера № 1 добавлена панель усиления (усиление задней панели днища № 2), которая ограничивает деформацию кручения кузова из-за действия вертикально направленной силы, передаваемой с левой и правой подвесок. Кроме того, увеличена толщина шайбы болта, который соединяет усиление заднего бампера № 1, чтобы ослабить деформацию сдвига и повысить прочность соединения между кузовом и усилением заднего бампера № 1. В результате достигается превосходная курсовая устойчивость (а также обеспечиваются исключительная управляемость и ощущение прижимного усилия на задних колесах).

        A000MN5E02
        Обозначения на рисунке
        *1 Усилитель заднего бампера №1 *2 Соединительный болт усиления заднего бампера № 1
        *3 Нижняя задняя панель кузова *4 Усиление задней панели днища № 2
        *5 Боковой защитный брус заднего пола в сборе *6 Облицовка заднего бампера
        *7 Стеклоомыватель - -
        *a Участок A *b Сечение B - B
        *c Участок C *d Толщина шайбы
    2. Cтальной лист с антикоррозионным покрытием


      1. В местах, показанных на рисунке ниже, используются стальные листы с антикоррозионным покрытием и сталь, содержащая алюминий.

        A000MER
        Обозначения на рисунке
        A000M4Y Сталь, содержащая алюминий A000M71 Cтальной лист с антикоррозионным покрытием
    3. Нанесение антигравийного покрытия и антикоррозионные свойства


      1. На колесные арки и другие части, подверженные сколам от ударов гравия, наносится покрытие из поливинилхлорида (ПВХ), что повышает коррозионную стойкость этих участков.

      2. На колесные арки и другие части, подверженные сколам от ударов гравия, наносится покрытие из поливинилхлорида (ПВХ), что повышает коррозионную стойкость этих участков.

        A000MB4E01
        Обозначения на рисунке
        *a Герметизация кромок *b Участки нанесения грунтовки (толстый слой (влажный))
        *c Участки нанесения грунтовки (обычный слой) *d Участки нанесения грунтовки (тонкий слой)
        *e Участки нанесения грунтовки (толстый слой) *f Участки нанесения грунтовки (обычный слой (влажный))
        *g Фартук *h Арка правого заднего колеса
        *i Арка левого заднего колеса - -
      3. Края нижних частей дверей, дверные петли и петля топливной крышки для повышения стойкости к коррозии покрыты воском. На окантовку дверных панелей и двери багажного отделения нанесен герметик.

        A000M6IE02
        Обозначения на рисунке
        *1 Петля капота в сборе *2 Нижняя петля передней двери в сборе
        *3 Нижняя петля задней двери в сборе *4 Панель капота
        *5 Внутренняя панель капота *6 Внутренняя панель передней двери
        *7 Наружная панель передней двери *8 Внутренняя панель задней двери
        *9 Наружная панель задней двери - -
        *a Сечение A - A *b Сечение B - B
        *c Сечение C - C *d Воск
    4. Материалы, поглощающие вибрацию и шум


      1. Для снижения шума двигателя и дорожного шума применяются изолятор переднего щитка в сборе, наружный изолятор переднего щитка, изолятор капота и шумоизолятор защиты картера двигателя (шумоизолятор защиты картера двигателя № 5 и правый задний шумоизолятор защиты картера двигателя) большого размера, которые обеспечивают тишину в салоне.

      2. В защите картера двигателя № 1, панели переднего пола и переднем теплозащитном экране пола № 2 в сборе применены звукопоглощающие материалы, что обеспечивает практически бесшумную работу на холостом ходу и в любых условиях езды.

      3. Чтобы максимально ослабить дорожные шумы и шумы от гравия и воды, внутрь арок передних колес помещены подкрылки из полиэтиленовой пластмассы, оптимальным образом закрытые полипропиленовым (PP) и полиэфирным войлочным материалом. На арки задних колес устанавливаются пластмассовые подкрылки из бутадиенстирольного каучука (SBR) и полиэтилентерефталата (PET), которые оптимальным образом закрываются войлочным материалом на основе PET.

      4. Для снижения шума ветра промежуточная пленка многослойного ветрового стекла изготавливается из материала, обеспечивающего хорошее звукопоглощение.

        A000MPGE03
        Обозначения на рисунке
        *1 Звукоизоляция капота *2 Наружная звукоизоляция переднего щитка
        *3 Изолятор переднего щитка в сборе *4 Ветровое стекло
        *5 Задний шумоизолятор защиты картера двигателя *6 Защита картера двигателя № 1
        *7 Правый задний шумоизолятор защиты картера двигателя *8 Передний подкрылок
        *9 Передний теплозащитный экран пола № 2 в сборе *10 Панель переднего пола
        *11 Подкрылок арки заднего колеса - -
        *a Сечение A - A *b Пленка
      5. На широкой площади изолятора переднего щитке в сборе используется уретан, а зазоры всех отверстий заполнены, что ослабляет проникновение шума двигателя и дорожного шума в салон, обеспечивая исключительную тишину.

      6. Изолятор переднего щитка № 3 и изолятор переднего щитка № 2 покрыты звукопоглощающим войлоком, что ослабляет проникновение шума двигателя и дорожного шума в салон, обеспечивая исключительную тишину.

        A000MLNE04
        Обозначения на рисунке
        *1 Изолятор переднего щитка в сборе *2 Изолятор переднего щитка № 3
        *3 Изолятор переднего щитка № 2 - -
        *a Сечение A - A *b Конструкция с заполнением зазоров
        A000M71 Уретан - -
      7. Подкрылок арки переднего колеса снабжается шумопоглощающим материалом, благодаря чему ослабляются дорожный шум и шум, создаваемый отлетающими частицами песка и каплями воды.

        A000M76E02
        Обозначения на рисунке
        *1 Передний подкрылок - -
        A000M71 Шумопоглощающий материал - -
      8. Подкрылок арки заднего колеса снабжается шумопоглощающим материалом, благодаря чему ослабляются дорожный шум и шум, создаваемый отлетающими частицами песка и каплями воды.

        A000MGSE03
        Обозначения на рисунке
        *1 Подкрылок арки заднего колеса - -
        A000M71 Шумопоглощающий материал - -
      9. На верхней поверхности панели кожуха в сборе используется губчатый материал (подушка панели приборов № 1), который ослабляет проникновение шума двигателя в салон, обеспечивая исключительную тишину.

        A000M2SE04
        Обозначения на рисунке
        *1 Панель кожуха в сборе *2 Подушка панели приборов № 1
        *3 Ветровое стекло *4 Внутренняя верхняя панель кожуха
        *5 Передний щиток *6 Подкладка стойки № 5
        *7 Скоба соединения панели приборов с кожухом *8 Внутреннее усиление в верхней части кожуха
        *a Сечение A - A - -
      10. В целях уменьшения дорожного шума, шума двигателя и гудения в салоне панель пола покрыта шумоизолятором.

        A000M26E01
        Обозначения на рисунке
        *A для моделей с правосторонним рулевым управлением *B Для моделей с левосторонним рулевым управлением
        *C Для моделей со стандартным кузовом *D Для моделей с длинным кузовом
        A000M71 Толевый лист A000M4Y Материал, поглощающий вибрацию
      11. Профиль рамы кузова заполнен звукоизоляционными материалами, которые ослабляют различные шумы, проникающие в салон автомобиля снаружи.

        A000MFPE03
        Обозначения на рисунке
        *1 Панель крыши *2 Шумоизолятор крыши № 1
        *3 Наружная панель кузова над ветровым стеклом *4 Задний шумоизолятор крыши
        *5 Внутренняя панель кузова над ветровым стеклом *6 Боковая наружная панель
        *7 Подкладка стойки № 2 *8 Подкладка левой стойки № 1
        *9 Внутренняя передняя стойка кузова *10 Верхнее наружное усиление стойки ветрового стекла
        *11 Подкладка правой стойки № 1 *12 Наружный боковой брус крыши
        *13 Внутренний боковой брус крыши № 2 *14 Наружный боковой брус крыши № 2
        *15 Внутреннее усиление средней стойки кузова *16 Верхнее усиление средней стойки кузова
        *17 Подкладка стойки № 4 *18 Внутренняя средняя стойка кузова
        *19 Уплотнение задней колесной арки *20 Наружная панель задней колесной арки
        *21 Передняя косынка задней колесной арки - -
        *a Сечение A - A *b Сечение B - B
        *c Сечение C - C *d Сечение D - D
        *e Сечение E - E - -
        A000M4Y Вспененные материалы A000MFG Материалы, поглощающие вибрацию и шум
      12. Оптимизирована изоляция салона звукоизолирующими и звукопоглощающими материалами, что обеспечивает тишину во время движения.

        A000MLLE02
        Обозначения на рисунке
        *A Для моделей с обычной крышей *B Для моделей с системой люка
        *1 Обивка крыши *2 Передний шумоизолятор крыши
        *3 Шумоизолятор крыши *4 Передний щиток в сборе
        *5 Изолятор переднего щитка № 3 в сборе *6 Изолятор переднего щитка № 2 в сборе
        *7 Шумоизолирующая накладка центрального пола *8 Передний коврик переднего пола в сборе
        *9 Обивка стойки ветрового стекла *10 Панель облицовки передней двери в сборе
        *11 Нижняя облицовочная накладка средней стойки кузова *12 Панель облицовки задней двери в сборе
        *13 Внутренняя боковая облицовка крыши *14 Шумоизолятор переднего пола
        *15 Задний шумоизолятор центрального пола *16 Шумоизолятор заднего пола № 1
        *17 Разделительная подкладка салона № 3 *18 Разделительную панель салона в сборе
        *19 Передняя облицовочная накладка багажного отделения *20 Облицовочная накладка багажного отделения в сборе
        *21 Напольный коврик багажного отделения в сборе *22 Накладка облицовки двери багажного отделения
        *23 Центральный шумоизолятор крыши - -
      13. Толщина уплотняющего губчатого материала, используемого на центральных удлинительных планках № 1 и № 2 между полом и подкосом, оптимизирована для подавления шума, проникающего в салон с задней части автомобиля. В результате обеспечивается исключительная тишина.

        A000M1OE03
        Обозначения на рисунке
        *1 Центральная удлинительная планка № 1 между полом и подкосом *2 Центральная удлинительная планка № 2 между полом и подкосом
        *3 Разделительную панель салона в сборе - -
        *a Сечение A - A *b Уплотняющий губчатый материал
      14. На крышке технологического отверстия задней двери применен звукопоглощающий материал, который ослабляет проникновение шума в салон, обеспечивая превосходные показатели по шуму и вибрации.

        A000MR2E03
        Обозначения на рисунке
        *A Для моделей без занавески правой задней двери в сборе *B Для моделей с занавеской правой задней двери в сборе
        *1 Панель задней двери в сборе *2 Крышка технологического отверстия задней двери
      15. Решетка радиатора сконструирована так, чтобы не допустить попадания воздушного потока внутрь ребра, в результате чего ослабляется кавитационный шум (шум, создаваемый воздухом, проходящим через полости).

      16. Нижняя поверхность ребра нижней решетки радиатора имеет пилообразную форму, что обеспечивает ослабление кавитационного шума за счет срыва воздушного потока.

        A000MFZE04
        Обозначения на рисунке
        *1 Решетка радиатора *2 Нижняя решетка радиатора № 1
        *a Сечение A - A *b Вид B
        *c Пилообразная форма - -
        A000M4P Поток воздуха - -
      17. Турбулентность воздуха устраняется за счет оптимизации формы защитного элемента решетки радиатора (сечение A - A) и применения уплотнения между капотом и передним крылом (сечение B - B).

      18. Над ветровым стеклом для минимизации смещения и заполнения расстояния между ветровым стеклом и крышей помещен двусторонний молдинг. Он способствует устранению турбулентности воздуха и шума ветра (сечение C - C).

      19. Материал уплотнителя передней двери очень стоек к износу и поэтому слабо подвергается механическому старению. Для снижения шума ветра опорная поверхность направляющей оконного стекла снабжена выступом (сечение D - D).

        A000MJEE05
        Обозначения на рисунке
        *1 Панель капота *2 Защитный элемент решетки радиатора
        *3 Молдинг решетки радиатора *4 Панель переднего крыла
        *5 Уплотнение между капотом и передним крылом *6 Нижняя боковая панель переднего крыла
        *7 Верхняя защита переднего крыла *8 Панель крыши
        *9 Ветровое стекло *10 Наружный молдинг ветрового стекла
        *11 Боковая наружная панель *12 Внутренняя передняя стойка кузова
        *13 Верхнее наружное усиление стойки ветрового стекла *14 Уплотнитель передней двери
        *15 Выступ - -
        *a Сечение A - A *b Сечение B - B
        *c Сечение C - C *d Сечение D - D
      20. Между панелью переднего крыла и наружной боковой панелью размещена защита боковой панели переднего крыла, которая препятствует продуванию воздуха. Кроме того, между панелью переднего крыла и наружной панелью передней двери используется уплотнитель передней двери № 3, что позволяет исключить воздушную турбулентность. (сечение A - A).

      21. Между наружной панелью передней двери и наружной панелью задней двери устанавливается уплотнитель задней двери № 2, что также исключает воздушную турбулентность (сечение B -B).

      22. С верхней стороны поперечины окна предусмотрен чехол, который блокирует воздушный поток и обеспечивает снижение шума ветра (сечение C - C).

        A000M2RE04
        Обозначения на рисунке
        *1 Панель переднего крыла *2 Защита боковой панели переднего крыла
        *3 Боковая наружная панель *4 Внутренняя панель передней двери
        *5 Уплотнитель передней двери № 3 *6 Наружная панель передней двери
        *7 Уплотнитель задней двери № 2 *8 Внутренняя панель задней двери
        *9 Наружная панель задней двери *10 Молдинг ремня задней двери
        *11 Поперечина окна *12 Пробка
        *a Сечение A - A *b Сечение B - B
        *c Сечение C - C - -
      23. Центральный боковой водосточный желобок вдоль боковой кромки крыши на конце имеет гребневидную форму. Это обеспечивает сглаживание воздушного потока, движущегося назад вдоль ветрового стекла, благодаря чему ослабляется шум ветра. Кроме того, была увеличена ширина нижней части передней стойки кузова (боковой наружной панели). Как следствие, поток, который не проходит назад, а движется вбок, получил возможность плавно обтекать переднюю стойку кузова, тем самым ослабляя шум ветра.

        A000M7CE03
        Обозначения на рисунке
        *1 Центральный боковой водосточный желобок вдоль боковой кромки крыши *2 Ветровое стекло
        *3 Боковая наружная панель - -
        *a Участок A *b Сечение A - A (вид из салона)
        A000MHQ Поток воздуха, движущийся назад A000M4P Поток воздуха, движущийся вбок
      24. Для уплотнения низа двери используется уплотнитель передней двери № 3. Под поясной линией заднего уплотнителя имеются 2 выступа. Благодаря этим особенностям шумное дребезжание двери при ее закрывании заменяется глухим звуком.

        A000MJZE04
        Обозначения на рисунке
        *1 Наружная панель передней двери *2 Наружный молдинг передней двери в сборе
        *3 Уплотнитель передней двери № 3 *4 Наружная панель задней двери
        *5 Уплотнитель задней двери № 2 - -
        *a Сечение A - A *b Сечение B - B
        *c Сечение C - C *d Выступ
      25. Уплотняющий губчатый материал с передней и задней сторон внутреннего уплотнителя стекла передней двери и внутреннего уплотнителя стекла задней двери оптимизирован, электростатическая бархатная отделка стала более мелкой, а между кромками помещен звукопоглощающий материал, благодаря чему снижается уровень шума ветра и ослабляется проникновение шума в салон.

        A000M3GE03
        Обозначения на рисунке
        *1 Внутренний уплотнитель стекла передней двери *2 Внутренний уплотнитель стекла задней двери
        *a Сечение A - A *b Уплотняющий губчатый материал
        *c Выступ *d Электростатическая бархатная отделка
        *e Звукопоглощающий материал - -
    5. Запасные части для экономичного ремонта


      1. Детали (усиление переднего бампера, коробки поглощения удара (усиление опоры переднего бампера в сборе) и кронштейн радиатора в сборе), расположенные перед передними концами внутренних передних боковых защитных брусьев в сборе, закреплены болтами, что снижает стоимость ремонта передней части автомобиля в случае незначительного столкновения.

        A000MRLE02
        Обозначения на рисунке
        *1 Усилитель переднего бампера *2 Усиление опоры переднего бампера в сборе
        *3 Болт *4 Кронштейн радиатора в сборе
        *5 Передний боковой внутренний защитный брус в сборе - -
      2. На заднем бампере предусмотрен задний поглотитель энергии удара. Кронштейнам бампера в сечении придана сминаемая форма, что способствует эффективному поглощению энергии удара. Такое конструктивное решение позволило ослабить удар, действующий на кузов, и снизить стоимость ремонта в случае незначительного столкновения.

        A000M51E02
        Обозначения на рисунке
        *1 Нижняя задняя панель кузова *2 Усилитель кронштейна заднего бампера
        *3 Усилитель заднего бампера *4 Задний поглотитель энергии удара