| *A | для системы электропривода сиденья со стороны водителя | *B | для системы электропривода сиденья со стороны переднего пассажира |
| *C | для моделей с функцией регулировки положения опоры поясницы | *D | для моделей с подставкой для ног |
| *E | для моделей с переключателем электропривода сиденья | - | - |
| *1 | Регулятор подголовника переднего сиденья | *2 | Регулятор опоры поясницы в сборе (вверх/вниз) |
| *3 | Регулятор опоры поясницы в сборе (вперед/назад) | *4 | Электродвигатель подъема сиденья в сборе |
| *5 | Электродвигатель привода сиденья в сборе | *6 | Электродвигатель наклона сиденья в сборе |
| *7 | Электродвигатель продольного перемещения сиденья в сборе | *8 | Электродвигатель наклона сиденья в сборе |
| *9 | Переключатель электропривода переднего сиденья | *10 | Переключатель регулировки длины подушки сиденья |
| *11 | - Переключатель продольного перемещения сиденья - Переключатель вертикального перемещения передней части - Переключатель подъема сиденья |
*12 | - Переключатель наклона сиденья - Переключатель регулировки высоты подголовника |
| *13 | Переключатель электропривода опоры поясницы | *14 | Регулятор подголовника переднего сиденья |
| *15 | Регулятор опоры поясницы в сборе (вперед/назад) | *16 | Электродвигатель наклона сиденья в сборе |
| *17 | Электродвигатель продольного перемещения сиденья в сборе | *18 | Электродвигатель наклона сиденья в сборе |
| *19 | Электродвигатель подъема сиденья в сборе | *20 | Переключатель электропривода переднего сиденья |
| *21 | Переключатель подставки для ног | *22 | Переключатель электропривода сиденья в сборе |
| *23 | Переключатель наклона сиденья | *24 | Переключатель продольного перемещения сиденья |
| *25 | Электродвигатель подставки для ног | - | - |
| *1 | Регулятор подголовника правого заднего сиденья в сборе | *2 | ЭБУ управления положением правого заднего сиденья в сборе |
| *3 | Регулятор угла наклона правого заднего сиденья в сборе | *4 | Регулятор опоры поясницы правого заднего сиденья в сборе |
| *5 | Регулятор заднего сиденья № 1 в сборе | *6 | Переключатель электропривода заднего сиденья |
| *7 | Регулятор заднего сиденья № 2 в сборе | *8 | Регулятор опоры поясницы левого заднего сиденья в сборе |
| *9 | ЭБУ управления положением левого заднего сиденья в сборе | *10 | Регулятор подголовника левого заднего сиденья в сборе |
| *11 | Регулятор угла наклона левого заднего сиденья в сборе | *12 | Переключатель левого тазового упора |
| *13 | Переключатель правого тазового упора | *14 | Переключатель наклона сиденья |
| *15 | Переключатель продольного перемещения сиденья | *16 | Переключатель подплечника |
| *17 | Переключатель электропривода подставки для ног | *18 | Переключатель выбора заднего сиденья |
| *19 | Переключатель полного перемещения вперед сиденья переднего пассажира | *20 | Переключатель автоматического полного перемещения вперед сиденья переднего пассажира |
| *21 | Переключатель подголовника заднего сиденья | - | - |
| *A | для моделей с подставкой для ног на заднем сиденье | *B | для моделей без подставки для ног на заднем сиденье |
| *1 | Регулятор опоры поясницы правого заднего сиденья в сборе | *2 | Регулятор подголовника правого заднего сиденья в сборе |
| *3 | ЭБУ управления положением правого заднего сиденья в сборе | *4 | Регулятор угла наклона правого заднего сиденья в сборе |
| *5 | Регулятор заднего сиденья № 1 в сборе | *6 | Переключатель электропривода заднего сиденья |
| *7 | Регулятор заднего сиденья № 2 в сборе | *8 | Регулятор опоры поясницы левого заднего сиденья в сборе |
| *9 | Регулятор угла наклона левого заднего сиденья в сборе | *10 | ЭБУ управления положением левого заднего сиденья в сборе |
| *11 | Регулятор подголовника левого заднего сиденья в сборе | *12 | Пульт управления вибрацией левого сиденья |
| *13 | Переключатель левого тазового упора | *14 | Пульт управления вибрацией правого сиденья |
| *15 | Переключатель правого тазового упора | *16 | Переключатель наклона заднего сиденья |
| *17 | Переключатель продольного перемещения заднего сиденья | *18 | Переключатель выбора заднего сиденья |
| *19 | Переключатель регулировки высоты подголовника заднего сиденья | *20 | Переключатель электропривода подплечника заднего сиденья |
| *21 | Переключатель электропривода подставки для ног | *22 | Переключатель полного перемещения вперед сиденья переднего пассажира |
| *23 | Переключатель автоматического полного перемещения вперед сиденья переднего пассажира | - | - |
| *A | для моделей с функцией сохранения положения сиденья переднего пассажира | *B | Для моделей с электроприводом задних сидений |
| *1 | Регулятор плечевого крепления ремня безопасности правого переднего сиденья в сборе | *2 | Переключатель электропривода правого переднего сиденья |
| *3 | Переключатель запоминающего устройства правого переднего сиденья | *4 | Переключатель правого переднего крепления, регулируемого по высоте |
| *5 | ЭБУ правой передней двери сети мультиплексной связи | *6 | ЭБУ гибридной системы |
| *7 | ECM | *8 | Датчик положения рычага переключения передач |
| *9 | ЭБУ левой передней двери сети мультиплексной связи | *10 | Переключатель левого переднего крепления, регулируемого по высоте |
| *11 | Переключатель электропривода левого переднего сиденья | *12 | Переключатель запоминающего устройства левого переднего сиденья |
| *13 | Переключатель запоминающего устройства левого заднего сиденья | *14 | ЭБУ левой задней двери сети мультиплексной связи |
| *15 | ЭБУ заднего распределительного блока (распределительный блок багажного отделения в сборе) | *16 | Регулятор плечевого крепления ремня безопасности левого переднего сиденья в сборе |
| *17 | ЭБУ правой задней двери сети мультиплексной связи | *18 | Переключатель запоминающего устройства правого заднего сиденья |
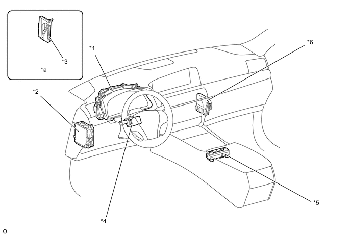
| *1 | Щиток приборов в сборе | *2 | Главный ЭБУ кузова (распределительный блок со стороны водителя) |
| *3 | ЭБУ сертификации (ЭБУ электронного ключа зажигания в сборе) | *4 | Мультиплексный ЭБУ регулировки наклона и телескопического изменения высоты |
| *5 | Интегрированная панель управления в сборе | *6 | Блок управления системой кондиционирования |
| *a | указания по установке детали см. в бюллетене технического обслуживания. | - | - |