СИСТЕМА ОБРАБОТКИ И ПЕРЕДАЧИ ИНФОРМАЦИИ*

Figure 1. Для моделей с поддержкой системы G-BOOK

A000M3QE02
Обозначения на рисунке
*1 Лампа индивидуального освещения в сборе *2 Микрофон телефона в сборе
*3 Индикатор (зеленый) *4 Индикатор (красный)
*5 Переключатель телефона в сборе *6 Телефонная антенна в сборе
*7 Компонентный стереоусилитель в сборе *8 Антенна системы навигации в сборе
*9 Многофункциональный дисплей (вспомогательный индикатор в сборе) *10 Щиток приборов в сборе
*11 Приемник мультимедийного модуля в сборе *12 Центральный блок управления системы SRS
*13 Сенсорный пульт дистанционного управления *14 Приемопередатчик системы обработки и передачи информации (DCM)
*15 Правый передний динамик № 2 в сборе - -

Figure 2. для моделей с системой ЭРА-ГЛОНАСС 1

A000M50E01
Обозначения на рисунке
*1 Микрофон телефона в сборе *2 Зеленый индикатор ручного выключателя (SOS)
*3 Красный индикатор ручного выключателя (SOS) *4 Ручной выключатель (SOS)
*5 Телефонная антенна в сборе *6 Компонентный стереоусилитель в сборе

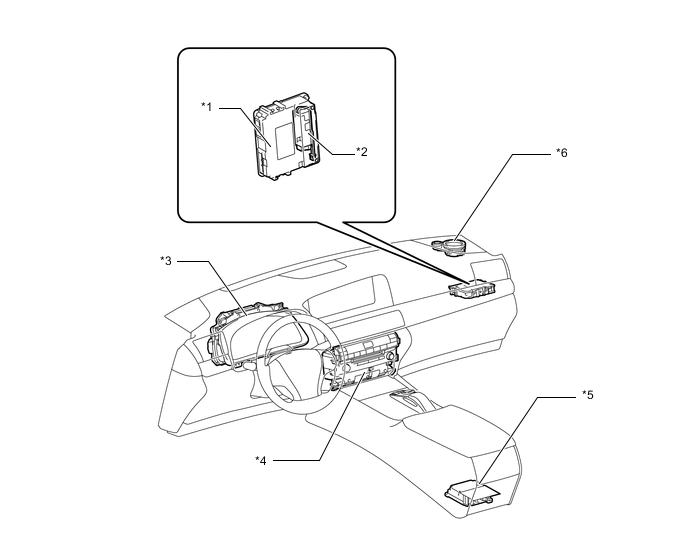
Figure 3. для моделей с системой ЭРА-ГЛОНАСС 2

A000MFQE01
Обозначения на рисунке
*1 Приемопередатчик системы обработки и передачи информации (DCM) *2 Аккумуляторная батарея мобильного телефона (запасная аккумуляторная батарея)
*3 Щиток приборов в сборе *4 Приемник мультимедийного модуля в сборе
*5 Центральный блок управления системы SRS *6 Правый передний динамик № 2 в сборе