| *A | для моделей с 19 динамиками | *B | Для моделей для Европы или моделей в комплектации для Австралии |
| *C | Для 4-местных моделей с развлекательно-информационной системой для задних пассажиров (RSE) с подставкой для ног | *D | Для 5-местных моделей с развлекательно-информационной системой для задних пассажиров (RSE) без подставки для ног |
| *1 | Лампа индивидуального освещения в сборе - Микрофон телефона в сборе |
*2 | Передний динамик № 3 в сборе |
| *3 | Левый передний динамик № 2 в сборе | *4 | Левый передний динамик № 1 в сборе |
| *5 | Левый задний динамик № 3 в сборе | *6 | Левый задний динамик № 2 в сборе |
| *7 | Левый задний динамик в сборе | *8 | Левый задний головной динамик в сборе |
| *9 | Антенна усилителя в сборе | *10 | Правый задний динамик № 2 в сборе |
| *11 | Компонентный стереофонический динамик в сборе | *12 | Компонентный стереоусилитель в сборе |
| *13 | Селектор многофункционального дисплея | *14 | Правый задний головной динамик в сборе |
| *15 | Антенна в оконном стекле | *16 | Правый задний динамик в сборе |
| *17 | Правый задний динамик № 3 в сборе | *18 | Телефонная антенна в сборе |
| *19 | Телевизионный дисплей в сборе | *20 | Правый передний динамик № 1 в сборе |
| *21 | Правый передний динамик № 2 в сборе | - | - |
| *A | Для 5-местных моделей с развлекательно-информационной системой для задних пассажиров (RSE) без подставки для ног | *B | Для 5-местных моделей с развлекательно-информационной системой для задних пассажиров (RSE) с подставкой для ног |
| *C | для моделей с приемопередатчиком системы обработки и передачи и информации (DCM) | - | - |
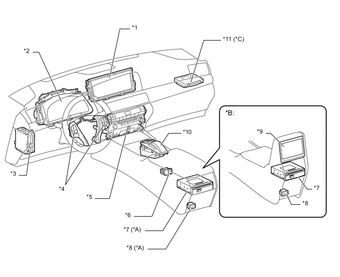
| *1 | Многофункциональный дисплей (вспомогательный индикатор в сборе) | *2 | Щиток приборов в сборе |
| *3 | Главный ЭБУ кузова (распределительный блок со стороны водителя) | *4 | Переключатель на рулевом колесе в сборе |
| *5 | Приемник мультимедийного модуля в сборе | *6 | Переходник стереогнезда № 1 в сборе |
| *7 | Проигрыватель компакт-дисков в сборе | *8 | Видеовыход (переходник видеовыхода) |
| *9 | Телевизионный дисплей в сборе | *10 | Сенсорный пульт дистанционного управления |
| *11 | Приемопередатчик системы обработки и передачи информации (DCM) | - | - |
| *A | Для 4-местных моделей | *B | Для 5-местных моделей |
| *C | Для моделей с задней аудиосистемой | *D | для моделей с развлекательно-информационной системой для задних пассажиров (RSE) |
| *1 | Переключатель электропривода заднего сиденья (переключатель управления аудиосистемой) | *2 | Видеовыход (переходник видеовыхода) |
| *3 | Проигрыватель компакт-дисков в сборе | - | - |