СИСТЕМА ДИФФЕРЕНЦИАЛОВ


  1. КОНСТРУКЦИЯ


    1. Передний дифференциал


      1. В качестве подшипника ведущей шестерни переднего дифференциала применяется двухрядный конический роликовый подшипник, благодаря чему достигается снижение потерь на трение, и, как следствие, уменьшается расход топлива.

      2. Осевая линия ведущей шестерни переднего дифференциала смещена и располагается ниже центра коронной шестерни, благодаря чему она не выступает в салон. Это помогает создать дополнительное пространство в салоне.

        A000MASE02
        Обозначения на рисунке
        *1 Ведущая шестерня переднего дифференциала *2 Коронная шестерня
        *a Центр коронной шестерни *b Смещение
    2. Задний дифференциал


      1. В качестве подшипника ведущей шестерни заднего дифференциала применяется двухрядный конический роликовый подшипник, благодаря чему достигается снижение потерь на трение, и, как следствие, уменьшается расход топлива.

        A000MMLE03
        Обозначения на рисунке
        *1 Ведущая шестерня заднего дифференциала *2 Коронная шестерня
        *a Легкая чашка *b Механизм преднатяга
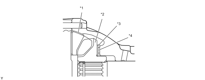
    3. Механизм преднатяга


      1. Механизм преднатяга имеет конструкцию, в которой между полуосевой шестерней и шайбой полуосевой шестерни устанавливается коническая винтовая пружина, вследствие чего между шестерней и шайбой создается преднатяг. Соответственно, когда нагрузка и разность частот вращения малы, предельное уравновешивание левого и правого колес может быть достигнуто за счет трения, производимого скользящими деталями в диапазоне усилий конической винтовой пружины.

        A000MDOE02
        Обозначения на рисунке
        *1 Шайба сателлита *2 Полуосевая шестерня
        *3 Коническая винтовая пружина *4 Шайба полуосевой шестерни
    4. Опора дифференциала


      1. Используется сдвоенная амортизирующая конструкция, в которой дифференциал монтируется на элементе подвески с применением резиновых опор.

      2. Задний дифференциал закрепляется на элементе подвески в 4 точках: 2 спереди и 2 сзади.

      3. В качестве правой задней опоры дифференциала используется опора с жидкостным наполнением, что обеспечивает ослабление вибраций и шума.

        A000MB2E02
        Обозначения на рисунке
        *a Сечение A - A *b Сечение B - B
        *c Сечение C - C - -
        A000M4Y Жидкость (незамерзающая) A000MFG Резина