БЛОК ДВИГАТЕЛЯ


  1. ОПИСАНИЕ


    1. 2UR-FSE представляет собой 8-цилиндровый 32-клапанный двигатель с рабочим объемом 5,0 литра и двумя верхними распределительными валами. В двигателе используется двойная система VVT- i (электронная система изменения фаз газораспределения), которая оптимизирует фазы газораспределения с помощью электродвигателя, приводящего в движение распредвал впускных клапанов, и давления моторного масла, которое используется для управления распредвалом выпускных клапанов. Кроме этого, в двигателе применяется система непосредственного впрыска 4-тактного бензинового двигателя модификации "Superior" (D-4S), в которой совмещены система непосредственного впрыска и система впрыска во впускные каналы, система зажигания с индивидуальными катушками (DIS), система впуска с переменной геометрией (ACIS) и интеллектуальная электронная система управления дроссельной заслонкой (ETCS-i). Эти функции управления обеспечивают лучшие рабочие характеристики двигателя, бесшумность, экономию топлива и снижение выброса токсичных продуктов.

      A000MBC
  2. ТЕХНИЧЕСКИЕ ХАРАКТЕРИСТИКИ

    Количество и расположение и их расположение 8 цилиндров, V-образное расположение
    Клапанный механизм 32-клапанный с двумя верхними распределительными валами и цепным приводом (с двойной системой VVT-i)
    Камера сгорания Шатровая
    Коллекторы С поперечным потоком
    Топливная система Система последовательного распределенного впрыска топлива (SFI) D-4S
    Система зажигания Система зажигания с индивидуальными катушками (DIS)
    Рабочий объем

    4969 см3(303,2 куб. дюйм.)

    Диаметр цилиндра x ход поршня 94,0 мм x 89,5 мм (3,70 дюйма x 3,52 дюйма)
    Степень сжатия 11,8 : 1
    Макс. мощность [ЕЭК] 290 кВт при 6400 об/мин
    Макс. крутящий момент [ЕЭК] 520 Н*м при 4000 об/мин
    Фазы газораспределения № цилиндров #4, #5, #7, #8 #1, #2, #3, #6
    Впуск Открывание (до ВМТ) -33° - 22° -29° - 26°
    Закрывание (после НМТ) 101° - 46° 97° - 42°
    Выпуск Открывание (до НМТ) От 25° до 60° От 29° до 64°
    Закрывание (после ВМТ) От 39° до 4° От 35° до 0°
    Свеча зажигания Изготовитель DENSO
    Тип FK20HBR11 (иридиевые)
    Зазор между электродами свечи зажигания 1,0-1,1 мм (0,0394-0,0433 дюйма)
    Порядок работы цилиндров 1 - 8 - 7 - 3 - 6 - 5 - 4 - 2
    Октановое число по исследовательскому методу (RON) 95 или выше*3
    Нормы токсичности отработавших газов*1 EURO 6
    Китайский EURO 5
    EURO 5
    EURO 4
    Эксплуатационная масса двигателя (для справки)*2 236 кг (520 фунтов)

    Tech Tips

    *1: Нормы токсичности отработавших газов различаются в зависимости от страны и региона

    *2: Масса указана для двигателя, полностью заправленного моторным маслом и охлаждающей жидкостью.

    *3: Чтобы гарантировать оптимальные рабочие характеристики двигателя, необходимо использовать высокооктановый неэтилированный бензин с октановым числом по исследовательскому методу 95 или выше. При отсутствии бензина с октановым числом 95 можно использовать неэтилированный бензин с октановым числом не ниже 91. Применение неэтилированного бензина с октановым числом по исследовательскому методу ниже 95 может вызвать детонацию двигателя и значительное ухудшение рабочих характеристик. Непрерывная детонация может стать причиной повреждения двигателя и должна быть устранена путем заправки неэтилированного бензина с большим октановым числом.

    A000MFYE01
  3. ОСНОВНЫЕ ОСОБЕННОСТИ


    1. В приведенной ниже таблице указаны узлы и системы, благодаря использованию которых в двигателе 2UR-FSE были достигнуты следующие характеристики:


      1. Высокие эксплуатационные характеристики и надежность

      2. Низкие уровни шума и вибрации

      3. Легкая и компактная конструкция

      4. Хорошая ремонтопригодность

      5. Низкая токсичность выбросов и экономия топлива

        Наименование (1) (2) (3) (4) (5)
        Двигатель Крышки головок блока цилиндров, изготовленные из магниевого сплава - - - -
        Многослойные стальные прокладки головки блока цилиндров - - - -
        Камера сгорания с конической зоной завихрения - - -
        Блок цилиндров, изготовленный из алюминиевого сплава и снабженный каналом распределения охлаждающей жидкости - - - -
        Шероховатые гильзы в отверстиях цилиндров - - - -
        Распорные детали водяной рубашки блока цилиндров - - - -
        Юбка поршня с полимерным покрытием для снижения трения - -
        Масляный поддон № 1, изготовленный из алюминиевого сплава - - -
        Масляный поддон № 2 изготовлен из виброизоляционной листовой стали. - - - -
        Клапанный механизм Композитные распредвалы - -
        Цепные приводы газораспределительного механизма и натяжители цепей - -
        Используются механизмы регулировки зазора в приводе клапанов. - -
        Рычаги привода клапанов в сборе - - -
        Система смазки Используется масляный фильтр со сменным фильтрующим элементом - - - -
        Система охлаждения Фирменная охлаждающая жидкость SLLC (охлаждающая жидкость с увеличенным сроком замены) от компании TOYOTA - - - -
        Системы впуска и выпуска отработавших газов Применяется двухходовой воздушный фильтр сборной конструкции. - - -
        Корпус дроссельной заслонки без соединительных звеньев - - -
        Пластмассовый впускной коллектор - -
        Выпускные коллекторы, изготовленные из нержавеющей стали - - -
        Керамические трехкомпонентные каталитические нейтрализаторы (TWC) - - - -
        Топливная система Используется система непосредственного впрыска 4-тактного бензинового двигателя модификации "Superior" (D-4S). - - -
        Форсунки высокого давления с двухщелевым соплом - - -
        Используется топливная система с локализацией пара. - - - -
        Используется прочный топливный бак, изготовленный из листовой стали. - - - -
        Быстрые разъемы для соединения топливного шланга с топливопроводом - - - -
        Система зажигания Система зажигания с индивидуальными катушками (DIS) делает ненужной регулировку угла опережения зажигания. - -
        Удлиненные свечи зажигания с иридиевым покрытием на концах - -
        Привод навесного оборудования ремнем Используется привод навесного оборудования ремнем - - -
        Система вентиляции картерных газов Корпус маслоотделителя - - -
        Система управления двигателем Датчики положения распредвалов и коленчатого вала типа MRE (магнитный резистивный элемент). - - - -
        Используется интеллектуальная электронная система управления дроссельной заслонкой (ETCS-i) - - -
        Двойная электронная система изменения фаз газораспределения (двойная система VVT-i) Она состоит из системы VVT-iE на впуске и VVT-i на выпуске. - - -
        Система впуска с переменной геометрией (ACIS). - - -
        Система улавливания паров топлива - - - -

        Tech Tips

        ○: применимо

        -: не применимо

    2. Двигатель 2UR-FSE оснащен системой непосредственного впрыска 4-тактного бензинового двигателя модификации "Superior" (D-4S), которая обеспечивает высокие рабочие характеристики, низкий расход топлива и малую токсичность отработавших газов. Ниже рассмотрены особенности системы D-4S.


      1. Система D-4S представляет собой систему впрыска топлива, в которой объединены системы непосредственного впрыска и впрыска во впускные каналы. Эта система оптимальным образом управляет работой топливных форсунок двух типов в соответствии с условиями езды.

      2. Когда двигатель работает на малой частоте вращения при средней или высокой нагрузке, используются как система непосредственного впрыска, так и система впрыска во впускные каналы. За счет такого управления формируется однородная топливовоздушная смесь, вследствие чего стабилизируется процесс сгорания, повышается топливная экономичность и снижается токсичность отработавших газов.

      3. Когда нагрузка двигателя высока, используется только система непосредственного впрыска. При таком управлении топливо впрыскивается непосредственно в камеру сгорания, что обеспечивает эффективное охлаждение на впуске. Кроме того, благодаря уменьшению тенденции к воспламенению с опережением и детонированию сжатой смеси повышается степень сжатия в двигателе. Возрастание степени сжатия способствует увеличению мощности двигателя и улучшению его рабочих характеристик.

      4. Форсунки с двухщелевыми соплами для непосредственного впрыска мелко распыляют топливо широкой веерной струей. Топливо эффективно и однородно смешивается с впускаемым воздухом, что обеспечивает идеальное сгорание при любых условиях езды.

      5. Когда двигатель еще не прогрет, топливо впрыскивается через форсунки для впрыска во впускные каналы, вследствие чего в камере сгорания формируется однородная обедненная топливовоздушная смесь. Во второй половине хода сжатия топливо дополнительно выпрыскивается через форсунки для непосредственного впрыска, чтобы изменить свойства топливовоздушной смеси вблизи свечи зажигания, обеспечить устойчивое горение при запаздывающем зажигании и, тем самым, повысить температуру отработавших газов. Это способствует быстрому прогреву каталитических нейтрализаторов и снижению токсичности выбросов.

        A000M0UE03
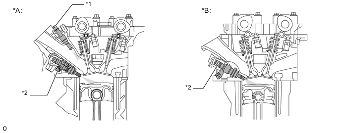
        Обозначения на рисунке
        *A 4-тактный бензиновый двигатель с непосредственным впрыском модификации "Superior" (D-4S) *B 4-тактный бензиновый двигатель с непосредственным впрыском (D-4)
        *1 Топливная форсунка в сборе (для впрыска во впускной канал) *2 Топливная форсунка в сборе (для непосредственного впрыска)