СИСТЕМА УПРАВЛЕНИЯ ГИБРИДНОЙ СИСТЕМОЙ


  1. НАЗНАЧЕНИЕ ОСНОВНЫХ УСТРОЙСТВ

    Устройство Функция
    Двигатель 2UR-FSE Двигатель 2UR-FSE совместим с гибридной системой и создает тяговое усилие для движения и вырабатывания электроэнергии.
    Гибридная трансмиссия L110F в сборе Мотор-генератор № 1 (MG1)
    • Приводится в движение двигателем и генерирует электроэнергию высокого напряжения, которая подается на MG2 и/или используется для зарядки высоковольтной аккумуляторной батареи. Кроме того, MG1 выполняет функции стартера при пуске двигателя.

    • Работает таким образом, что передаточное число планетарной передачи деления мощности оптимально соответствует условиям движения автомобиля.

    Мотор-генератор № 2 (MG2)
    • Приводится в движение электрической энергией от MG1 и/или высоковольтной аккумуляторной батареи и создает тяговое усилие для ведущих колес.

    • Вырабатывает электроэнергию для зарядки высоковольтной аккумуляторной батареи (рекуперативное торможение) в процессе торможения, а также при отпущенной педали акселератора.

    Резольверы
    • Каждый из мотор-генераторов MG1 и MG2 снабжен резольвером.

    • Передают информацию о направлении и частоте вращения мотор-генераторов в ЭБУ MG.

    Датчики температуры мотор-генератора
    • Каждый из мотор-генераторов MG1 и MG2 снабжен датчиком температуры.

    • Измеряет температуру MG1 или MG2.

    Узел блока шестерен Планетарная передача деления мощности Соответствующим образом распределяет тяговое усилие двигателя для непосредственного приведения автомобиля в движение, а также для привода MG1.
    2-ступенчатый планетарный редуктор электродвигателя Снижает частоту вращения MG2 согласно характеристикам планетарной передачей с целью увеличения крутящего момента. Кроме того, обеспечивает двухступенчатое переключение передач трансмиссии в соответствии с состоянием автомобиля.
    Блок клапанов Электромагнитные клапаны SL1/SL2 Переключают диапазон низких частот вращения и диапазон высоких частот вращения.
    Электромагнитный клапан SP Регулирует линейное давление.
    Контактные датчики давления масла Определяют давление масла в контуре управления давлением масла.
    Датчик температуры ATF Определяет температуру ATF.
    Механический масляный насос Приводится в действие двигателем, подает масло под давлением в корпус клапанов и осуществляет смазку планетарной передачи.
    Датчик оборотов трансмиссии Определяет частоту вращения выходного вала трансмиссии.
    Датчик положения рычага переключения передач Преобразует положение рычага переключения передач в электрические сигналы и передает их в ЭБУ гибридной системы.
    Масляный насос с электродвигателем в сборе Подает масло под давлением в корпус клапанов и осуществляет смазку планетарной передачи, главным образом, когда двигатель остановлен.
    Контроллер электродвигателя масляного насоса Приводит в действие масляный насос с электродвигателем в сборе в соответствии с сигналом от ЭБУ гибридной системы для переменного регулирования подачи ATF.
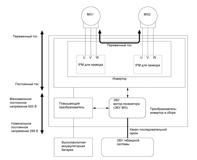
    Преобразователь-инвертор в сборе Инвертор Преобразует постоянный ток высокого напряжения высоковольтной аккумуляторной батареи в переменный ток (для MG1 и MG2), и наоборот (преобразует переменный ток в постоянный).
    Повышающий преобразователь Повышает напряжение высоковольтной аккумуляторной батареи 288 В пост. тока до максимального уровня 650 В пост. тока и наоборот (понижает напряжение с 650 до 288 В пост. тока).
    ЭБУ мотор-генератора (ЭБУ MG) Управляет инвертором и повышающим преобразователем в соответствии с сигналами, получаемыми от ЭБУ гибридной системы, тем самым обеспечивая работу MG1 или MG2 в режиме генератора или электродвигателя.
    Датчики тока инвертора
    • Каждый из мотор-генераторов MG1 и MG2 снабжен 2 датчиками тока инвертора.

    • Определяет ток MG1 и MG2.

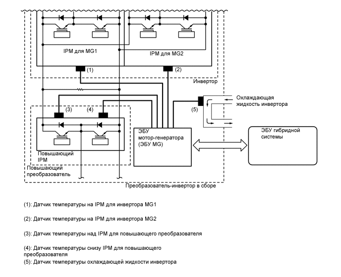
    Датчики температуры инвертора
    • Предусмотрены для повышающего преобразователя, интеллектуального силового модуля (IPM) для MG1 и MG2, а также для охлаждающей жидкости инвертора.

    • Измеряют температуру повышающего преобразователя, интеллектуального силового модуля (IPM) для MG1 и MG2, и охлаждающей жидкости инвертора.

    Датчик атмосферного давления Определяет атмосферное давление.
    Радиатор инвертора Охлаждает охлаждающую жидкость инвертора.
    Насос системы охлаждения инвертора с электродвигателем в сборе
    • Работает по сигналу ЭБУ распределения питания для охлаждения преобразователя-инвертора и мотор-генераторов MG1 и MG2.

    • ЭБУ распределения питания осуществляет 3-ступенчатое управление с помощью сигнала продолжительности включения.

    Выключатели блокировки

    - Крышка выводов инвертора

    - Крышка разъема в сборе

    - Разъем силового кабеля

    - Зажим сервисного размыкателя цепи

    Показывает, что крышка выводов инвертора, зажим сервисного размыкателя цепи и силовой кабель установлены.
    Силовой кабель Соединяет высоковольтную аккумуляторную батарею с преобразователем-инвертором в сборе, преобразователь-инвертор в сборе с мотор-генераторами MG1 и MG2, и преобразователь-инвертор в сборе с компрессором с электродвигателем в сборе.
    Высоковольтная аккумуляторная батарея в сборе Высоковольтная аккумуляторная батарея (модули аккумуляторной батареи)
    • Подает электропитание в MG1, MG2, компрессор с электродвигателем в сборе и преобразователь усилителя рулевого управления в сборе в соответствии с условиями движения автомобиля.

    • Заряжается посредством MG1 и MG2 согласно степени заряда высоковольтной аккумуляторной батареи и условиям движения автомобиля.

    • Выдает номинальное напряжение (примерно) 288 В пост. тока (фактическое напряжение изменяется в зависимости от различных условий – таких, как температура, ток заряда или разряда).

    Датчик напряжения аккумуляторной батареи
    • Контролирует сигналы напряжения от вентилятора системы охлаждения аккумуляторной батареи и состояние высоковольтной аккумуляторной батареи, в том числе напряжение, температуру и ток, и передает эту информацию в ЭБУ гибридной системы.

    • Контролирует разрушение электрической изоляции высоковольтной системы.

    Распределительный блок аккумуляторной батареи гибридной системы в сборе Главные реле системы (SMRB/SMRG) Подключают и отключают силовую цепь высокого напряжения между высоковольтной аккумуляторной батареей и преобразователем-инвертором в сборе. ЭБУ гибридной системы управляет SMRP (SMRB и SMRG), включая и выключая их в зависимости от условий.
    Датчик тока высоковольтной аккумуляторной батареи Измеряет ток высоковольтной аккумуляторной батареи.
    Термистор аккумуляторной батареи гибридной системы Определяет температуру деталей высоковольтной аккумуляторной батареи и температуру воздуха на впуске, поступающего от вентилятора охлаждения аккумуляторной батареи.
    Вентиляторы охлаждения аккумуляторной батареи в сборе Работает под управлением ЭБУ гибридной системы для охлаждения высоковольтной аккумуляторной батареи.
    Зажим сервисного размыкателя цепи При снятии этого размыкателя для проверки или обслуживания автомобиля отключается высоковольтная цепь аккумуляторной батареи.
    Преобразователь гибридной системы Понижает напряжение высоковольтной аккумуляторной батареи 288 В пост. тока примерно до 14 В пост. тока для электропитания электрооборудования автомобиля, а также для подзарядки вспомогательной аккумуляторной батареи.
    Вентилятор охлаждения преобразователя Работает под управлением контроллера вентилятора охлаждения преобразователя для охлаждения преобразователя гибридной системы.
    Главное реле системы (SMRP) Подключают и отключают силовую цепь высокого напряжения между высоковольтной аккумуляторной батареей и преобразователем-инвертором в сборе через резистор предварительной зарядки. ЭБУ гибридной системы управляет SMRP, включая и выключая их в зависимости от условий.
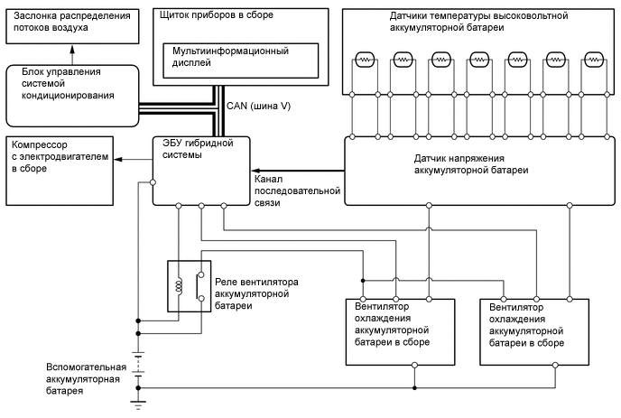
    Задний кондиционер в сборе Работает под управлением ЭБУ гибридной системы для охлаждения высоковольтной аккумуляторной батареи.
    Преобразователь усилителя рулевого управления в сборе Понижает напряжение высоковольтной батареи, равное 288 В постоянного тока, до 46 В и подает это питание на систему электроусилителя рулевого управления (EPS) и систему подвески с активными стабилизаторами*1. Если подача питания в EPS прекращается из-за неисправности, преобразователь повышает напряжение вспомогательной аккумуляторной батареи с 12 до 33 В пост. тока, обеспечивая питание системы EPS.
    Auxiliary Battery (вспомогательная аккумуляторная батарея) При включенном выключателе питания обеспечивает питание электрооборудования и ЭБУ.
    Датчик температуры вспомогательной аккумуляторной батареи Измеряет температуру вспомогательной аккумуляторной батареи для защиты вспомогательной аккумуляторной батареи.
    Компрессор с электродвигателем в сборе Работает с частотой вращения, вычисленной блоком управления системой кондиционирования, получает запросы на включение от ЭБУ гибридной системы, втягивает, сжимает и выпускает хладагент.
    Водяной насос отопителя в сборе Получает команды управления от ЭБУ гибридной системы в соответствии с сигналами от блока управления системой кондиционирования и обеспечивает циркуляцию охлаждающей жидкости, чтобы стабилизировать теплообмен в режиме управления остановкой двигателя на холостом ходу.
    Датчики частоты вращения Определяет частоту вращения одного из 4 колес.
    Датчик положения рулевого колеса Определяет направление и угол поворота рулевого колеса.
    Датчик рысканья
    • Определяет продольную и боковую составляющие ускорения автомобиля.

    • Определяет рысканье автомобиля.

    Датчик положения педали акселератора Преобразует положение педали акселератора в электрический сигнал и передает его в ЭБУ гибридной системы.
    Датчик хода педали тормоза в сборе Непосредственно определяет ход педали тормоза, приведенной в действие водителем.
    Выключатель стоп-сигналов в сборе Регистрирует сигнал нажатия педали тормоза.
    Главный выключатель круиз-контроля Включает и выключает систему круиз-контроля и динамическую радарную систему круиз-контроля, а также выполняет различные операции, включая установку скорости автомобиля, разгон, замедление и отключение управления.
    Переключатель управления переключением (переключатель передач трансмиссии в сборе)*2 Регистрирует операции повышения и понижения передачи водителем.
    Датчик положения селектора передач
    • Регистрирует перевод рычага переключения передач в положении S.

    • Регистрирует выполнение водителем операций повышения и понижения передачи, когда рычаг переключения передач находится в положении S.

    Комбинированный переключатель в сборе Переключатель режима привода EV Когда водитель нажимает на выключатель, передает сигнал выключателя режима движения EV в ЭБУ гибридной системы через модуль переключателей со стороны водителя.
    Выбор режима движения Когда водитель нажимает на переключатель, передает сигнал режима вождения (NORMAL, ECO, COMFORT или SPORT S/S+) на различные ЭБУ через модуль переключателей со стороны водителя.
    Переключатель режима SNOW Когда водитель нажимает на переключатель, передает сигнал переключателя режима SNOW в ЭБУ гибридной системы через модуль переключателей со стороны водителя.
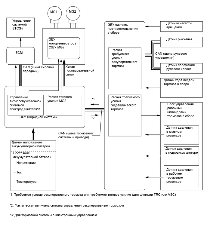
    ЭБУ гибридной системы
    • Осуществляет комплексное управление гибридной системой. Гибридный привод включает в себя бесступенчатую трансмиссию с электронным управлением и высоковольтную аккумуляторную батарею.

    • Получает информацию от различных датчиков и ЭБУ (ECM, датчика напряжения аккумуляторной батареи, ЭБУ MG и ЭБУ системы противоскольжения), на основании этих данных рассчитывает требуемый крутящий момент и мощность и передает рассчитанный результат в ECM, ЭБУ MG и ЭБУ системы противоскольжения.

    • Контролирует степень заряда (SOC) высоковольтной аккумуляторной батареи.

    • Управляет масляным насосом с электродвигателем в сборе.

    • Управляет преобразователем гибридной системы.

    • Управляет насосом системы охлаждения инвертора с электродвигателем в сборе.

    • Управляет вентиляторами системы охлаждения аккумуляторной батареи в сборе.

    • Управляет преобразователем усилителя рулевого управления в сборе.

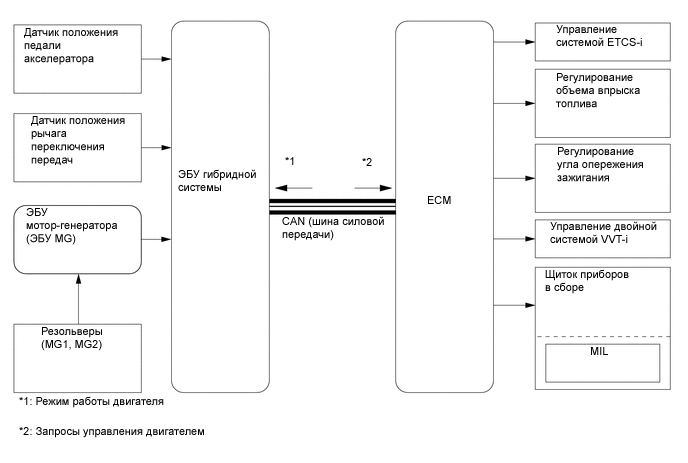
    ECM
    • Управляет двигателем в соответствии с данными о требуемых частоте вращения коленчатого вала и крутящем моменте двигателя, которые поступают от ЭБУ гибридной системы.

    • Передает сигналы режима работы двигателя в ЭБУ гибридной системы.

    ЭБУ системы противоскольжения в сборе
    • Во время торможения рассчитывает требуемое усилие рекуперативного торможения и передает результат в ЭБУ гибридной системы.

    • Во время работы TRC или VSC рассчитывает требуемое тяговое усилие и передает результат в ЭБУ гибридной системы.

    ЭБУ рулевого управления с усилителем
    • Исходя из сигналов, поступающих от различных датчиков и ЭБУ, приводит в действие электродвигатель, обеспечивая усиление мощности.

    • Подает питание от преобразователя усилителя рулевого управления в электродвигатель усилителя рулевого управления.

    Блок управления системой кондиционирования в сборе Передает различные сигналы состояния системы кондиционирования в ЭБУ гибридной системы.
    Центральный блок управления системы SRS в сборе В момент столкновения передает сигнал развертывания подушки безопасности в ЭБУ гибридной системы.
    ЭБУ помощи при движении в сборе*3 Передает информацию о режиме работы динамической радарной системы круиз-контроля в ЭБУ гибридной системы.
    Приемник мультимедийного модуля в сборе
    • Отображает мощность гибридной системы и степень заряда аккумуляторной батареи гибридной системы на экране контроля расхода энергии многофункционального дисплея.

    • Отображает режим вождения на многофункциональном дисплее.

    Щиток приборов в сборе Индикатор гибридной системы Отображает мощность гибридной системы и степень заряда аккумуляторной батареи гибридной системы для информирования водителя.
    Контрольная лампа режима привода EV Информирует водителя о работе автомобиля в режиме управления EV.
    Контрольная лампа режима привода EV Информирует водителя о переходе в режим привода EV.
    Контрольная лампа режима SNOW Информирует водителя о переходе в режим движения SNOW.
    MIL Включается при неисправности системы управления двигателем.
    Контрольная лампа заряда Включается при неисправности системы зарядки вспомогательной аккумуляторной батареи.
    Главная контрольная лампа аварийного состояния В данном случае основным назначением этой контрольной лампы является уведомление водителя о неисправности в гибридной системе или слишком низкой степени заряда высоковольтной аккумуляторной батареи. Лампа включается одновременно с предупредительным зуммером.
    Мультиинформационный дисплей
    • Информирует водителя о готовности автомобиля начать движение.

    • Отображает положение рычага переключения передач.

    • Отображает диапазон переключения передач.

    • Отображает распределение мощности.

    • Отображает режим вождения.

    • Отображает сообщения, чтобы проинформировать водителя о возникновении неисправности.

    • Отображает состояние системы и операции, которые подлежат выполнению.

    Панель щитка приборов Светится синим или красным светом, отражая режим привода. Кроме того, при свечении синим светом уровень яркости меняется в соответствии с условиями движения.

    • *1: для моделей с подвеской с активными стабилизаторами

    • *2: для моделей с переключателем управления переключением

    • *3: для моделей с динамической радарной системой круиз-контроля

  2. УСЛОВИЯ РАБОТЫ


    1. Включение гибридной системы (состояние готовности READY-ON)


      1. Гибридную систему можно включить, нажав на выключатель питания, удерживая нажатой педаль тормоза. В это время мигает контрольная лампа READY, пока не завершится проверка системы. Когда контрольная лампа READY загорится, гибридная система запустится, и автомобиль будет готов к движению.

      2. Иногда, даже если водитель включает питание (READY), ЭБУ гибридной системы не запускает двигатель. Двигатель запускается только при выполнении определенных условий относительно температуры охлаждающей жидкости двигателя, степени заряда аккумуляторной батареи, температуры высоковольтной аккумуляторной батареи и электрической нагрузки.

      3. Когда после поездки водитель останавливает автомобиль и устанавливает рычаг переключения передач в положение P, ЭБУ гибридной системы оставляет двигатель работающим. Двигатель остановится, когда степень заряда аккумуляторной батареи, температура высоковольтной аккумуляторной батареи и электрическая нагрузка достигнут определенных уровней.

        Note

        Если обязательно требуется остановить гибридную систему во время движения, можно принудительно выключить ее, нажав и удерживая выключатель питания в течение не менее приблизительно 2 с или нажав его не менее 3 раз подряд. При этом источник питания перейдет в режим ON (ВКЛ) (ACC).

    2. Режим привода EV


      1. При выполнении условий, перечисленных в таблице ниже, переход в режим EV происходит при установке выключателя режима движения EV состояние ON (ВКЛ).

        Режим Условие
        Режим привода EV
        • Температура гибридной трансмиссии не высока Температура гибридной системы оказывается повышенной, если высока температура наружного воздуха, либо автомобиль двигался вверх по склону или с высокой скоростью.

        • Температура гибридной трансмиссии не низка Температура гибридной трансмиссии оказывается низкой, если автомобиль в течение длительного времени оставался при низкой температуре наружного воздуха.

        • Степень заряда высоковольтной аккумуляторной батареи составляет приблизительно 50% или более.

        • Скорость автомобиля не более приблизительно 40 км/час (25 миль в час) (температура охлаждающей жидкости двигателя: 40°C (104°F) или более).

        • Усилие на педали акселератора не превышает заданного уровня.

        • Оттаиватель выключен.

        • Система круиз-контроля не действует.

      2. В нормальных условиях двигатель всегда запускается, когда приводится в действие гибридный привод LEXUS (когда источник питания переводится в режим READY). При этом, выполнив описанные ниже действия, можно сразу же перевести гибридный привод LEXUS в режим привода EV:


        • Если выполняются условия перехода в режим EV (за исключением требования к температуре охлаждающей жидкости двигателя), нажмите и удерживайте переключатель режима привода EV, а затем нажмите на выключатель питания, удерживая нажатой педаль тормоза (при этом, в зависимости от состояния системы, может запуститься двигатель*).

          Tech Tips

          *: Температура охлаждающей жидкости двигателя ниже -10°C (14°F) и т. д.

      3. Если при выборе выключателя режима движения EV не выполняется хотя бы одно из условий, на мультиинформационном дисплее отображается сообщение, информирующее водителя о невозможности выполнить переход в режим привода EV и отклонении команды, выданной переключателем режима привода EV.

      4. После автоматической отмены режима привода EV появляется сообщение, уведомляющее об отмене режима привода EV.

    3. Режим ECO


      1. Переход в режим ECO выполняется с помощью переключателя выбора режима привода.

      2. Настройка для режима ECO сохраняется в ЭБУ гибридной системы. Эта настройка не сбрасывается при выключении питания.

      3. Выход из режима ECO происходит при установке переключателя выбора режима привода в любой другой режим, кроме ECO.

    4. Режим проверки


      1. Вход в режим проверки осуществляется с использованием Global TechStream (GTS) или педали акселератора. Более подробную информацию см. в Руководстве по ремонту.

    5. Регистрация снижения сопротивления изоляции


      1. В датчик напряжения аккумуляторной батареи встроена схема обнаружения утечки. Схема обнаружения утечки непрерывно контролирует сопротивление изоляции между цепями высокого напряжения и массой.

      2. Если сопротивление изоляции снижается ниже заданного уровня, сохраняется диагностический код неисправности (DTC), и водитель уведомляется о ненормальном состоянии посредством мультиинформационного дисплея.

      3. Схема обнаружения утечки содержит источник переменного тока и пропускает через цепь высокого напряжения небольшой переменный ток (положительный и отрицательный).

      4. Переменный ток протекает, как показано на следующем рисунке. Он течет через резистор регистрации (контрольный резистор), конденсатор и массу.

      5. Чем ниже сопротивление изоляции автомобиля, тем большее напряжение падает на резисторе регистрации, и тем меньше амплитуда волн переменного тока. Величина сопротивление изоляции (название параметра на экране диагностического прибора: Short Wave Highest Value) определяется по амплитуде волн переменного тока.

        A000M92E02
  3. УПРАВЛЕНИЕ В СИСТЕМЕ

    Электронная система управления гибридной системой
    Функция управления Описание
    Управление гибридной системой
    • ЭБУ гибридной системы вычисляет требуемое тяговое усилие исходя из сигнала датчика положения рычага переключения передач, угла поворота педали акселератора, а также скорости автомобиля. ЭБУ гибридной системы осуществляет управление таким образом, чтобы требуемое тяговое усилие создавалось за счет оптимального сочетания мощностей MG1, MG2 и двигателя.

    • ЭБУ гибридной системы рассчитывает тяговое усилие двигателя, исходя из требуемого тягового усилия, определенного на основании команд водителя и условий движения автомобиля. Чтобы создать такое тяговое усилие, ЭБУ гибридной системы передает сигналы в ECM.

    • ЭБУ гибридной системы переключает 2-ступенчатый планетарный редуктор электродвигателя на диапазон низких частот вращения или диапазон высоких частот вращения в соответствии с заданным водителем тяговым усилием, состоянием высоковольтной аккумуляторной батареи, температурой жидкости для автоматических трансмиссий, скоростью автомобиля и другими параметрами.

    • Для поддержания заданной температуры высоковольтной аккумуляторной батареи ЭБУ гибридной системы контролирует состояние высоковольтной аккумуляторной батареи и вентилятора системы охлаждения блока аккумуляторных батарей гибридной системы для осуществления управления с обратной связью.

    Контроль состояния системы ЭБУ гибридной системы контролирует степень заряда (SOC) и температуру высоковольтной аккумуляторной батареи, а также температуры MG1 и MG2, что позволяет оптимально управлять этими устройствами.
    Управление выключением Когда рычаг переключения передач находится в положение N, ЭБУ гибридной системы осуществляет управление остановом MG1 и MG2.
    Управление главными реле системы (SMR) Чтобы гарантировать надежное подключение и отключение цепей высокого напряжения, ЭБУ гибридной системы управляет подсоединением цепей высокого напряжения к высоковольтной аккумуляторной батареи и их отсоединением с помощью 3-х главных реле системы (SMR). Кроме того, ЭБУ гибридной системы регулирует моменты включения/выключения SMR для контроля состояния контактов реле.
    Регулирование степени заряда (SOC)
    • ЭБУ гибридной системы рассчитывает степень заряда, оценивая токи заряда и разряда высоковольтной аккумуляторной батареи.

    • На основании вычисленного значения ЭБУ гибридной системы (главный процессор гибридной системы) непрерывно управляет зарядкой/разрядкой, поддерживая требуемую степень заряда аккумуляторной батареи.

    Функции управления охлаждением охлаждающей жидкости инвертора В целях охлаждения преобразователя-инвертора в сборе, MG1 и MG2 ЭБУ гибридной системы управляет насосом системы охлаждения инвертора с электродвигателем в сборе в соответствии с сигналами от датчиков температуры преобразователя-инвертора в сборе, датчика температуры MG1 и датчика температуры MG2.
    Управление охлаждением высоковольтной аккумуляторной батареи Для поддержания оптимальной температуры высоковольтной аккумуляторной батареи ЭБУ гибридной системы управляет вентилятором охлаждения высоковольтной аккумуляторной батареи в соответствии с сигналами от термистора аккумуляторной батареи гибридной системы.
    Управление зарядкой вспомогательной аккумуляторной батареи ЭБУ гибридной системы контролирует температуру вспомогательной аккумуляторной батареи с помощью датчика температуры вспомогательной аккумуляторной батареи (термистора). На основании данных о температуре от вспомогательной аккумуляторной батареи ЭБУ гибридной системы осуществляет управление зарядкой.
    Управление ECM ECM получает данные о требуемой частоте вращения коленчатого вала и необходимом крутящем моменте двигателя, которые передаются ЭБУ гибридной системы, управляет интеллектуальной электронной системой управления дроссельной заслонкой (ETCS-i) и электронной системой изменения фаз газораспределения (двойной VVT-i), и регулирует объем впрыска топлива и угол опережения зажигания.
    Общее управление MG1 и MG2
    • MG1, приводимый в движение двигателем, посредством инвертора генерирует высокое напряжение (переменный ток) для питания MG2 и зарядки высоковольтной аккумуляторной батареи. Кроме того, MG1 выполняет функции стартера при пуске двигателя.

    • MG2, приводимый в движение электроэнергией от MG1 и/или высоковольтной аккумуляторной батареи, создает тяговое усилие для всех колес.

    • При торможении, а также когда педаль акселератора не нажата, MG2 вырабатывает электроэнергию для зарядки высоковольтной аккумуляторной батареи (управления рекуперативным тормозом).

    • Резольверы определяют частоты вращения и положения MG1 и MG2, необходимые ЭБУ гибридной системы. Сигналы резольверов передаются в ЭБУ гибридной системы через ЭБУ мотор-генератора (ЭБУ MG).

    • Датчики температуры, вмонтированные в MG1 и MG2, измеряют температуры, необходимые ЭБУ гибридной системы.

    Сигналы управления инвертором
    • Инвертор преобразует постоянный ток высоковольтной аккумуляторной батареи в переменный ток для питания MG1 и MG2, или наоборот, в соответствии с сигналами, поступающими от ЭБУ гибридной системы через ЭБУ MG. Кроме того, инвертор используется для передачи мощности от MG1 в MG2.

    • Для приведения в движение MG1 и MG2 ЭБУ гибридной системы через ЭБУ MG передает на силовые транзисторы интеллектуальных силовых модулей инвертора сигналы переключения фаз U, V и W для MG1 и MG2.

    • При получении от инвертора через ЭБУ MG сигнала перегрева, перегрузки по току или короткого замыкания ЭБУ гибридной системы отключает инвертор.

    Управление повышающим преобразователем
    • Повышающий преобразователь повышает номинальное постоянное напряжение высоковольтной аккумуляторной батареи 288 В до максимального уровня 650 В в соответствии сигналами, поступающими из ЭБУ гибридной системы через ЭБУ MG.

    • Инвертор преобразует переменный ток, генерируемый MG1 или MG2, в постоянный. Повышающий преобразователь понижает вырабатываемое напряжение, величина которого может достигать 650 В пост. тока, примерно до уровня 288 В пост. тока, необходимого для высоковольтной аккумуляторной батареи, в соответствии с сигналами, поступающими от ЭБУ гибридной системы через ЭБУ MG.

    Управление преобразователем гибридной системы
    • Понижает напряжение 288 В пост. тока (номинальное значение) до 14 В пост. тока (номинальное значение) для питания электроэнергией электрооборудования автомобиля, а также подзарядки вспомогательной аккумуляторной батареи (12 В пост. тока).

    • Стабилизирует напряжение вспомогательной аккумуляторной батареи.

    Управление датчиком напряжения аккумуляторной батареи Датчик напряжения аккумуляторной батареи контролирует утечку через изоляцию электрооборудования высокого напряжения. Кроме того, датчик преобразует сигналы обратной связи от вентилятор системы охлаждения блока аккумуляторных батарей и сигналы состояния высоковольтной аккумуляторной батареи (которые необходимы ЭБУ гибридной системы для управления степенью заряда аккумуляторной батареи и системой охлаждения блока аккумуляторных батарей) в цифровую форму и передает их в ЭБУ гибридной системы.
    Управление переключением передач ЭБУ гибридной системы определяет положение рычага переключения передач (P, R, N, D или S) по сигналам датчика положения рычага переключения передач и датчика положения селектора передач и управляет MG1, MG2, двигателем и гибридной трансмиссией в соответствии с выбранной передачей.
    Функции управления ЭБУ системы противоскольжения в сборе Координированное управление рекуперативным торможением Во время торможения ЭБУ системы противоскольжения рассчитывает требуемое усилие рекуперативного тормоза и передает сигнал в ЭБУ гибридной системы. При получении сигнала ЭБУ гибридной системы передает в ЭБУ системы противоскольжения текущее значение управления рекуперативным торможением. На основании этого ЭБУ системы противоскольжения рассчитывает и формирует требуемое усилие гидравлического тормоза.
    Координированное управление TRC/VSC Во время действия TRC или VSC ЭБУ системы противоскольжения передает в ЭБУ гибридной системы запрос на ограничение тягового усилия. ЭБУ гибридной системы управляет двигателем, MG1 и MG2 в соответствии с текущими условиями движения, чтобы подавить тяговое усилие.
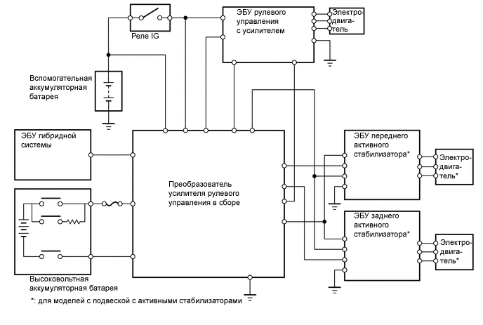
    Функции управления преобразователя усилителя рулевого управления в сборе
    • Преобразователь усилителя рулевого управления снижает номинальное постоянное напряжение 288 В до уровня 46 В, обеспечивая электропитание ЭБУ каждой системы.

    • Если из-за неисправности в системе высокого напряжения подача напряжения от высоковольтной аккумуляторной батареи в преобразователь усилителя рулевого управления прерывается, преобразователь переходит в аварийный режим работы, повышает напряжение вспомогательной аккумуляторной батареи (12 В пост. тока) до напряжения 33 В и подает последнее в ЭБУ рулевого управления с усилителем (в систему EPS).

    • В соответствии с состоянием высоковольтной аккумуляторной батареи ЭБУ гибридной системы передает в преобразователь усилителя рулевого управления сигналы разрешения / запрещения / ограничения использования мощности высоковольтной аккумуляторной батареи.

    Управление при столкновении Если при столкновении ЭБУ гибридной системы получает сигнал развертывания подушек безопасности от центрального блока управления системы SRS, он выключает главные реле системы, чтобы отключить цепь высоковольтного питания гибридной системы от высоковольтной аккумуляторной батареи.
    Управление работой системы круиз-контроля Когда ЭБУ круиз-контроля, встроенный в ЭБУ гибридной системы, принимает сигнал главного выключателя круиз-контроля, он регулирует мощность гибридной системы для достижения скорости автомобиля, соответствующей запросу водителя.
    Управление работой динамической радарной системы круиз-контроля* После получения сигнала запроса тягового усилия от ЭБУ помощи при движении ЭБУ гибридной системы регулирует тяговые усилия двигателя и MG2, обеспечивая оптимальное их сочетание, для достижения требуемой скорости автомобиля.
    Переключение режима привода EV Когда водитель вручную нажимает на выключатель режима движения EV, ЭБУ гибридной системы принудительно устанавливает режим движения автомобиля с приводом только от MG2 при выполнении необходимых условий.
    Функции управления выбором режима движения Система оптимальным образом регулирует мощность MG1, MG2 и двигателя в соответствии с выбранным режимом вождения: Режимы NORMAL, COMFORT и SPORT S/S+
    Управление в режиме SNOW Когда водитель вручную нажимает на выключатель режима SNOW , ЭБУ гибридной системы управляет тяговым усилием при нажатии на педаль акселератора для достижения плавного трогания с места на скользких, например покрытых снегом, дорогах.
    Управление индикаторами и контрольными лампами Система включает или заставляет мигать контрольные лампы, либо отображает сообщения на мультиинформационном дисплея, чтобы уведомить водителя об условиях движения автомобиля или неисправностях в системе.
    Система принудительного включения тормозов Крутящий момент ограничивается при одновременно нажатых педалях акселератора и тормоза. (Условия активации и метод проверки см. в Руководстве по ремонту)

    • *: для моделей с динамической радарной системой круиз-контроля


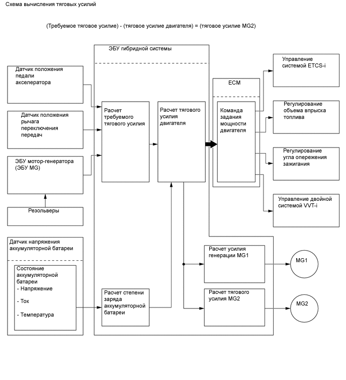
    1. Управление гибридной системой


      1. ЭБУ гибридной системы определяет усилие нажатия на педаль акселератора, используя сигналы от датчика положения передали акселератора. ЭБУ гибридной системы получает сигналы скорости автомобиля от резольвера MG2 и регистрирует сигнал положения рычага переключения передач от датчика положения рычага переключения передач. ЭБУ гибридной системы определяет условия движения автомобиля и в соответствии с этими данными оптимальным образом регулирует тяговые усилия MG1, MG2 и двигателя. Кроме того, ЭБУ гибридной системы оптимальным образом регулирует мощности и крутящие моменты MG1, MG2 и двигателя с тем, чтобы обеспечить меньший расход топлива и снизить токсичность отработавших газов.

      2. ЭБУ гибридной системы рассчитывает тяговое усилие двигателя исходя из вычисленного требуемого тягового усилия с учетом степени заряда (SOC) и температуры высоковольтной аккумуляторной батареи. Значение, полученное путем вычитания тягового усилия двигателя из требуемого тягового усилия, представляет собой тяговое усилие MG2.

      3. Чтобы реализовать требуемое тяговое усилие двигателя, ECM надлежащим образом управляет системами ETCS-i и двойной VVT-i, и регулирует объем впрыска топлива и угол опережения зажигания исходя из сигналов, передаваемых ЭБУ гибридной системы (главным процессором гибридной системы). Кроме того, для обеспечения требуемого тягового усилия MG2 ЭБУ гибридной системы надлежащим образом управляет MG1 и MG2.

      4. 2-ступенчатый планетарный редуктор электродвигателя переключается на диапазон низких частот вращения или диапазон высоких частот вращения путем управления электромагнитными клапанами SL1 и SL2 в соответствии с заданным водителем тяговым усилием, состоянием высоковольтной аккумуляторной батареи, температурой жидкости для автоматических трансмиссий, скоростью автомобиля и другими параметрами.

        A000MPHE02
    2. Контроль состояния системы


      1. ЭБУ гибридной системы непрерывно контролирует степень заряда высоковольтной аккумуляторной батареи. Когда степень заряда снижается ниже минимального уровня, ЭБУ гибридной системы увеличивает полезную мощность двигателя для приведения в движение MG1, который заряжает высоковольтную аккумуляторную батарею. Когда двигатель остановлен, MG1 запускает его; затем двигатель приводит в движение MG1 для зарядки высоковольтной аккумуляторной батареи.

      2. Если степень заряда аккумуляторной батареи низка, либо температура высоковольтной аккумуляторной батареи, MG1 или MG2 превышает заданное значение, ЭБУ гибридной системы ограничивает тяговое усилие, действующее на ведущие колеса, пока не восстановится нормальное значение характеристики.

    3. Управление выключением


      1. Когда рычаг переключения передач устанавливается в положение N, MG1 и MG2 обычно выключаются. Чтобы прекратить подачу тягового усилия, необходимо остановить MG1 и MG2, так как MG2 механически связан с выходным валом.

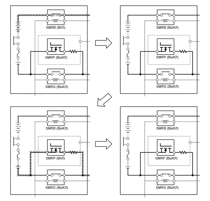
    4. Управление главными реле системы (SMR)


      1. Главные реле системы (SMR) подключают и отключают питание высоковольтной цепи при получении команды от ЭБУ гибридной системы. Чтобы гарантировать надлежащую работу системы, используются 3 реле – 1 для положительной стороны (SMRB) и 2 для отрицательной стороны (SMRP, SMRG). SMRP представляет собой полупроводниковое реле, встроенное в преобразователь гибридной системы. Два других реле представляют собой реле контактного типа и установлены в распределительный блок в блоке высоковольтной аккумуляторной батареи.

        A000M54E02
      2. ЭБУ гибридной системы включает SMRB. Затем от включает SMRP. После того, как ЭБУ гибридной системы включит SMRG, он выключает SMRP. Так как в данной схеме управляемый ток изначально может протекать через резистор, контактные точки цепи защищены от повреждения в результате броска тока.

        A000MA2E02
      3. Сначала ЭБУ гибридной системы выключает SMRG. Затем ЭБУ проверяет, не "залипли" ли контакты SMRG, и выключает SMRB. После этого ЭБУ включает SMRP, чтобы определить, не "залипли" ли контакты SMRB. Затем ЭБУ выключает SMRP.

        A000MFNE02
      4. Когда ЭБУ гибридной системы обнаруживает залипание контактов, он включает главную контрольную лампу аварийного состояния, выводит сообщение "CHECK HYBRID SYSTEM" (проверьте гибридную систему) на мультиинформационный дисплей и сохраняет в памяти DTC (диагностический код неисправности).

    5. Регулирование степени заряда (SOC)


      1. Для регулирования степени заряда (SOC) высоковольтной аккумуляторной батареи ЭБУ гибридной системы рассчитывает степень заряда, оценивая токи заряда и разряда аккумуляторной батареи. Это позволяет гибридной системе выбирать управления исходя из энергии, накопленной в аккумуляторной батарее.

      2. В процессе движения автомобиля высоковольтная аккумуляторная батарея подвергается периодически повторяющимся циклам зарядки/разрядки: она разряжается MG2 при разгоне и заряжается за счет рекуперативного торможения при замедлении. ЭБУ гибридной системы вычисляет степень заряда высоковольтной аккумуляторной батареи по токам заряда/разряда, измеряемым датчиком тока высоковольтной аккумуляторной батареи. На основании вычисленного значения ЭБУ гибридной системы непрерывно управляет зарядкой/разрядкой, поддерживая требуемую степень заряда аккумуляторной батареи.

        A000MM6E05
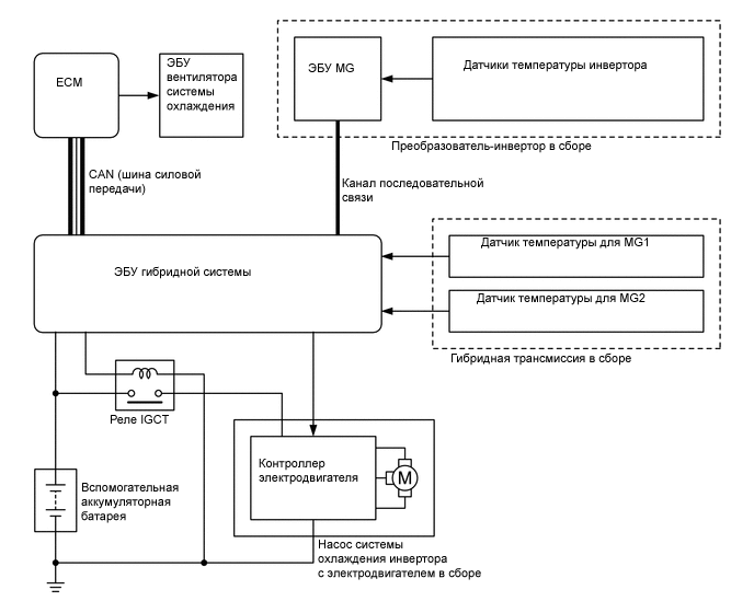
    6. Функции управления охлаждением охлаждающей жидкости инвертора


      1. ЭБУ гибридной системы получает сигналы от датчиков температуры преобразователя-инвертора, MG1 и MG2. Затем ЭБУ гибридной системы приводит в действие насос системы охлаждения инвертора c электродвигателем в сборе, обеспечивая охлаждение охлаждающей жидкости инвертора.

      2. Когда температура охлаждающей жидкости инвертора превышает определенный уровень, ЭБУ гибридной системы через ECM передает в ЭБУ вентилятора системы охлаждения сигнал запроса на включение вентилятора радиатора. Получив этот сигнал, ЭБУ вентилятора системы охлаждения приводит в действие вентилятор радиатора, ограничивая повышение температуры охлаждающей жидкости инвертора и обеспечивая охлаждение преобразователя-инвертора в сборе, MG1 и MG2.

      3. ЭБУ MG преобразует эти сигналы в цифровую форму и передает их в ЭБУ гибридной системы по каналу последовательной связи.

        A000MOFE02
    7. Управление охлаждением высоковольтной аккумуляторной батареи


      1. Охлаждение высоковольтной аккумуляторной батареи обеспечивается за счет использования воздуха внутри салона и холодного воздуха из заднего кондиционера.

      2. ЭБУ гибридной системы, исходя из температуры высоковольтной аккумуляторной батареи, вычисляет количество воздуха, необходимое для ее охлаждения, и, управляя вентиляторами охлаждения аккумуляторной батареи, подает воздух на батарею. Одновременно, согласно режиму работы системы кондиционирования и нагрузке аккумуляторной батареи, ЭБУ гибридной системы управляет задним кондиционером и заслонкой распределения потоков воздуха высоковольтной аккумуляторной батареи, подводя к батарее холодный воздух. Задний кондиционер вводится в действие при выполнении следующих условий:


        • Во время работы системы кондиционирования: если нагрузка на аккумуляторную батарею в течение заданного времени превышает установленное значение.

        • При отключенной системе кондиционирования: если нагрузка на аккумуляторную батарею в течение заданного времени превышает установленное значение, и количество случаев повышения температуры превышает заданное число раз.

      3. Когда приводится в действие задний кондиционер, ЭБУ гибридной системы снижает частоту вращения вентиляторов охлаждения аккумуляторной батареи, чтобы ослабить поток воздуха, нагнетаемого вентиляторами, и, таким образом, уменьшить шум в салоне.

      4. Если система кондиционирования выключена, после приведения в действие заднего кондиционера посредством ЭБУ гибридной системы блок управления системой кондиционирования информирует водителя о включении заднего кондиционера, отображая сообщение "Climate Control activated to cool Hybrid System" (климат-контроль включен для охлаждения гибридной системы) на мультиинформационном дисплее.

      5. Если система кондиционирования работает, охлаждая воздух в кабине, и температура модуля высоковольтной аккумуляторной батареи не выходит за пределы номинального диапазона, ЭБУ гибридной системы выключает вентиляторы охлаждения аккумуляторной батареи или снижает их частоту вращения. При таком управлении приоритет отдается охлаждению воздуха в кабине, при котором температура аккумуляторной батареи также снижается благодаря подводу воздуха к батарее через впускной воздуховод в облицовке заднего отделения для мелких вещей.

        A000M3VE02
    8. Управление зарядкой вспомогательной аккумуляторной батареи


      1. ЭБУ гибридной системы управляет преобразователем гибридной системы в соответствии с сигналами датчика температуры вспомогательной аккумуляторной батареи (термистора), обеспечивая регулирование напряжения зарядки вспомогательной аккумуляторной батареи.

        A000M74E04
    9. Управление ECM


      1. ECM получает данные о требуемой частоте вращения коленчатого вала и необходимом крутящем моменте двигателя, которые передаются ЭБУ гибридной системы, управляет системами ETCS-i и двойной VVT-i, и регулирует объем впрыска топлива и угол опережения зажигания.

      2. ECM передает в ЭБУ гибридной системы информацию о режиме работы двигателя.

      3. При получении команды на остановку двигателя от ЭБУ гибридной системы, в соответствии с базовым алгоритмом управления гибридным приводом, ECM останавливает двигатель.

      4. Когда в системе возникает неисправность, ECM посредством команды из ЭБУ гибридной системы включает контрольную лампу неисправности MIL.

        A000M21E06
    10. Общее управление MG1 и MG2


      1. MG1 приводится в движение двигателем и генерирует высокое напряжение (переменный ток) для питания MG2 и зарядки высоковольтной аккумуляторной батареи. Кроме того, MG1 выполняет функции стартера при пуске двигателя.

      2. MG2 приводится в движение электрической энергией от высоковольтной аккумуляторной батареи и/или MG1, и создает тяговое усилие для всех колес.

      3. При торможении, а также когда педаль акселератора не нажата, MG2 вырабатывает электроэнергию для зарядки высоковольтной аккумуляторной батареи (управления рекуперативным тормозом).

      4. ЭБУ мотор-генератора (ЭБУ MG) получает команды от ЭБУ гибридной системы и посредством интеллектуальных силовых модулей (IPM) управляет MG1 и MG2 для приведения автомобиля в движение. Управление каждым отдельным электродвигателем осуществляется путем переключения состояний 6 биполярных транзисторов с изолированным затвором (IGBT) в зависимости от того, в каком режиме он работает: в режиме электродвигателя или режиме генератора.

      5. Приведенные ниже рисунки иллюстрируют общие принципы управления мотор-генератором в режиме электродвигателя.


        1. За счет включения/выключения транзисторов IGBT в электродвигатель подается трехфазный переменный ток.

        2. Чтобы создать требуемое тяговое усилие мотор-генератора, рассчитанное ЭБУ гибридной системы (главным процессором гибридной системы), ЭБУ MG переключает состояния транзисторов IGBT, регулируя частоту вращения мотор-генератора.

          A000MQSE05
          *1 Мотор-генератор
          *2 Вкл
      6. Приведенные ниже рисунки иллюстрируют общие принципы управления мотор-генератором в режиме генератора.


        1. Ток, последовательно генерируемый тремя фазами электродвигателя, который приводится в движение колесами, используется для зарядки высоковольтной аккумуляторной батареи или вращения другого мотор-генератора.

          A000M3EE05
          *1 Мотор-генератор
    11. Сигналы управления инвертором


      1. Инвертор преобразует постоянный ток высоковольтной аккумуляторной батареи в переменный ток для питания MG1 и MG2, или наоборот, в соответствии с сигналами, поступающими от ЭБУ гибридной системы через ЭБУ мотор-генератора (ЭБУ MG). Кроме того, инвертор отбирает мощность, вырабатываемую MG1, и подает ее в MG2. При этом перед подачей в MG2 электроэнергия, генерируемая MG1, сначала преобразуется инвертором в энергию постоянного тока, а затем – обратно в энергию переменного тока. Это необходимо, поскольку частота переменного тока на выходе MG1 не подходит для управления MG2.

      2. На основании данных о положениях роторов, передаваемых резольверами MG1 и MG2, ЭБУ гибридной системы через ЭБУ MG подает сигналы на силовые транзисторы в инверторе для переключения фаз U, V и W обмоток статоров MG1 и MG2.

      3. Когда рычаг переключения передач переводится в положении N, или когда ЭБУ гибридной системы получает от инвертора сигнал о перегреве, перегрузке по току или недопустимом напряжении, ЭБУ гибридной системы передает в инвертор сигнал выключения, чтобы выключить силовые транзисторы и электрически отсоединить MG1 и MG2.

        A000MNJE04
    12. Управление повышающим преобразователем


      1. Повышающий преобразователь повышает напряжение высоковольтной аккумуляторной батареи 288 В пост. тока (номинальное значение) до максимального уровня 650 В пост. тока в соответствии с сигналами, поступающими от ЭБУ гибридной системы через ЭБУ мотор-генератора (ЭБУ MG).

        A000MQKE03
      2. Инвертор преобразует переменный ток, генерируемый MG1 или MG2, в постоянный. Повышающий преобразователь понижает напряжение 650 В пост. тока (максимальное значение) до уровня 288 В пост. тока (номинальное значение), необходимого для высоковольтной аккумуляторной батареи, в соответствии с сигналами, поступающими от ЭБУ гибридной системы через ЭБУ мотор-генератора (ЭБУ MG).

        A000MK4E03
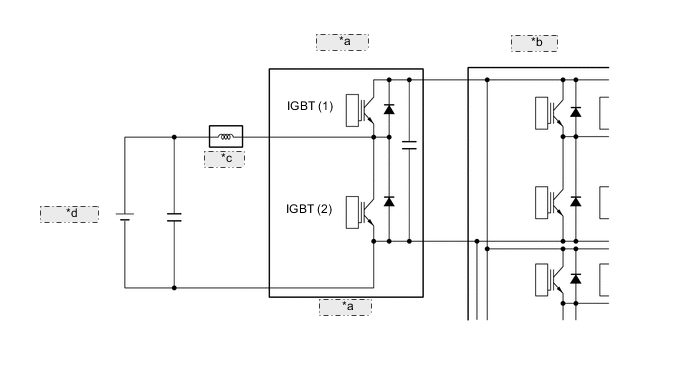
      3. Повышающий преобразователь включает в себя дроссель и повышающий IPM (интеллектуальный силовой модуль) со встроенными биполярными транзисторами с изолированным затвором (IGBT), которые осуществляют импульсное регулирование.

      4. Дроссель представляет собой электронное устройство, сопротивление которого изменяется при протекании тока. Если цепь, содержащая дроссель, сначала подключается, а затем отключается, дроссель пытается сохранить ток после отключения. Во время снижения напряжения такая характеристика также помогает сглаживать выходной сигнал понижающего IGBT (1). При включении повышающего IGBT (2) дроссель быстро запасает энергию.

        A000MRNE05
        *a Повышающий IPM
        *b Инвертор
        *c Дроссель
        *d Высоковольтная аккумуляторная батарея
      5. Повышающий преобразователь повышает напряжение высоковольтной аккумуляторной батареи с 288 В пост. тока (номинальное значение) до 650 В пост. тока в 2 этапа, как описано ниже.


        1. IGBT (2) включается, в результате чего электроэнергия высоковольтной аккумуляторной батареи (с номинальным напряжением 288 В пост. тока) запасается в дросселе. Таким образом, дроссель накапливает мощность.

          A000M6JE06
        2. IGBT (2) выключается, в результате чего дроссель создает электродвижущую силу (ток продолжает протекать через дроссель). Электродвижущая сила заставляет напряжение повышаться до максимального уровня 650 В пост. тока.

          A000MAKE06
      6. Переменный ток, генерируемый MG1 или MG2 для зарядки высоковольтной аккумуляторной батареи, преобразуется инвертором в постоянный ток (с максимальным напряжением примерно 650 В). Затем повышающий преобразователь понижает это напряжение примерно до 288 В пост. тока. Это осуществляется транзистором IGBT (1), который включается и выключается управляющими импульсами, периодически прерывая подачу электроэнергии инвертором в дроссель.

        A000MH0E06
    13. Управление преобразователем гибридной системы


      1. Преобразователь гибридной системы в постоянный понижает номинальное напряжение высоковольтной аккумуляторной батареи 288 В примерно до 14 В для питания электрооборудования автомобиля, а также для подзарядки вспомогательной аккумуляторной батареи.

      2. В целях регулирования выходного напряжения преобразователя гибридной системы ЭБУ гибридной системы передает в этот преобразователь сигнал требуемого выходного напряжения в соответствии с сигналами датчика температуры вспомогательной аккумуляторной батареи (термистора).

        A000MBWE02
    14. Управление датчиком напряжения аккумуляторной батареи


      1. Датчик напряжения аккумуляторной батареи регистрирует и передает в ЭБУ гибридной системы сигналы состояния высоковольтной аккумуляторной батареи (напряжение, ток и температуру), которые используются для определения токов зарядки и разрядки.

      2. Кроме того, датчик напряжения аккумуляторной батареи регистрирует и передает в ЭБУ гибридной системы сигналы напряжения вентилятора охлаждения аккумуляторной батареи, которые необходимы для управления охлаждением высоковольтной аккумуляторной батареи.

      3. В датчике напряжения аккумуляторной батареи имеется схема определения утечки, позволяющая обнаружить чрезмерное потребление тока от высоковольтной аккумуляторной батареи.

        A000M1GE02
    15. Функции управления ЭБУ системы противоскольжения в сборе


      1. ЭБУ системы противоскольжения рассчитывает общее требуемое тормозное усилие исходя из давления в главном тормозном цилиндре блока управления рабочими цилиндрами тормозов и сигнала датчика хода педали тормоза, формируемого при нажатии водителем педали тормоза.

      2. После расчета общего требуемого тормозного усилия ЭБУ системы противоскольжения передает запрос на рекуперативное торможение в ЭБУ гибридной системы. В ответ ЭБУ гибридной системы определяет возможное усилие рекуперативного тормоза.

      3. ЭБУ гибридной системы использует MG2 для создания отрицательного крутящего момента (усилия замедления) и, таким образом, обеспечивает рекуперативное торможение.

      4. ЭБУ системы противоскольжения управляет блоком управления рабочими цилиндрами тормозов и создает давление в рабочих тормозных цилиндрах. Создаваемое давление представляет собой величину, которая остается после вычитания текущего значения управления рекуперативным торможением из общего требуемого тормозного усилия.

      5. Во время действия TRC или VSC для устранения пробуксовки колес ЭБУ системы противоскольжения передает в ЭБУ гибридной системы запрос на ограничение тягового усилия. ЭБУ гибридной системы управляет двигателем, MG1 и MG2 в соответствии с текущими условиями движения, чтобы подавить тяговое усилие.

        A000MMTE04
    16. Управление при столкновении


      1. В рассмотренных ниже ситуациях ЭБУ гибридной системы отключает электропитание, выключая главные реле системы (SMR), чтобы обеспечить безопасность.

      2. При фронтальном, боковом или заднем боковом столкновении ЭБУ гибридной системы получает сигнал развертывания подушек безопасности от центрального блока управления системы SRS.

        A000MICE17
    17. Переключение режима привода EV


      1. Режим привода EV позволяет снизить шум при движении автомобиля, например, при въезде в гараж или выезде из него, а также уменьшить выброс отработавших газов в гараже. Когда водитель нажимает переключатель режима привода EV, ЭБУ гибридной системы использует для привода автомобиля только MG2, если это допускается рабочими условиями.

      2. Расстояние, на которое возможно перемещение в режиме привода EV, определяется условиями езды и степенью заряда высоковольтной аккумуляторной батареи. Тем не менее, обычно оно варьируется примерно от нескольких сотен метров (нескольких сотен ярдов) до 1 км (0,6 мили).

      3. Если выполняются все необходимые условия, при нажатии переключателя режима привода EV автомобиль переходит в этот режим, и загорается контрольная лампа режима привода EV. Если при нажатии переключателя не выполняется хотя бы одно из условий, на мультиинформационном дисплее отображается сообщение, информирующее водителя о невозможности выполнить переход в требуемый режим и отклонении команды, переданной с помощью переключателя режима привода EV.

      4. Если во время движения в режиме привода EV нарушается любое из условий работы, контрольная лампа режима привода EV мигает 3 раза, и звучит зуммер. После автоматического выхода из режима привода EV появляется новое сообщение, указывающее на выход из режима привода EV.

    18. Функции управления выбором режима движения


      1. Режим вождения (NORMAL, COMFORT, ECO или SPORT S/S+) можно выбрать с помощью переключателя выбора режима вождения.

      2. Выбранный режим вождения отображается на мультиинформационном дисплее на щитке приборов.

      3. Ниже описаны характеристики каждого режима вождения:

        Режим движения Описание
        Режим NORMAL (режим COMFORT) Этот режим вождения обеспечивает оптимальную управляемость.
        Режим ECO ЭБУ гибридной системы оптимизирует расход топлива и управляемость, более плавно увеличивая тяговое усилие по сравнению с нормальным режимом при нажатии педали акселератора. В то же время в режиме Eco ЭБУ оптимизирует работу системы кондиционирования.
        Режим SPORT S ЭБУ гибридной системы управляет тяговым усилием в промежуточной зоне нажатия педали акселератора в большей степени, чем в режиме NORMAL, улучшая тем самым характеристики разгона. Кроме того, повышена динамичность изменения частоты вращения коленчатого вала двигателя при больших углах нажатия педали акселератора, чем достигается спортивный режим вождения.
        Режим SPORT S+ В дополнение к управлению в режиме SPORT S, для переключения в режим SPORT S+ объединена работа системы управления подвеской и системы рулевого управления с целью повысить удобство использования и устойчивость без потери комфорта и управляемости. Это обеспечивает управление, соответствующее намерениям водителя.
        A000MKPE03
    19. Управление в режиме SNOW


      1. Режим SNOW можно выбрать с помощью переключателя режима SNOW.

      2. Когда выбран режим SNOW, ЭБУ гибридной системы улучшает характеристики трогания с места и разгона на скользкой дорожной поверхности, например на снегу, когда колеса могут прокручиваться. Это достигается путем ограничения тягового усилия в большей степени, чем в режиме NORMAL.

      3. Когда активируется режим SNOW, тяговое усилие, регулируемое в соответствии с состоянием педали акселератора, снижается по отношению к нормальному для данного угла поворота педали акселератора, что заставляет колеса свободно скользить, и упрощает управление с помощью педали акселератора.

        A000M49E03
  4. КОНСТРУКЦИЯ


    1. Мотор-генератор 1 (MG1) и мотор-генератор 2 (MG2)


      1. Каждый из мотор-генераторов MG1 и MG2 включает в себя статор, обмотку статора, ротор, постоянные магниты и резольвер.

      2. MG1 и MG2 представляют собой компактные облегченные электродвигатели переменного тока с постоянными магнитами и высоким КПД.

      3. MG1 заряжает высоковольтную аккумуляторную батарею и передает электрическую энергию для приведения в движение MG2. Кроме того, регулируя количество генерируемой электроэнергии (тем самым, изменяя частоту вращения генератора), MG1 эффективно управляет бесступенчатой трансмиссией. Кроме того, во время пуска двигателя MG1 действует как стартер.

      4. MG2 приводит в движение задние колеса, используя электрическую энергию от MG1 или высоковольтной аккумуляторной батареи. Кроме того, во время замедления он действует как генератор, заряжая высоковольтную аккумуляторную батарею.

        A000MK8E02
        Обозначения на рисунке
        *1 Мотор-генератор № 1 (MG1) *2 Обмотка статора
        *3 Постоянный магнит *4 Ротор
        *5 Статор *6 Мотор-генератор № 2 (MG2)
        *7 Резольвер - -
      5. При протекании трехфазного переменного тока через трехфазные обмотки статора в электродвигателе создается вращающееся магнитное поле. Вследствие регулирования этого вращающегося магнитного поля в соответствии с угловым положением и частотой вращения ротора постоянные магниты, установленные на ротор, притягиваются вращающимся магнитным полем и, таким образом, создают крутящий момент.

      6. Создаваемый крутящий момент практически пропорционален амплитуде тока, а частота вращения определяется частотой переменного тока.

      7. Кроме того, за счет надлежащего регулирования взаимосвязи вращающегося магнитного поля и углов магнитов ротора высокий крутящий момент может эффективно создаваться вплоть до самых высоких частот вращения.

      8. Когда электродвигатель генерирует электроэнергию, вращение ротора приводит к созданию магнитного поля, которое вызывает появление тока в обмотках фаз статора.

        A000MNQE03
        Обозначения на рисунке
        *1 Обмотка статора (фаза U) *2 Обмотка статора (фаза V)
        *3 Обмотка статора (фаза W) *4 Ротор (постоянный магнит)
        *a От преобразователя-инвертора в сборе *b Соединены внутри электродвигателя
        *c Вращающееся магнитное поле *d Отталкивание
        *e Притягивание - -
        A000MP3E03
        *a Формы трехфазного переменного тока:
        *b Ток
    2. Резольвер


      1. Резольвер представляет собой чрезвычайно надежный и компактный датчик, который точно определяет положение магнитного полюса. Знание точных положений магнитных полюсов ротора электродвигателя необходимо для обеспечения эффективного управления мотор-генераторами MG1 и MG2. Каждый из мотор-генераторов MG1 и MG2 имеет собственный резольвер.

      2. Статор резольвера содержит катушки 3 типов: катушку возбуждения A, катушку обнаружения S и катушку обнаружения C.

      3. Ротор резольвера имеет овальную форму, поэтому при его вращении зазор между статором и ротором изменяется.

      4. Протекание переменного тока через катушку возбуждения A вызывает формирование магнитного поля постоянной частоты. Под действием этого магнитного поля катушки S и C выдают сигналы, которые соответствуют положению ротора. Соответственно, ЭБУ мотор-генератора (ЭБУ MG) определяет абсолютное положение по разности выходных сигналов катушек S и C. Кроме того, исходя из изменения положения за заданный интервал времени ЭБУ MG вычисляет частоту вращения.

      5. Сигналы пар +S и -S катушки обнаружения S сдвинуты по фазе на 90 градусов. Сигналы пар +C и -C сдвинуты по фазе точно так же. Сигналы пар C и S катушек сдвинуты по фазе относительно друг друга на 45 град.

        A000MC6E03
        Обозначения на рисунке
        *1 +S (катушка обнаружения S) *2 +C (катушка обнаружения C)
        *3 -S (катушка обнаружения S) *4 -C (катушка обнаружения C)
        *5 Катушка возбуждения A *6 Ротор
        *a Вид внутренней конструкции резольвера *b Электрическая ориентация катушек резольвера
        *c Схема катушки обнаружения S *d Схема катушки обнаружения C
      6. Так как в катушку возбуждения резольвера подается переменный ток постоянной частоты, магнитное поле постоянной частоты действует на катушки S и C независимо от частоты вращения ротора. Магнитное поле катушки возбуждения переносится ротором к катушкам S и C. Ротор имеет овальную форму, поэтому при его вращении зазор между статором и ротором резольвера изменяется. Из-за изменения зазора максимальные значения выходных сигналов катушек S и C изменяются в соответствии с положением ротора.

      7. ЭБУ MG постоянно контролирует эти максимальные значения и, соединяя их, формирует эквивалентный сигнал. ЭБУ MG вычисляет абсолютное положение ротора, исходя из разности значений сигналов катушек S и C. Кроме того, по разности фаз эквивалентных сигналов катушек S и C ЭБУ MG определяет направление вращения ротора. Наконец, на основании изменения положения ротора за заданный интервал времени, ЭБУ MG рассчитывает частоту вращения.

      8. На приведенных ниже диаграммах показаны выходные сигналы катушек A, S и C при совершении ротором поворота на 180°.

        A000MBYE05
        *1 Катушка возбуждения A
        *2 Катушка обнаружения S
        *3 Виртуальный сигнал
        *4 Катушка обнаружения C
    3. Датчик температуры мотор-генератора


      1. Датчики температуры используются для определения температур статоров электродвигателей.

      2. Сопротивление термистора датчика температуры изменяется в соответствии с изменением температуры электродвигателя. При низкой температуре электродвигателя сопротивление термистора велико. И наоборот, при высокой температуре электродвигателя сопротивление термистора мало.

      3. Когда температура электродвигателя возрастает, его мощность ограничивается.

        A000MO0E04
        *1 Характеристики датчика температуры
        *2 Сопротивление
        *3 Температура
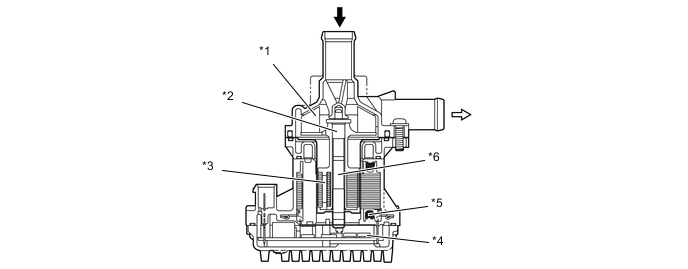
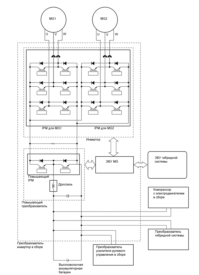
    4. Преобразователь-инвертор в сборе


      1. Преобразователь-инвертор в сборе обладает многослойной структурой, которая включает в себя ЭБУ мотор-генератора (ЭБУ MG), инвертор, повышающий преобразователь и конденсатор. Благодаря этому конструкция отличается легкостью и компактностью.

      2. Повышающий преобразователь и инвертор объединены в одном блоке (в узле преобразователя-инвертора в сборе) и обеспечивают повышение номинального выходного напряжения высоковольтной аккумуляторной батареи 288 В постоянного тока до максимального значения 650 В постоянного тока. После повышения напряжения инвертор преобразует постоянный ток в переменный.

      3. Преобразователь-инвертор в сборе охлаждается специальным радиатором системы охлаждения, который не входит в систему охлаждения двигателя.

      4. В качестве силовых транзисторов в каждом интеллектуальном силовом модуле (IPM) применяются биполярные транзисторы с изолированным затвором (IGBT). Для охлаждения IGBT используется двусторонняя охлаждающая конструкция, которая эффективно отводит тепло, выделяемое во время работы системы. Благодаря этой конструкции удалось уменьшить размеры преобразователь-инвертора в сборе.

        A000M5JE02
        Обозначения на рисунке
        *1 ЭБУ мотор-генератора (ЭБУ MG) *2 Повышающий преобразователь и инвертор
        *3 Конденсатор - -
        A000MMHE02
    5. Инвертор


      1. Инвертор преобразует постоянный ток повышенного высокого напряжения высоковольтной аккумуляторной батареи в трехфазный переменный ток для питания MG1 и MG2.

      2. ЭБУ гибридной системы управляет работой силовых транзисторов через ЭБУ мотор-генератора (ЭБУ MG). Кроме того, инвертор передает в ЭБУ гибридной системы через ЭБУ MG информацию, необходимую для текущего управления, такую как выходной ток или напряжение.

      3. Силовые транзисторы, используемые в инверторе, представляют собой биполярные транзисторы с изолированным затвором (IGBT).

      4. Каждая из мостовых схем для MG1 и MG2 содержит 6 биполярных транзисторов с изолированным затвором, которые располагаются в высоковольтной сильноточной части интеллектуального силового модуля (IPM). При этом в управляющую часть IPM встроен сигнальный процессор/процессор обеспечения защиты. IPM управляет силовыми транзисторами в соответствии с сигналами от ЭБУ MG.

        A000M87E03
        *1 Датчик тока инвертора
        *2 IPM для MG1
        *3 IPM для MG2
        *4 Инвертор
    6. Повышающий преобразователь


      1. Повышающий преобразователь повышает номинальное напряжение 288 В пост. тока, выдаваемое высоковольтной аккумуляторной батареей, до максимального уровня 650 В пост. тока. В состав преобразователя входят повышающий интеллектуальный силовой модуль (IPM) с парой встроенных биполярных транзисторов с изолированным затвором (IGBT), который выполняет импульсное регулирование, и дроссель, действующий как катушка индуктивности. С помощью этих компонентов преобразователь повышает напряжение.

      2. Когда MG1 или MG2 работает в режиме генератора, инвертор преобразует переменный ток (с максимальным напряжением 650 В пост. тока) в постоянный, после чего повышающий преобразователь понижает это напряжение до номинального уровня 288 В пост. тока, обеспечивая зарядку высоковольтной аккумуляторной батареи.

        A000MLPE04
    7. ЭБУ мотор-генератора (ЭБУ MG)


      1. В преобразователь-инвертор в сборе встроен ЭБУ мотор-генератора (ЭБУ MG). В соответствии с сигналами, получаемыми от ЭБУ гибридной системы, ЭБУ MG управляет инвертором и повышающим преобразователем для приведения в движение MG1 или MG2, либо обеспечения их работы в режиме генерирования электроэнергии.

      2. ЭБУ MG передает в ЭБУ гибридной системы информацию, необходимую для управления автомобилем, такую как выходной ток инвертора, температура инвертора и данные о неисправностях. От ЭБУ гибридной системы он получает информацию, необходимую для управления мотор-генераторами, например, данные о требуемом тяговом усилии или температуре электродвигателя.

    8. Датчик тока инвертора


      1. Для измерения 3-фазного переменного тока, который используется для питания MG1 и MG2, предусмотрены датчики тока на фазах V и W. Действующее значение тока измеряется и используется ЭБУ мотор-генератора (ЭБУ MG) как сигнал обратной связи.

      2. Если измеряются значения тока 2 фаз (фаз V и W), ток фазы U может быть определен даже несмотря на отсутствие датчика тока на этой фазе (ток фазы U + ток фазы V + ток фазы W = 0).

        A000MHUE03
    9. Датчик температуры инвертора


      1. В преобразователе-инверторе в сборе имеются 5 разных датчиков температуры: 1 датчик температуры охлаждающей жидкости, 2 для повышающего преобразователя и по 1 для интеллектуальных силовых модулей для MG1 и MG2. ЭБУ мотор-генератора (ЭБУ MG) контролирует эффективность работы системы охлаждения инвертора исходя из данных о температуре, поступающих от этих датчиков. Кроме того, при высокой температуре мощность инвертора ограничивается.

        A000M4LE02
    10. Датчик атмосферного давления


      1. На плату ЭБУ мотор-генератора (ЭБУ MG) устанавливается датчик атмосферного давления.

      2. Этот датчик измеряет атмосферное давление и передает соответствующий сигнал в ЭБУ MG, чтобы последний мог внести поправки, отражающие состояние окружающей среды.

    11. Радиатор инвертора


      1. Радиатор инвертора и радиатор двигателя отделены друг от друга. Радиатор инвертора устанавливается перед радиатором двигателя.

      2. Вентилятор системы охлаждения также совместно используется радиатором двигателя и конденсатором системы кондиционирования.

        A000MH5E02
        Обозначения на рисунке
        *1 Радиатор инвертора *2 Конденсор кондиционера
        *3 Радиатор двигателя - -
    12. Насос системы охлаждения инвертора с электродвигателем в сборе


      1. В системе охлаждения используется компактный высокопроизводительный электрический насос.

      2. Для привода насоса используется мощный бесщеточный электродвигатель постоянного тока. Кроме того, благодаря применению подшипников, поддерживающих вал с обоих концов, ослабляются шум и вибрации.

        A000M27E02
        Обозначения на рисунке
        *1 Лопасть *2 Подшипник
        *3 Магнит *4 Схема управления
        *5 Обмотка *6 Вал
        A000M4P Впуск охлаждающей жидкости A000MO2 Выпуск охлаждающей жидкости
    13. Силовой кабель


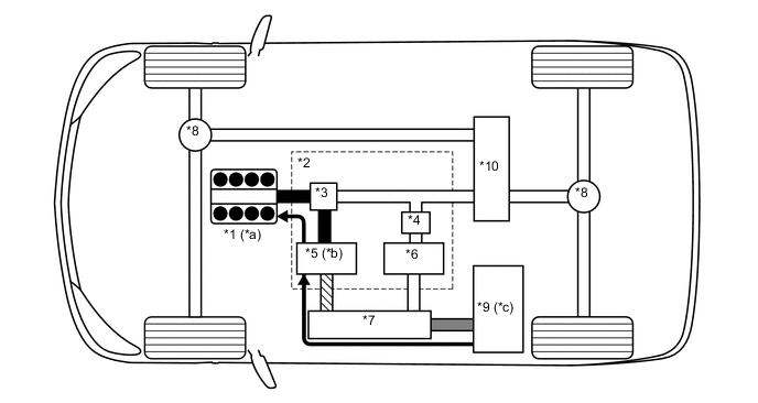
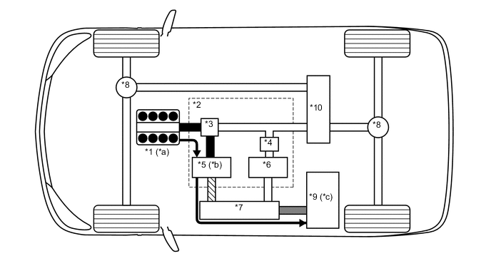
      1. Рассчитанные на высокое напряжение и большой ток силовые кабели соединяют высоковольтную аккумуляторную батарею с преобразователем-инвертором в сборе, преобразователь-инвертор в сборе с MG1 и MG2, а также преобразователь-инвертор в сборе с компрессором с электродвигателем в сборе. Силовой кабель соединен с разъемом распределительного блока гибридной системы, который находится за задним сиденьем. Силовой кабель проходит под панелью пола вдоль усилителя пола и подключается к преобразователю-инвертору в сборе в моторном отсеке.

      2. Для уменьшения электромагнитных помех силовые кабели имеют экраны.

      3. В целях идентификации высоковольтные жгуты проводов и разъемы промаркированы оранжевым цветом, чтобы их можно было отличить от обычной низковольтной проводки.

        A000MEDE03
        Обозначения на рисунке
        *1 Преобразователь-инвертор в сборе *2 Компрессор с электродвигателем в сборе
        *3 Преобразователь гибридной системы *4 Вентилятор охлаждения аккумуляторной батареи в сборе (для нижней стороны)
        *5 Вентилятор охлаждения аккумуляторной батареи в сборе (для верхней стороны) *6 Распределительный блок аккумуляторной батареи гибридной системы в сборе
        *7 MG1 *8 MG2
        *9 Преобразователь усилителя рулевого управления в сборе *10 Зажим сервисного размыкателя цепи
    14. Высоковольтная аккумуляторная батарея в сборе


      1. Высоковольтная аккумуляторная батарея в сборе состоит из 2 групп модулей высоковольтной аккумуляторной батареи, датчика напряжения аккумуляторной батареи, распределительного блока гибридной системы, термистора аккумуляторной батареи гибридной системы, 2 вентиляторов охлаждения аккумуляторной батареи, преобразователя гибридной системы, вентилятора охлаждения преобразователя и зажима сервисного размыкателя цепи.

      2. Верхняя и нижняя группы модулей высоковольтной аккумуляторной батареи расположены одна над другой в два ряда в багажном отделении позади заднего сиденья.

      3. Для каждой из 2 групп модулей высоковольтной аккумуляторной батареи предусмотрен один вентилятор системы охлаждения блока аккумуляторных батарей.

      4. Зажим сервисного размыкателя цепи предназначен для отключения внутренней цепи аккумуляторной батареи.

        A000M9TE02
        Обозначения на рисунке
        *1 Вентилятор охлаждения аккумуляторной батареи в сборе (для верхней стороны) *2 Вентилятор охлаждения аккумуляторной батареи в сборе (для нижней стороны)
        *3 Термистор аккумуляторной батареи гибридной системы *4 Зажим сервисного размыкателя цепи
        *5

        Распределительный блок аккумуляторной батареи гибридной системы в сборе

        - SMRG

        - SMRB

        - Датчик тока высоковольтной аккумуляторной батареи

        *6 Датчик напряжения аккумуляторной батареи
        *7

        Преобразователь гибридной системы

        - SMRP

        - Резистор предварительной зарядки

        *8 Нижняя группа модулей высоковольтной аккумуляторной батареи
        *9 Вентилятор охлаждения преобразователя *10 Контроллер вентилятора охлаждения преобразователя
        *11 Верхняя группа модулей высоковольтной аккумуляторной батареи - -
    15. Группа модулей высоковольтной аккумуляторной батареи


      1. Модули высоковольтной аккумуляторной батареи внутри кожуха разделены на 2 группы.

      2. Группы модулей высоковольтной аккумуляторной батареи организованы в верхнюю и нижнюю группу модулей высоковольтной аккумуляторной батареи. Верхняя группа модулей высоковольтной аккумуляторной батареи состоит из 6 модулей. Нижняя группа модулей высоковольтной аккумуляторной батареи состоит из 14 модулей.

      3. Группы модулей высоковольтной аккумуляторной батареи включают 20 модулей, которые соединены последовательно модулем шины. Соединения между элементами выполнены в 2 точках, чтобы уменьшить внутреннее сопротивление и повысить эффективность.

      4. Каждый модуль высоковольтной аккумуляторной батареи состоит из 12 элементов. Напряжение 1 элемента составляет 1,2 В. Высоковольтная аккумуляторная батарея содержит в общей сложности 240 элементов (12 элементов x 20 модулей) и имеет номинальное напряжение 288 В (1,2 В x 240 элементов).

      5. Кожухи модулей изготовлены из металла, что обеспечивает улучшенное охлаждение и компактность конструкции.

        A000MF1E02
        Обозначения на рисунке
        *1 Нижняя группа модулей высоковольтной аккумуляторной батареи (14 модулей) *2 Верхняя группа модулей высоковольтной аккумуляторной батареи (6 модулей)
    16. Датчик напряжения аккумуляторной батареи


      1. Датчик напряжения аккумуляторной батареи определяет состояние высоковольтной аккумуляторной батареи (температуру, напряжение и ток) и напряжение на вентиляторе охлаждения аккумуляторной батареи, после чего передает эти сигналы в ЭБУ гибридной системы.

        A000MDDE02
        Обозначения на рисунке
        *1 Датчик напряжения аккумуляторной батареи - -
    17. Распределительный блок аккумуляторной батареи гибридной системы в сборе


      1. В распределительный блок гибридной системы в сборе встроены реле SMRG, SMRB и датчик тока высоковольтной аккумуляторной батареи.

        A000M2ME02
        Обозначения на рисунке
        *1 SMRB (+) *2 SMRG (-)
        *3 Распределительный блок аккумуляторной батареи гибридной системы в сборе *4 Датчик тока высоковольтной аккумуляторной батареи
    18. Датчик тока высоковольтной аккумуляторной батареи


      1. Датчик тока высоковольтной аккумуляторной батареи, установленный на кабеле высокого напряжения внутри высоковольтной аккумуляторной батареи в сборе, определяет ток. Датчик передает сигнал напряжения в датчик напряжения аккумуляторной батареи. Этот сигнал изменяется от 0,5 до 4,5 В пропорционально изменениям тока, протекающего через высоковольтную аккумуляторную батарею в сборе. Напряжение ниже 2,5 В означает, что высоковольтная аккумуляторная батарея в сборе разряжается, а напряжение выше 2,5 В – что она заряжается.

        A000ML1E02
    19. Термистор аккумуляторной батареи гибридной системы


      1. Предусмотрено 7 термисторов аккумуляторной батареи гибридной системы: 3 из них установлены на верхней группе модулей аккумуляторной батареи, 3 - на нижней группе модулей аккумуляторной батареи, а один находится на впускном воздуховоде.

      2. Сопротивление термистора аккумуляторной батареи гибридной системы изменяется в зависимости от температуры высоковольтной аккумуляторной батареи в сборе.

      3. Датчик напряжения аккумуляторной батареи передает показания термистора аккумуляторной батареи гибридной системы в ЭБУ гибридной системы, который управляет вентиляторами охлаждения аккумуляторной батареи.

        A000MM5E02
        Обозначения на рисунке
        *1 Термистор аккумуляторной батареи гибридной системы - -
    20. Зажим сервисного размыкателя цепи


      1. Зажим сервисного размыкателя цепи включен в разрыв цепи модуля аккумуляторной батареи и позволяет вручную отключить цепь высокого напряжения.

      2. В зажиме сервисного размыкателя цепи установлен предохранитель Main для цепи высокого напряжения.

      3. Зажим сервисного размыкателя цепи снабжен выключателем блокировки. Когда зажим разблокирован, выключатель блокировки выключен, и ЭБУ гибридной системы выключает главные реле системы. Однако по соображениям безопасности обязательно выключите питание перед тем, как снимать зажим сервисного размыкателя цепи.

        A000MF6E03
        *1 Высоковольтная аккумуляторная батарея
        *2 Предохранитель Main
        *3 Выключатель блокировки
        *4 Зажим сервисного размыкателя цепи

        Note

        Дополнительная информация по обращению с сервисным размыкателем цепи и прочие меры предосторожности приведены в Руководстве по ремонту.

    21. Преобразователь гибридной системы


      1. Преобразователь гибридной системы установлен на блоке высоковольтной аккумуляторной батареи.

      2. Для питания такого вспомогательного оборудования автомобиля, как освещение, аудиосистема и система кондиционирования (за исключением компрессора с электродвигателем в сборе), а также различных ЭБУ используется напряжение 14 В пост. тока. Поскольку номинальное напряжение на выходе гибридной системы составляет 288 В пост. тока, используется преобразователь гибридной системы, который преобразует напряжение 288 В пост. тока примерно в 14 В пост. тока, обеспечивая подзарядку вспомогательной аккумуляторной батареи.

      3. Вентилятор охлаждения преобразователя работает под управлением контроллера вентилятора охлаждения преобразователя.

      4. Реле SMRP установлено в преобразователе гибридной системы.

        A000MFIE02
        Обозначения на рисунке
        *1

        Преобразователь гибридной системы

        - SMRP (предварительная зарядка)

        *2 Вентилятор охлаждения преобразователя
        *3 Контроллер вентилятора охлаждения преобразователя - -
        A000MEHE02
    22. Преобразователь усилителя рулевого управления в сборе


      1. Преобразователь усилителя рулевого управления расположен на верхней секции блока высоковольтной аккумуляторной батареи.

        A000M3KE02
        Обозначения на рисунке
        *1 Преобразователь усилителя рулевого управления в сборе - -
      2. Этот преобразователь понижает номинальное постоянное напряжение высоковольтной аккумуляторной батареи 288 В до напряжения 46 В, которое подается на ЭБУ рулевого управления с усилителем, обеспечивая работу системы EPS. Если автомобиль оборудован подвеской с активными стабилизаторами, преобразователь обеспечивает электропитание ЭБУ переднего активного стабилизатора и ЭБУ заднего активного стабилизатора.

      3. Если подача питания в EPS прерывается, преобразователь усилителя рулевого управления повышает напряжение вспомогательной аккумуляторной батареи с 12 В до 33 В, обеспечивая питание системы EPS.

        A000M63E04
    23. Вспомогательная аккумуляторная батарея


      1. Вспомогательная аккумуляторная батарея представляет собой экранированную аккумуляторную батарею 12 В постоянного тока и не нуждается в техническом обслуживании.

      2. На вспомогательной аккумуляторной батарее смонтирован датчик температуры аккумуляторной батареи.

      3. Вспомогательная аккумуляторная батарея располагается в багажном отделении с левой стороны.

        A000M1YE02
        Обозначения на рисунке
        *1 Датчик температуры вспомогательной аккумуляторной батареи *2 Вспомогательная аккумуляторная батарея
    24. Датчик температуры вспомогательной аккумуляторной батареи


      1. Способность аккумуляторной батареи принимать зарядный ток (внутреннее сопротивление) изменяется в зависимости от температуры электролита. При слишком низкой или слишком высокой температуре электролита аккумуляторной батареи она будет истощаться быстрее и выйдет из строя преждевременно.

      2. Чтобы предотвратить это, температура вспомогательной аккумуляторной батареи измеряется датчиком, сопротивление которого изменяется, как показано ниже, и ЭБУ гибридной системы определяет температуру вспомогательной аккумуляторной батареи.

        A000M9NE12
        *1 Высокая
        *2 Сопротивление
        *3 Низкая
        *4 Battery Temperature
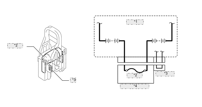
    25. Датчик положения педали акселератора


      1. Бесконтактный датчик положения педали акселератора определяет положение, используя элемент Холла, смонтированный на рычаге педали акселератора.

        A000LZOE02
        Обозначения на рисунке
        *1 Датчик Холла *2 Ярмо магнита
        *3 Рычаг педали акселератора - -
      2. В основании рычага педали акселератора установлено ярмо магнита. Это ярмо поворачивается вокруг датчика Холла в соответствии с усилием на педали акселератора. Датчик Холла преобразует возникающие при этом изменения магнитного потока в электрические сигналы, отражающие положение педали акселератора, и передает их в ЭБУ гибридной системы.

      3. В датчике Холла имеются две цепи: одна – для основного сигнала, другая – для вспомогательного. Датчик преобразует положение (угол поворота) педали акселератора в различающиеся по характеристикам электрические сигналы и передает их в ЭБУ гибридной системы.

        A000MDFE05
  5. ПРИНЦИП РАБОТЫ


    1. Работа гибридной системы


      1. В гибридной системе тяговое усилие создается двигателем и MG2, а MG1 используется в первую очередь в качестве генератора. Система оптимальным образом сочетает эти усилия в зависимости от условий движения.

      2. ЭБУ гибридной системы непрерывно контролирует степень заряда высоковольтной аккумуляторной батареи и ее температуру, а также температуру охлаждающей жидкости двигателя и состояние электрической нагрузки. Если какой-либо контролируемый параметр не отвечает требованиям, когда индикатор READY включен, и рычаг переключения передач находится в положении P, R, D или S, либо автомобиль движется задним ходом, ЭБУ гибридной системы выдает команду запуска двигателя, чтобы привести в движение MG1 для заряда аккумуляторной батареи гибридной системы.

      3. Гибридная система приводит автомобиль в движение, оптимально управляя совместной работой двигателя, MG1 и MG2 в соответствии с условиями движения, указанными в приведенной ниже таблице.

        A000MCGE02
        *1 Передняя передача
        *2 Скорость автомобиля
        *3 Время
        *4 Заднего хода
        Условия движения
        А Состояние готовности (READY-ON)
        B Трогание с места
        C Движение с приводом от MG2 и двигателя
        D Движение с постоянной скоростью
        E Во время разгона при полностью открытой дроссельной заслонке
        F Во время замедления
        G Движение задним ходом
    2. Условия движения A: Состояние готовности (READY-ON)


      1. Иногда, даже если водитель включает питание (READY), двигатель не запускается. В этом случае двигатель, MG1 и MG2 остаются остановленными. Двигатель запускается только при выполнении определенных условий относительно температуры охлаждающей жидкости двигателя, степени заряда высоковольтной аккумуляторной батареи, температуры высоковольтной аккумуляторной батареи и электрической нагрузки.

      2. Если после поездки водитель останавливает автомобиль и переводит рычаг переключения передач в положение P, ЭБУ гибридной системы оставляет двигатель работающим. Двигатель продолжит работать, пока степень заряда высоковольтной аккумуляторной батареи, температура охлаждающей жидкости двигателя, температура высоковольтной аккумуляторной батареи и/или состояние электрической нагрузки не достигнут определенного уровня.

      3. Если ЭБУ гибридной системы определяет, что любой из контролируемых им параметров требует запуска двигателя, когда индикатор READY включен, и рычаг переключения передач установлен в положение P, ЭБУ гибридной системы включает MG1, чтобы запустить двигатель.

      4. Во время прокручивания коленчатого вала двигателя в целях предотвращения вращения коронной шестерни и ведущих колес реактивным усилием солнечной шестерни MG1 ток также подается в MG2, чтобы не допустить вращения MG2. Данная функция называется "реактивное регулирование".

        A000MCTE02
        Обозначения на рисунке
        *1 Двигатель *2 Гибридная трансмиссия (трансмиссия автомобиля с гибридным приводом в сборе)
        *3 Планетарная передача деления мощности *4 2-ступенчатый планетарный редуктор электродвигателя
        *5 Мотор-генератор № 1 (MG1) *6 Мотор-генератор № 2 (MG2)
        *7 Преобразователь-инвертор в сборе *8 Дифференциал
        *9 HV Battery (высоковольтная аккумуляторная батарея) *10 Раздаточная коробка
        *a Ведомый *b Привод
        *c Выпуск - -
        A000M4P Передача мощности A000MKG Путь передачи механической энергии
        A000M71 Путь передачи электрической энергии (постоянного тока) A000MFG Путь передачи электрической энергии (переменного тока)
      5. Если степень заряда высоковольтной аккумуляторной батареи низка, аккумуляторная батарея заряжается MG1, приводимым в движение двигателем.

        A000MKFE02
        Обозначения на рисунке
        *1 Двигатель *2 Гибридная трансмиссия (трансмиссия автомобиля с гибридным приводом в сборе)
        *3 Планетарная передача деления мощности *4 2-ступенчатый планетарный редуктор электродвигателя
        *5 Мотор-генератор № 1 (MG1) *6 Мотор-генератор № 2 (MG2)
        *7 Преобразователь-инвертор в сборе *8 Дифференциал
        *9 HV Battery (высоковольтная аккумуляторная батарея) *10 Раздаточная коробка
        *a Привод *b Ведомый - вырабатывает электроэнергию
        *c Заряжается от MG1 - -
        A000M4P Передача мощности A000MKG Путь передачи механической энергии
        A000M71 Путь передачи электрической энергии (постоянного тока) A000MFG Путь передачи электрической энергии (переменного тока)
    3. Режим движения B: Трогание с места


      1. При трогании автомобиля с места он приводится в движение посредством MG2.

        A000MAZE03
        Обозначения на рисунке
        *1 Двигатель *2 Гибридная трансмиссия (трансмиссия автомобиля с гибридным приводом в сборе)
        *3 Планетарная передача деления мощности *4 2-ступенчатый планетарный редуктор электродвигателя
        *5 Мотор-генератор № 1 (MG1) *6 Мотор-генератор № 2 (MG2)
        *7 Преобразователь-инвертор в сборе *8 Дифференциал
        *9 HV Battery (высоковольтная аккумуляторная батарея) *10 Раздаточная коробка
        *a Остановлен *b Вращается свободно
        *c Привод *d Выпуск
        A000M4P Передача мощности A000MKG Путь передачи механической энергии
        A000M71 Путь передачи электрической энергии (постоянного тока) A000MFG Путь передачи электрической энергии (переменного тока)
      2. Если степень заряда высоковольтной аккумуляторной батареи низка, аккумуляторная батарея заряжается MG1, приводимым в движение двигателем. Электроэнергия от MG1 используется также для привода MG2.

        A000MF2E02
        Обозначения на рисунке
        *1 Двигатель *2 Гибридная трансмиссия (трансмиссия автомобиля с гибридным приводом в сборе)
        *3 Планетарная передача деления мощности *4 2-ступенчатый планетарный редуктор электродвигателя
        *5 Мотор-генератор № 1 (MG1) *6 Мотор-генератор № 2 (MG2)
        *7 Преобразователь-инвертор в сборе *8 Дифференциал
        *9 HV Battery (высоковольтная аккумуляторная батарея) *10 Раздаточная коробка
        *a Привод *b Ведомый - вырабатывает электроэнергию
        *c Заряжается от MG1 - -
        A000M4P Передача мощности A000MKG Путь передачи механической энергии
        A000M71 Путь передачи электрической энергии (постоянного тока) A000MFG Путь передачи электрической энергии (переменного тока)
    4. Режим движения C: Движение с приводом от MG2 и двигателя


      1. Если в режиме привода от MG2 требуется увеличить крутящий момент, включается MG1 для пуска двигателя. Кроме того, MG1 включается для пуска двигателя, если значение какого-либо из параметров, контролируемых ЭБУ гибридной системы, например, степени заряда аккумуляторной батареи, температуры аккумуляторной батареи, температуры охлаждающей жидкости или электрической нагрузки, отклоняется от заданного.

        A000MR8E02
        Обозначения на рисунке
        *1 Двигатель *2 Гибридная трансмиссия (трансмиссия автомобиля с гибридным приводом в сборе)
        *3 Планетарная передача деления мощности *4 2-ступенчатый планетарный редуктор электродвигателя
        *5 Мотор-генератор № 1 (MG1) *6 Мотор-генератор № 2 (MG2)
        *7 Преобразователь-инвертор в сборе *8 Дифференциал
        *9 HV Battery (высоковольтная аккумуляторная батарея) *10 Раздаточная коробка
        *a Ведомый *b Привод
        *c Выпуск - -
        A000M4P Передача мощности A000MKG Путь передачи механической энергии
        A000M71 Путь передачи электрической энергии (постоянного тока) A000MFG Путь передачи электрической энергии (переменного тока)
    5. Режим движения D: При движении с низкой нагрузкой и постоянной скоростью


      1. Когда автомобиль движется с малой нагрузкой и постоянной скоростью, двигатель работает в наиболее эффективном диапазоне, обеспечивая автомобиль мощностью. Тяговое усилие двигателя разделяется на два усилия в планетарной передаче деления мощности. Одна часть тягового усилия используется для прямого привода колес, а другая – для генерирования электроэнергии посредством MG1. Электроэнергия от MG1 используется для привода MG2. Он создает дополнительное усилие к тяговому усилию двигателя, передаваемому напрямую, помогая снизить расход топлива.

        A000M5IE02
        Обозначения на рисунке
        *1 Двигатель *2 Гибридная трансмиссия (трансмиссия автомобиля с гибридным приводом в сборе)
        *3 Планетарная передача деления мощности *4 2-ступенчатый планетарный редуктор электродвигателя
        *5 Мотор-генератор № 1 (MG1) *6 Мотор-генератор № 2 (MG2)
        *7 Преобразователь-инвертор в сборе *8 Дифференциал
        *9 HV Battery (высоковольтная аккумуляторная батарея) *10 Раздаточная коробка
        *a Привод *b Ведомый - вырабатывает электроэнергию
        A000M4P Передача мощности A000MKG Путь передачи механической энергии
        A000MFG Путь передачи электрической энергии (переменного тока) - -
      2. Если степень заряда высоковольтной аккумуляторной батареи низка, большая часть мощности двигателя используется для генерации электроэнергии посредством MG1. Он заряжает высоковольтную аккумуляторную батарею.

        A000M56E02
        Обозначения на рисунке
        *1 Двигатель *2 Гибридная трансмиссия (трансмиссия автомобиля с гибридным приводом в сборе)
        *3 Планетарная передача деления мощности *4 2-ступенчатый планетарный редуктор электродвигателя
        *5 Мотор-генератор № 1 (MG1) *6 Мотор-генератор № 2 (MG2)
        *7 Преобразователь-инвертор в сборе *8 Дифференциал
        *9 HV Battery (высоковольтная аккумуляторная батарея) *10 Раздаточная коробка
        *a Привод *b Ведомый - вырабатывает электроэнергию
        *c Заряжается от MG1 - -
        A000M4P Передача мощности A000MKG Путь передачи механической энергии
        A000M71 Путь передачи электрической энергии (постоянного тока) A000MFG Путь передачи электрической энергии (переменного тока)
    6. Режим движения E: Во время разгона при полностью открытой дроссельной заслонке


      1. Когда автомобиль переходит из режима поддержания постоянной скорости при низкой нагрузке в режим разгона при полностью открытой дроссельной заслонке, система дополняет крутящий момент MG2 электрической мощностью высоковольтной аккумуляторной батареи.

        A000MBGE02
        Обозначения на рисунке
        *1 Двигатель *2 Гибридная трансмиссия (трансмиссия автомобиля с гибридным приводом в сборе)
        *3 Планетарная передача деления мощности *4 2-ступенчатый планетарный редуктор электродвигателя
        *5 Мотор-генератор № 1 (MG1) *6 Мотор-генератор № 2 (MG2)
        *7 Преобразователь-инвертор в сборе *8 Дифференциал
        *9 HV Battery (высоковольтная аккумуляторная батарея) *10 Раздаточная коробка
        *a Привод *b Ведомый - вырабатывает электроэнергию
        *c Выпуск - -
        A000M4P Передача мощности A000MKG Путь передачи механической энергии
        A000M71 Путь передачи электрической энергии (постоянного тока) A000MFG Путь передачи электрической энергии (переменного тока)
    7. Режим движения F: во время замедления


      1. Когда автомобиль движется с рычагом переключения передач в положении D и замедляется, двигатель выключается, и тяговое усилие от двигателя на колесах становится равным нулю. После этого колеса приводят в движение MG2, заставляя MG2 работать в режиме генератора, заряжая высоковольтную аккумуляторную батарею. Когда MG2 работает в качестве генератора, он создает сопротивление вращению колес, обеспечивая торможение. Если автомобиль замедляет движение на высокой скорости, коленчатый вал двигателя не прекращает вращение. Двигатель будет поддерживать заданную скорость в целях защиты планетарной передачи. Этот режим работы не показан на следующих схемах.

        A000M9GE02
        Обозначения на рисунке
        *1 Двигатель *2 Гибридная трансмиссия (трансмиссия автомобиля с гибридным приводом в сборе)
        *3 Планетарная передача деления мощности *4 2-ступенчатый планетарный редуктор электродвигателя
        *5 Мотор-генератор № 1 (MG1) *6 Мотор-генератор № 2 (MG2)
        *7 Преобразователь-инвертор в сборе *8 Дифференциал
        *9 HV Battery (высоковольтная аккумуляторная батарея) *10 Раздаточная коробка
        *a Остановлен *b Вращается свободно
        *c Ведомый - вырабатывает электроэнергию *d Заряжается от MG2
        A000M4P Передача мощности A000MKG Путь передачи механической энергии
        A000M71 Путь передачи электрической энергии (постоянного тока) A000MFG Путь передачи электрической энергии (переменного тока)
    8. Режим движения G: движение задним ходом


      1. Когда автомобиль движется задним ходом, мощность передается от MG2. В это время MG2 вращается в противоположном направлению движения направлении (-), двигатель может оставаться остановленным, а MG1 вращается в направлении (+), не генерируя электроэнергию. Если во время движения задним ходом любой из контролируемых ЭБУ гибридной системы параметров (степень заряда высоковольтной аккумуляторной батареи, температура высоковольтной аккумуляторной батареи, температура охлаждающей жидкости двигателя и электрическая нагрузка) достигает определенного уровня, двигатель запускается посредством MG1. Представленный ниже рисунок соответствует примеру, в котором двигатель не работает.

        A000MAZE03
        Обозначения на рисунке
        *1 Двигатель *2 Гибридная трансмиссия (трансмиссия автомобиля с гибридным приводом в сборе)
        *3 Планетарная передача деления мощности *4 2-ступенчатый планетарный редуктор электродвигателя
        *5 Мотор-генератор № 1 (MG1) *6 Мотор-генератор № 2 (MG2)
        *7 Преобразователь-инвертор в сборе *8 Дифференциал
        *9 HV Battery (высоковольтная аккумуляторная батарея) *10 Раздаточная коробка
        *a Остановлен *b Вращается свободно
        *c Привод *d Выпуск
        A000M4P Передача мощности A000MKG Путь передачи механической энергии
        A000M71 Путь передачи электрической энергии (постоянного тока) A000MFG Путь передачи электрической энергии (переменного тока)
  6. ДИАГНОСТИКА


    1. Если ЭБУ гибридной системы или ЭБУ мотор-генератора (ЭБУ MG) обнаруживает неисправность в гибридном приводе LEXUS, ЭБУ гибридной системы регистрирует неисправность и сохраняет в памяти информацию, связанную с ней. Чтобы проинформировать водителя о неисправности, ЭБУ гибридной системы обеспечивает включение или мигание контрольной лампы неисправности MIL, главной контрольной лампы аварийного состояния и выводит сообщение на мультиинформационный дисплей.

    2. ЭБУ гибридной системы сохраняет DTC, соответствующие неисправностям.

    3. В основные DTC, представляющие собой 5-значные коды, включены 3-значные информационные коды (коды INF). Это позволяет еще точнее локализовать неисправность в процессе диагностики.

    4. Коды INF доступны путем просмотра данных фиксированного набора параметров, связанных с DTC гибридной системы.

    5. Коды DTC можно считать с помощью Global TechStream (GTS).

    6. Постоянный код DTC используется для DTC, связанных с включением контрольной лампы неисправности (MIL). Постоянные коды DTC невозможно удалить с помощью Global TechStream (GTS), путем отсоединения вывода аккумуляторной батареи или извлечения предохранителя AM2.

    7. Более подробную информацию см. в руководстве по ремонту.