СИСТЕМА УПРАВЛЕНИЯ ГИБРИДНОЙ СИСТЕМОЙ


  1. ОПИСАНИЕ


    1. Гибридная система данного автомобиля основана на гибридном приводе LEXUS в рамках концепции "Hybrid Synergy Drive" (комплексный гибридный привод)*.

      Tech Tips

      *: Концепция "Hybrid Synergy Drive" дает 4 основных преимущества: снижение расхода топлива, уменьшение токсичности отработавших газов, плавный разгон и бесшумная работа.

    2. В автомобилях с гибридным приводом совместно используются источники энергии 2 видов: двигатель и электродвигатель, что позволяет пользоваться преимуществами каждого из этих источников и одновременно компенсировать их недостатки. В результате обеспечивается эффективная работа автомобиля.

    3. В отличие от электромобилей автомобили с гибридным приводом не нуждаются во внешней подзарядке аккумуляторных батарей. Таким образом, для эксплуатации автомобилей с гибридным приводом не требуется специальная инфраструктура.

    4. В различных областях продолжается техническое совершенствование силовых агрегатов (таких, как двигатель и топливная батарея). Гибридная система представляет собой гибкую систему, в которой используются высокоэффективный силовой агрегат и электродвигатели.

    5. В автомобилях с гибридным приводом имеются высоковольтные электрические цепи. Поэтому при разработке таких автомобилей особое внимание уделялось защите водителей и механиков от поражения электрическим током.

  2. ТЕХНИЧЕСКИЕ ХАРАКТЕРИСТИКИ

    Наименование Характеристики
    MG1 Тип Электродвигатель с постоянным магнитом
    Функция Генерация электроэнергии, запуск двигателя
    Максимальное напряжение системы 650 В пост. тока
    Система охлаждения С водяным охлаждением
    MG2 Тип Электродвигатель с постоянным магнитом
    Функция Приводит в движение колеса, вырабатывает электроэнергию
    Максимальное напряжение системы 650 В пост. тока
    Максимальная мощность 165 кВт (221 л.с.)
    Максимальный крутящий момент 300 Н*м (221 фунт-сила-фут)
    Система охлаждения С водяным охлаждением
    Повышающий преобразователь Номинальное напряжение (со стороны инвертора) 650 В пост. тока
    Номинальное напряжение (со стороны высоковольтной аккумуляторной батареи) 288 В постоянного тока
    Преобразователь гибридной системы Номинальное выходное напряжение

    13-14,5 В пост. тока (в нормальном режиме)

    11,5 В пост. тока (включение при низких температурах)

    Максимальный выходной ток 150 A
    Вентилятор охлаждения преобразователя Тип электродвигателя Бесщеточный
    Тип вентилятора Центробежный вентилятор Sirocco
    Объемный расход воздуха

    70 м3/час

    Насос системы охлаждения инвертора с электродвигателем в сборе Тип электродвигателя Бесщеточный
    Производительность Не менее 12 л/мин (12,7 кварты США, 10,6 английской кварты) при 65°C (149°F)
    Охлаждающая жидкость инвертора Тип Охлаждающая жидкость с увеличенным сроком замены (SLLC) от компании Toyota или аналогичная
    Цвет Розовый
    Объем 2,9 л (3,1 кварты США, 2,6 англ. кварты)
    Периодичность техобслуживания Первая замена 160000 км (100000 миль)
    Последующие замены Каждые 80000 км (50000 миль) пробега
    Высоковольтная аккумуляторная батарея Тип Герметически закрытая никель-металл-гидридная (Ni-MH) аккумуляторная батарея
    Количество элементов 240 элементов (12 элементов x 6 модулей + 12 элементов x 14 модулей)
    Номинальное напряжение 288 В (1,2 В x 240 элементов)
    Емкость аккумуляторной батареи (3HR) 6,5 А-ч
    Вентилятор охлаждения аккумуляторной батареи в сборе Тип электродвигателя Бесщеточный
    Тип вентилятора Центробежный вентилятор Sirocco
    Объемный расход воздуха Верхняя сторона

    93 м3/час

    Нижняя сторона

    93 м3/час

  3. ОСНОВНЫЕ ОСОБЕННОСТИ


    1. Автомобили с гибридным приводом обладают следующими особенностями.

      Особенности Описание
      Остановка двигателя на холостом ходу (для снижения потерь энергии) Двигатель, работающий на холостом ходу, автоматически останавливается (остановка двигателя на холостом ходу) для сокращения потерь энергии.
      Привод EV (эффективное управление приводом) Когда КПД двигателя мал, этот привод дает автомобилю возможность двигаться только за счет энергии электродвигателя. Кроме того, при высоком КПД двигателя он обеспечивает выработку электроэнергии. Такое управление позволяет добиться максимального суммарного КПД автомобиля.
      Режим привода EV Если водитель нажимает переключатель при выполнении соответствующих условий, автомобиль может двигаться с приводом только от электродвигателя.
      Вспомогательное использование электродвигателя При разгоне мощность электродвигателя добавляется к мощности двигателя.
      Рекуперативное торможение (рекуперация энергии) Во время замедления, а также при нажатии педали тормоза часть энергии, которая расходуется на тепловые потери, накапливается в виде электрической энергии, подлежащей повторному использованию, например, для питания электродвигателя.
    2. В целом, существуют 3 типа гибридных систем: последовательные гибридные системы, параллельные гибридные системы и смешанные (последовательно-параллельные) гибридные системы.


      1. Последовательная гибридная система


        1. Электродвигатель вращает колеса, а двигатель посредством генератора действует как источник электроэнергии для электродвигателя.

          A000MKRE03
          Обозначения на рисунке
          *1 Двигатель *2 Генератор
          *3 Инвертор *4 Высоковольтная аккумуляторная батарея
          *5 Электродвигатель - -
          A000MKG Путь передачи механической энергии A000M71 Путь передачи электрической энергии (постоянного тока)
          A000MFG Путь передачи электрической энергии (переменного тока) - -
      2. Параллельная гибридная система


        1. Колеса вращаются непосредственно как двигателем, так и электродвигателем. Наряду с дополнением мощности бензинового двигателя электродвигатель также может выполнять функцию генератора, заряжая блок высоковольтной аккумуляторной батареи во время движения автомобиля. Кроме того, автомобиль может перемещаться только под действием электродвигателя.

          A000MRUE03
          Обозначения на рисунке
          *1 Двигатель *2 Трансмиссия
          *3 Высоковольтная аккумуляторная батарея *4 Инвертор
          *5 Мотор-генератор - -
          A000MKG Путь передачи механической энергии A000M71 Путь передачи электрической энергии (постоянного тока)
          A000MFG Путь передачи электрической энергии (переменного тока) - -
      3. Последовательно-параллельная гибридная система


        1. Характеристики последовательной гибридной системы и параллельной гибридной системы сочетаются. В состав системы входят 2 мотор-генератора. Мотор-генератор № 1 (MG1) позволяет вырабатывать электроэнергию с использованием мощности двигателя. Вырабатываемая электроэнергия используется для зарядки высоковольтной аккумуляторной батареи, а также для питания мотор-генератора № 2 (MG2).

          A000MP8E03
          Обозначения на рисунке
          *1 Двигатель *2 Планетарная передача деления мощности
          *3 Высоковольтная аккумуляторная батарея *4 Инвертор
          *5 Мотор-генератор № 1 (MG1) *6 Мотор-генератор № 2 (MG2)
          A000MKG Путь передачи механической энергии A000M71 Путь передачи электрической энергии (постоянного тока)
          A000MFG Путь передачи электрической энергии (переменного тока) - -
    3. Далее рассмотрен механизм гибридного привода LEXUS.


      1. К основным узлам гибридного привода LEXUS относятся двигатель, гибридная трансмиссия в блоке с главной передачей, преобразователь-инвертор в сборе и высоковольтная аккумуляторная батарея. Используется гибридная система последовательно-параллельного типа.

        A000MQYE02
        Обозначения на рисунке
        *1 Двигатель *2 Гибридная трансмиссия (трансмиссия автомобиля с гибридным приводом в сборе)
        *3 Планетарная передача деления мощности *4 2-ступенчатый планетарный редуктор электродвигателя
        *5 Мотор-генератор № 1 (MG1) *6 Мотор-генератор № 2 (MG2)
        *7 Преобразователь-инвертор в сборе *8 Дифференциал
        *9 Высоковольтная аккумуляторная батарея *10 Раздаточная коробка
        A000MKG Путь передачи механической энергии A000M71 Путь передачи электрической энергии (постоянного тока)
        A000MFG Путь передачи электрической энергии (переменного тока) - -
      2. Эта система осуществляет оптимальное координированное управление двигателем 2UR-FSE с высокой полезной мощностью и высокооборотными мощными мотор-генераторами № 1 (MG1) и № 2 (MG2) в гибридной трансмиссии L110F (трансмиссии автомобиля с гибридным приводом в сборе), обеспечивая превосходные характеристики работы трансмиссии.

      3. Автомобили с гибридным приводом оборудованы 2 аккумуляторными батареями, которые выполняют разные функции. Одна представляет собой высоковольтную аккумуляторную батарею (с номинальным постоянным напряжением 288 В), которая аккумулирует энергию для привода автомобиля, а другая – вспомогательную аккумуляторную батарею (с номинальным постоянным напряжением 12 В), которая обеспечивает питание электрооборудования.

      4. Помимо прочего в данном автомобиле используется система регулирования напряжения, включающая в себя высоковольтную аккумуляторную батарею большой емкости с номинальным постоянным напряжением 288 В, повышающий преобразователь, который увеличивает рабочее напряжение системы до максимального уровня 650 В пост. тока, а также инвертор, который преобразует постоянный ток в переменный.

      5. Поскольку автомобили с гибридным приводом не оборудуются обычным генератором, напряжение высоковольтной аккумуляторной батареи понижается примерно до 14 В с помощью преобразователя гибридной системы, чтобы обеспечить зарядку вспомогательной аккумуляторной батареи.

      6. Высоковольтная аккумуляторная батарея в сборе содержит герметичные никель-металл-гидридные (NiMH) элементы. Эта высоковольтная аккумуляторная батарея характеризуется высокой удельной мощностью, малой массой и продолжительным сроком службы, что согласуется с характеристиками гибридного привода LEXUS. Поскольку в исправном автомобиле осуществляется управление зарядкой/разрядкой для стабилизации степени заряда (SOC) высоковольтной аккумуляторной батареи в сборе, подзаряжать батарею от внешнего источника не требуется.

        A000M4ME02
        Обозначения на рисунке
        *1

        Преобразователь-инвертор в сборе

        - Инвертор

        - Повышающий преобразователь

        *2 Двигатель 2UR-FSE
        *3

        Гибридная трансмиссия L110F в сборе

        - Мотор-генератор № 1 (MG1)

        - Мотор-генератор № 2 (MG2)

        *4 Вспомогательная аккумуляторная батарея (номинальное постоянное напряжение 12 В)
        *5

        Высоковольтная аккумуляторная батарея (номинальное постоянное напряжение 288 В)

        - Преобразователь гибридной системы

        - -
    4. В автомобилях с гибридным приводом имеются 2 системы охлаждения для гибридного привода: одна обеспечивает охлаждение преобразователя-инвертора, MG1 и MG2, а другая – охлаждение высоковольтной аккумуляторной батареи.


      1. Предусмотрена система охлаждения преобразователя-инвертора, MG1 и MG2, независимая от системы охлаждения двигателя.

      2. Эта система охлаждения включается, когда выключатель питания устанавливается в состояние ON (ВКЛ) (READY).

      3. Над конденсатором системы кондиционирования установлен радиатор инвертора, используемый исключительно для охлаждения инвертора и мотор-генераторов MG1 и MG2. Благодаря объединению независимого радиатора инвертора, конденсатора системы кондиционирования и радиатора двигателя удалось повысить компактность конструкции.

        A000MOEE02
        Обозначения на рисунке
        *1 Радиатор инвертора *2 Насос системы охлаждения инвертора с электродвигателем в сборе
        *3

        Гибридная трансмиссия L110F в сборе

        - Мотор-генератор № 1 (MG1)

        - Мотор-генератор № 2 (MG2)

        *4 Преобразователь-инвертор в сборе
        *5 Расширительный бачок инвертора - -
        A000M4P Потоки охлаждающей жидкости в системе охлаждения инвертора - -
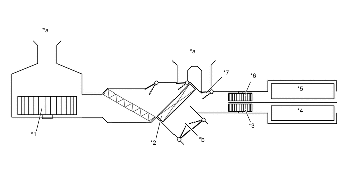
      4. Чтобы обеспечить надлежащее охлаждение высоковольтной аккумуляторной батареи, выделяющей значительное количество тепла во время многократных циклов зарядки/разрядки, используется специальная система охлаждения. Система охлаждения охлаждает высоковольтную аккумуляторную батарею воздухом из салона, а также охлажденным воздухом из заднего кондиционера, который установлен с верхней стороны блока высоковольтной аккумуляторной батареи. При этом, если автомобиль не оборудован многозонным автоматическим кондиционером с климат-контролем, система охлаждения действует как отдельная система охлаждения высоковольтной аккумуляторной батареи.

      5. В состав системы охлаждения, независимо от, того установлен задний кондиционер или нет, входят 2 вентилятора охлаждения аккумуляторной батареи, вентилятор системы кондиционирования, испаритель и управляющая заслонка.

      6. Поскольку рассматриваемая система может охлаждать высоковольтную аккумуляторную батарею холодным воздухом, за счет снижения расхода воздуха улучшается эффективность охлаждения и снижается шум вентилятора охлаждения.

      7. Холодный воздух вводится в систему в 2 местах: через задний кондиционер и из салона, при этом управление впуском воздуха осуществляется с использованием специальной управляющей заслонки.

      8. 2 вентилятора охлаждения аккумуляторной батареи независимо подают охлажденный воздух к каждому модулю аккумуляторной батареи, обеспечивая эффективное охлаждение.

        A000MAFE03
        Обозначения на рисунке
        *A для моделей с многозонным автоматическим кондиционером с климат-контролем - -
        *1 Задний вентилятор охлаждения *2 Испаритель
        *3 Вентилятор охлаждения аккумуляторной батареи в сборе (для нижней стороны) *4 Нижняя группа модулей высоковольтной аккумуляторной батареи
        *5 Верхняя группа модулей высоковольтной аккумуляторной батареи *6 Вентилятор охлаждения аккумуляторной батареи в сборе (для верхней стороны)
        *7 Заслонка распределения потоков воздуха - -
        *a Воздух из салона *b Холодный воздух в салон
        A000MDAE02
        Обозначения на рисунке
        *1 Вентилятор охлаждения аккумуляторной батареи в сборе (для верхней стороны) *2 Вентилятор охлаждения аккумуляторной батареи в сборе (для нижней стороны)
        *3 Нижняя группа модулей высоковольтной аккумуляторной батареи *4 Верхняя группа модулей высоковольтной аккумуляторной батареи
        *5 Задний кондиционер в сборе - -
        *a Сечение A - A *b Сечение B - B
        *c Холодный воздух из заднего кондиционера *d Воздух из салона
        A000M4P Поток охлаждающего воздуха - -
  4. МЕРЫ ПРЕДОСТОРОЖНОСТИ


    1. Меры предосторожности относительно высокого напряжения гибридной системы


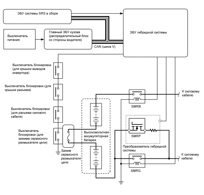
      1. Защита от высокого напряжения реализуется 2 способами: изоляцией цепей высокого напряжения и отключением цепей высокого напряжения. Гибридная система также определяет, не снижено ли сопротивление изоляции между системой высокого напряжения и массой.

    2. Изоляция цепей высокого напряжения


      1. Цепи высокого напряжения связывают высоковольтную аккумуляторную батарею, преобразователь-инвертор в сборе, гибридную трансмиссию и компрессор с электродвигателем в сборе. Каждое из этих устройств подключается с использованием силового кабеля и электрически изолируется корпусами и кожухами.

      2. Кроме того, кабели экранируются с помощью проволочной сетки, вделанной в электрическую изоляцию проводов. Экраны заземляются путем соединения с шасси автомобиля и предназначены, главным образом, для защиты от электромагнитных помех.

        A000MEDE03
        Обозначения на рисунке
        *1 Преобразователь-инвертор в сборе *2 Компрессор с электродвигателем в сборе
        *3 Преобразователь гибридной системы *4 Вентилятор охлаждения аккумуляторной батареи в сборе (для нижней стороны)
        *5 Вентилятор охлаждения аккумуляторной батареи в сборе (для верхней стороны) *6 Распределительный блок аккумуляторной батареи гибридной системы в сборе
        *7 MG1 *8 MG2
        *9 Преобразователь усилителя рулевого управления в сборе *10 Зажим сервисного размыкателя цепи
    3. Отключение цепей высокого напряжения


      1. Когда наступает какое-либо из перечисленных ниже событий, главные реле системы (SMR) автоматически отключают ЭБУ гибридной системы.


        • Питание выключается.

        • Развертывается какая-либо подушка безопасности.

        • Снимается крышка выводов инвертора (размыкается цепь блокировки).

        • Снимается крышка разъема (размыкается цепь блокировки).

        • Силовой кабель снят (цепь блокировки разомкнута).

        • Частично поднимается ручка зажима сервисного размыкателя цепи (размыкается цепь блокировки)*.

        • Возникает определенная неисправность.

        Tech Tips

        *: зажим сервисного размыкателя цепи ни в коем случае не должен сниматься при нахождении автомобиля в состоянии READY-ON.

        A000MBZE02
      2. Зажим сервисного размыкателя цепи используется для ручного отключения цепей высокого напряжения при необходимости обслуживания автомобиля.

        A000MEPE02
        Обозначения на рисунке
        *1 Зажим сервисного размыкателя цепи *2 Изолирующая перчатка

        CAUTION:

        Остерегайтесь разряда конденсатора в преобразователе-инверторе в сборе: после отключения цепей высокого напряжения высоковольтный конденсатор в преобразователе-инверторе в сборе остается заряженным. После снятия зажима сервисного размыкателя цепи при обслуживании автомобиля с гибридным приводом подождите не менее 10 мин, чтобы дать конденсатору в инверторе разрядиться до начала работ.

    4. Меры предосторожности при обращении с высоковольтной аккумуляторной батареей


      1. Электролит высоковольтной аккумуляторной батареи представляет собой концентрированный щелочной раствор едкого калия (без запаха, прозрачный, бесцветный). Небрежное обращение с высоковольтной аккумуляторной батареей крайне опасно. При обращении с высоковольтной аккумуляторной батареей необходимо руководствоваться приведенными ниже указаниями.

        Порядок выполнения Меры предосторожности
        При утечке жидкости в зоне высоковольтной аккумуляторной батареи.
        • Нейтрализуйте ее насыщенным водным раствором борной кислоты.

        • С помощью лакмусовой бумаги убедитесь, что раствор нейтрализован, и вытрите его ветошью или обтирочным материалом.

        При попадании аккумуляторного электролита на кожу, в глаза и т.п.*
        • Промойте пораженный участок насыщенным водным раствором борной кислоты или большим количеством воды.

        • Сразу же снимите загрязненную одежду.

        При сдаче автомобиля в лом. Снимите высоковольтную аккумуляторную батарею с автомобиля для сдачи в специальный пункт сбора.
        При хранении. Запрещается оставлять аккумуляторную батарею в сыром или влажном месте.
        Когда автомобиль хранится в течение длительного времени.
        • Отсоедините отрицательный вывод вспомогательной аккумуляторной батареи.

        • В процессе хранения высоковольтную аккумуляторную батарею необходимо заряжать каждые 2 месяца во избежание ее разряда или повреждения. Зарядка высоковольтной аккумуляторной батареи осуществляется в следующем порядке:


          1. Подсоедините отрицательный вывод вспомогательной аккумуляторной батареи.

          2. Включите питание (IG) на 3 мин, не подключая никаких электрических нагрузок (эта операция необходима, чтобы ЭБУ гибридной системы мог правильно определить степень заряда батареи).

          3. Войдите в состояние READY-ON. После запуска двигателя дайте ему поработать в течение 30 мин для зарядки высоковольтной аккумуляторной батареи.

        • Если двигатель не запускается или периодически останавливается в течение 30 мин, прекратите выполнение операции (высоковольтная аккумуляторная батарея не нуждается в зарядке).

        CAUTION:

        *: при попадании электролита в глаза громко попросите о помощи и ни в коем случае не растирайте глаза. Немедленно промойте их большим количеством воды и обратитесь за медицинской помощью.