СИСТЕМА SFI


  1. НАЗНАЧЕНИЕ ОСНОВНЫХ УСТРОЙСТВ


    1. В следующей таблице перечислены основные узлы и устройства системы управления двигателем:

      Устройство Описание Количество Функция
      ECM 32-разрядный главный процессор 1 ECM оптимальным образом управляет системами SFI, ESA и ISC в соответствии с режимом работы двигателя и исходя из сигналов, поступающих с датчиков.
      Датчик массового расхода воздуха на впуске в сборе С нагреваемым проволочным элементом 2 Внутри этого датчика есть проволочный элемент, который непосредственно определяет массу воздуха на впуске.
      Датчик температуры воздуха на впуске Термисторный 2 Этот датчик с помощью внутреннего термистора измеряет температуру воздуха на впуске.
      Датчик положения коленчатого вала

      Датчик типа MRE

      (зубчатое колесо /36-2)

      1 Этот датчик определяет частоту вращения коленчатого вала двигателя и положение коленчатого вала.
      Датчик положения распредвала

      Датчик типа MRE

      (зубчатое колесо /3)

      1 Этот датчик определяет положение распредвала и выполняет идентификацию цилиндра.
      Датчик положения распредвала впускных клапанов

      Датчик типа MRE

      (зубчатое колесо /3)

      По 1 в каждом ряду Этот датчик определяет фактические фазы газораспределения.
      Датчик положения распредвала выпускных клапанов

      Датчик типа MRE

      (зубчатое колесо /3)

      По 1 в каждом ряду Этот датчик определяет фактические фазы газораспределения.
      Датчик положения дроссельной заслонки

      На эффекте Холла

      (бесконтактного типа)

      1 Этот датчик определяет угол поворота дроссельной заслонки.
      Датчик детонации

      Со встроенным пьезоэлементом

      (плоский)

      По 2 в каждом ряду Этот датчик косвенно, по вибрации блока цилиндров, вызванной детонацией двигателя, регистрирует появление стука в двигателе.
      Кислородный датчик Чашечный с подогревателем По 1 в каждом ряду Этот датчик определяет концентрацию кислорода в отработавших газах, измеряя ЭДС на своих контактах.
      Датчик состава топливовоздушной смеси Планарный с подогревателем По 1 в каждом ряду Как и кислородный датчик, данный датчик определяет концентрацию кислорода в отработавших газах. Однако измерение концентрации кислорода в датчике осуществляется линейно.
      Датчик температуры охлаждающей жидкости двигателя Термисторный 1 Этот датчик с помощью внутреннего термистора измеряет температуру охлаждающей жидкости двигателя.

      Топливная форсунка в сборе

      (для впрыска во впускной канал)

      12-струйная 8 Эта форсунка имеет сопло с электромагнитным управлением, через которое производится впрыск топлива во впускной канал.

      Топливная форсунка в сборе

      (для непосредственного впрыска)

      С двухщелевым соплом высокого давления 8 Эта форсунка имеет сопло высокого давления с электромагнитным управлением, через которое производится впрыск топлива непосредственно в цилиндр.
      Электронный блок привода форсунок (EDU) Со встроенным преобразователем постоянного тока 2 Электроннный блок привода форсунок преобразует сигналы ECM в сильный ток высокого напряжения, который используется для управления форсунками непосредственного впрыска.
      Электродвигатель механизма изменения фаз газораспределения с блоком EDU в сборе

      Объединенный с EDU

      (бесщеточный электродвигатель постоянного тока)

      По 1 в каждом ряду Вращательное движение управляющего электродвигателя распредвала передается приводу распредвала (зубчатому колесу распредвала), который изменяет фазы газораспределения на впуске в соответствии с сигналами, поступающими из ECM.
      Гидравлический клапан изменения фаз в сборе Электромагнитный индуктивный По 1 в каждом ряду Гидравлический клапан изменения фаз изменяет фазы газораспределения на выпуске, переключая канал для масла, действующего на контроллер VVT-i (зубчатое колесо распредвала выпускных клапанов), в соответствии с сигналами, поступающими из ECM.
      Привод клапана управления впуском воздуха - 1 Привод клапана управления забором воздуха перемещает клапан управления забором воздуха.
  2. УПРАВЛЕНИЕ В СИСТЕМЕ


    1. Система управления двигателем имеет следующие особенности. ECM управляет следующими системами:

      Система Описание
      Система непосредственного последовательного распределенного впрыска топлива 4-тактного бензинового двигателя модификации "Superior" (SFI D-4S)
      • Система SFI D-4S непосредственно определяет массу воздуха на впуске посредством датчиков массового расхода воздуха на впуске с проволочным элементом.

      • В системе впрыска топлива D-4S используются форсунки непосредственного впрыска и форсунки впрыска во впускные каналы.

      • Исходя из сигналов датчиков, ECM регулирует объем и моменты впрыска для форсунок обоих типов (для непосредственного впрыска и для впрыска во впускные каналы) в соответствии с частотой вращения коленчатого вала и нагрузкой двигателя, оптимизируя условия сгорания.

      Электронная система регулирования угла опережения зажигания (ESA)
      • Угол опережения зажигания вычисляется ECM на основе сигналов различных датчиков. ECM корректирует угол опережения зажигания в зависимости от детонации двигателя.

      • Данная система выбирает оптимальный угол опережения зажигания в соответствии с сигналами, поступившими от датчиков, и передает сигнал зажигания (IGT) в усилители зажигания.

      Интеллектуальная электронная система управления дроссельной заслонкой (ETCS-i) Оптимально регулирует угол открывания дроссельной заслонки в соответствии с усилием на педали акселератора и состояниями двигателя и автомобиля.
      Двойная электронная система изменения фаз газораспределения (двойная система VVT-i)
      • Управляет распредвалами впускных и выпускных клапанов с целью оптимизации фаз газораспределения в соответствии с режимом работы двигателя.

      • На впуске действует система VVT-iE (электронная система изменения фаз газораспределения с электроприводом), в которой для изменения фаз газораспределения используются электродвигатели. На выпуске действует VVT-i, которая регулирует фазы газораспределения с помощью давления моторного масла.

      Система впуска с переменной геометрией (ACIS) Впускные воздушные каналы переключаются в зависимости от частоты вращения коленчатого вала двигателя и угла поворота дроссельной заслонки, что позволяет достигать высоких эксплуатационных характеристик во всех диапазонах частот вращения.
      Управление топливным насосом Со стороны высокого давления Регулирует давление в топливной системе в диапазоне 4 - 13 МПа в соответствии с условиями езды.
      Со стороны низкого давления
      • Управление топливным насосом осуществляется сигналами, передаваемыми ECM.

      • При развертывании подушек безопасности SRS топливный насос отключается.

      Система управления подогревателями кислородных датчиков и датчиков состава топливовоздушной смеси Обеспечивает поддержание требуемых температур датчиков состава топливовоздушной смеси и кислородных датчиков, что позволяет повысить точность определения концентрации кислорода в отработавших газах.
      Управление вентилятором системы охлаждения Управление вентилятором системы охлаждения осуществляется с помощью сигналов, которые передает ECM, исходя из температуры охлаждающей жидкости двигателя, температуры охлаждающей жидкости инвертора и состояния системы кондиционирования.
      Система иммобилайзера Блокирует подачу топлива и зажигание при попытке запустить двигатель с использованием ненадлежащего ключа.
      Диагностика Когда ECM обнаруживает неисправность, он регистрирует ее и сохраняет в памяти связанную с ней информацию.
      Аварийный режим При обнаружении неисправности ECM останавливает двигатель или начинает осуществлять управление в соответствии с данными, сохраненными в памяти ранее.
  3. ФУНКЦИИ


    1. Система непосредственного последовательного распределенного впрыска топлива 4-тактного бензинового двигателя модификации "Superior" (SFI D-4S)


      1. Система SFI D-4S непосредственно определяет массу воздуха на впуске посредством датчиков массового расхода воздуха на впуске с проволочным элементом.

      2. В системе впрыска топлива D-4S используются форсунки непосредственного впрыска и форсунки впрыска во впускные каналы.

      3. Исходя из сигналов датчиков, ECM регулирует объем и моменты впрыска для форсунок обоих типов (для непосредственного впрыска и для впрыска во впускные каналы) в соответствии с частотой вращения коленчатого вала и нагрузкой двигателя, оптимизируя условия сгорания.

      4. Чтобы обеспечить прогрев каталитического нейтрализатора после холодного пуска двигателя, данная система использует топливовоздушную смесь с послойным распределением, благодаря чему смесь вблизи свечи зажигания обогащается сильнее чем остальная часть топливовоздушной смеси. Это дает возможность использовать запаздывающее зажигание, позволяющее увеличить температуру отработавших газов. В результате прогрев каталитических нейтрализаторов осуществляется быстрее, и снижается токсичность отработавших газов.

        A000MGCE03
      5. Послойное сгорание: Сразу же после холодного пуска двигателя во время такта (хода) выпуска топливо впрыскивается во впускной канал из соответствующей форсунки. Кроме того, ближе к концу хода сжатия топливо впрыскивается из форсунки непосредственного впрыска. В результате происходит послойное распределение топливовоздушной смеси, и смесь вблизи свечи зажигания оказывается более обогащенной, чем остальная часть смеси. Это дает возможность использовать запаздывающее зажигание и увеличить температуру отработавших газов. Повышение температуры отработавших газов способствует более быстрому разогреву нейтрализаторов и значительно снижает токсичность отработавших газов.

        A000MIGE02
      6. Равномерное сгорание: Чтобы оптимизировать условия сгорания, ECM регулирует объем и моменты впрыска топлива форсунок впрыска во впускные каналы, через которые топливо впрыскивается во впускные каналы во время ходов расширения, выпуска и впуска. Кроме того, ECM регулирует объем и моменты впрыска топлива форсунок непосредственного впрыска, через которые топливо впрыскивается в первой половине хода впуска. В результате совместной или независимой работы форсунок 2 различных типов формируется однородная топливовоздушная смесь. Это дает возможность использовать скрытую теплоту испарения впрыскиваемого топлива для охлаждения сжатого воздуха и позволяет увеличить эффективность зарядки и полезную мощность.

        A000MIYE01
    2. Двойная система VVT-i


      1. Двойная система VVT-i предназначена для управления распредвалами впускных и выпускных клапанов в диапазонах 55° и 35° (угла поворота коленчатого вала), соответственно, с целью оптимизации фаз газораспределения согласно режиму работы двигателя. Система позволяет увеличить крутящий момент во всех диапазонах частоты вращения, повысить экономию топлива и уменьшить токсичность отработавших газов.

      2. Для регулирования фаз газораспределения впускных клапанов в VVT-iE используются электродвигатели. Благодаря этому фазы газораспределения регулируются оптимальным образом, даже когда давление моторного масла мало, что имеет место, например, при понижении температуры моторного масла или частоты вращения коленчатого вала двигателя. Поскольку рассматриваемая система способна регулировать фазы газораспределения, начиная с момента запуска двигателя, она может обеспечить большее запаздывание в положении максимального запаздывания по сравнению с пусковыми фазами газораспределения.

      3. Из-за прерывистого характера управления двигателем в гибридной системе двигатель многократно запускается и останавливается. Для ослабления вибрации при запуске двигателя моменты закрывания впускных клапанов смещены за счет расширения рабочего диапазона с 40° до 55° в сторону запаздывания по сравнению с обычной системой VVT-iE, и количество воздуха, втягиваемого в камеру сгорания, уменьшено. Это привело к снижению давления сжатия и позволило уменьшить давление в камере сгорания. Как следствие, обеспечивается ослабление вибрации двигателя при запуске.

      4. На выпуске действует система VVT-i, которая регулирует фазы газораспределения с помощью давления моторного масла.

        A000M5FE02
        Обозначения на рисунке
        *1 Датчик массового расхода воздуха на впуске в сборе (ряд 1, ряд 2) *2 Датчик положения дроссельной заслонки
        *3 Сигнал скорости автомобиля *4 Правый электродвигатель механизма изменения фаз газораспределения с блоком EDU в сборе
        *5 Правый гидравлический клапан изменения фаз в сборе (ряд 2) *6 Датчик положения распредвала
        *7 Датчик положения распредвала выпускных клапанов (ряд 2) *8 Датчик положения распредвала впускных клапанов (ряд 2)
        *9 Датчик температуры охлаждающей жидкости двигателя *10 Датчик положения распредвала впускных клапанов (ряд 1)
        *11 Датчик положения распредвала выпускных клапанов (ряд 1) *12 Датчик положения коленчатого вала
        *13 Левый гидравлический клапан изменения фаз в сборе (ряд 1) *14 Левый электродвигатель механизма изменения фаз газораспределения с блоком EDU в сборе
        *15 ECM - -
        A000MLGE03
      5. Двойная система VVT-i обеспечивает преимущества в различных режимах работы автомобиля, как показано в следующей таблице:


        • На холостом ходу

          A000MP1E05
          *1 ВМТ
          *2 Положение наибольшего опережения (на выпуске)
          *3 Нейтральное положение (впуск)
          *4 НМТ
          Цель Результат
          Исключение перекрытия для снижения прорыва газов на впуск.
          • Стабилизация частоты вращения холостого хода

          • Снижение расхода топлива

        • При низкой частоте вращения и малой или средней нагрузке

          A000MRYE03
          *1 Запаздывание (на выпуске)
          *2 ВМТ
          *3 Запаздывание (на впуске)
          *4 НМТ
          Цель Результат

          Смещение момента закрывания впускных клапанов в сторону запаздывания для снижения насосных потерь.

          Увеличение перекрытия для повышения внутренней рециркуляции отработавших газов.


          • Снижение расхода топлива

          • Снижение токсичности отработавших газов

        • При низкой или средней частоте вращения и высокой нагрузке

          A000M6DE03
          *1 ВМТ
          *2 Опережение (на выпуске)
          *3 Опережение (на впуске)
          *4 НМТ
          Цель Результат
          Смещение момента закрывания впускных клапанов в сторону опережения, уменьшение прорыва газов на впуск и увеличение коэффициента наполнения. Увеличение крутящего момента на низких и средних частотах вращения
        • При высокой частоте вращения и высокой нагрузке

          A000MNAE03
          *1 ВМТ
          *2 Опережение (на выпуске)
          *3 Запаздывание (на впуске)
          *4 НМТ
          Цель Результат
          Смещение момента закрывания впускных клапанов в сторону запаздывания и увеличение коэффициента наполнения за счет использования силы инерции воздуха на впуске. Увеличение мощности
        • При низкой температуре

          A000MOCE02
          *1 ВМТ
          *2 Положение наибольшего опережения (на выпуске)
          *3 Запаздывание (на впуске)
          *4 НМТ
          Цель Результат

          Исключение перекрытия для снижения прорыва газов на впуск.

          Фиксация фаз газораспределения при крайне низких температурах и расширение диапазона регулирования по мере возрастания температуры.


          • Стабилизация частоты вращения на высоких оборотах холостого хода

          • Снижение расхода топлива

        • При запуске двигателя

        • При остановке двигателя

          A000MKJE02
          *1 ВМТ
          *2 Положение наибольшего опережения (на выпуске)
          *3 Положение наибольшего запаздывания (на впуске)
          *4 НМТ
          Цель Результат
          Регулировка фаз газораспределения и фиксация оптимальных для запуска двигателя фаз газораспределения. Улучшенная пусковая характеристика
    3. Интеллектуальная электронная система управления дроссельной заслонкой (ETCS-i)


      1. Система ETCS-i обеспечивает высокое качество управления дроссельной заслонкой во всех режимах работы двигателя. На моделях с двигателем 2UR-FSE на педали акселератора устанавливается датчик положения педали акселератора.

      2. В системе ETCS-i ЭБУ гибридной системы вычисляет оптимальный угол поворота дроссельной заслонки, соответствующий условиям движения. ECM управляет электродвигателем привода дроссельной заслонки, используя сигналы, поступающие от ЭБУ гибридной системы.

      3. Система ETCS-i управляет следующими системами: системой регулировки частоты вращения холостого хода (ISC), антипробуксовочной системой (TRC), системой курсовой устойчивости (VSC) и системой круиз-контроля.

      4. В случае нарушения работы данная система переключается в аварийный режим.

        A000MRME01
    4. Система управления топливным насосом


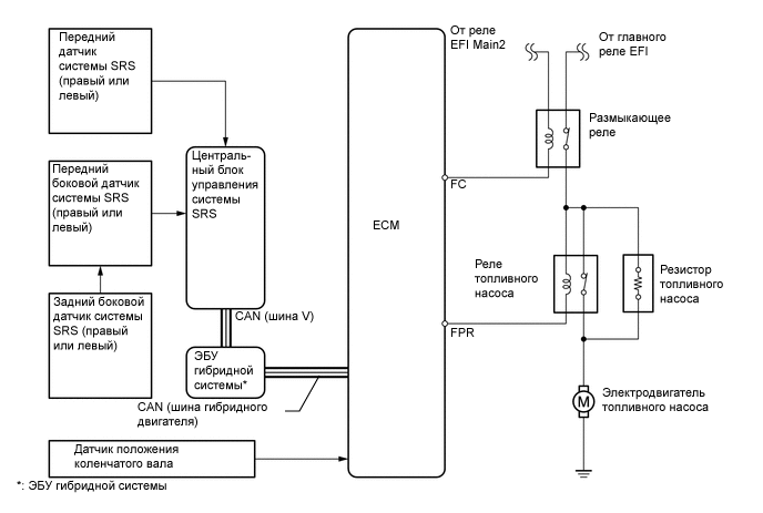
      1. Топливным насосом управляет ECM с помощью размыкающего реле.

      2. Система управления топливным насосом имеет функцию отсечки подачи топлива. При развертывании подушек безопасности системы SRS система управления отсечкой топлива отключает топливный насос.

    5. Управление вентилятором системы охлаждения


      1. Система управления вентилятором системы охлаждения оптимально регулирует частоту вращения вентилятора в соответствии с температурой охлаждающей жидкости двигателя, температурой охлаждающей жидкости инвертора и режимом работы системы кондиционирования.

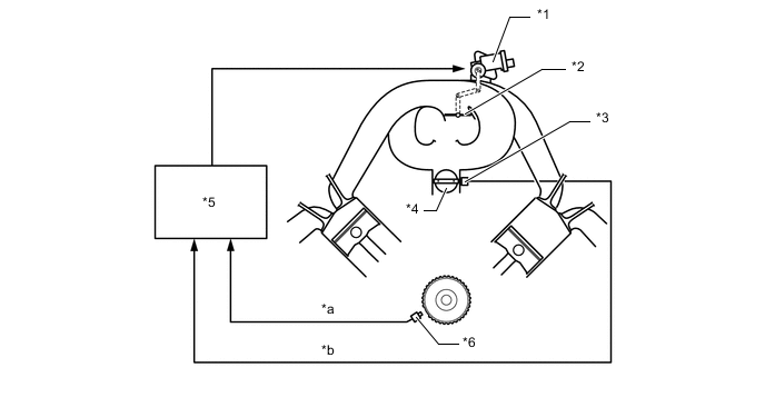
    6. Система впуска с переменной геометрией (ACIS)


      1. Работа системы ACIS основана на использовании перегородки, разделяющей впускной коллектор на 2 части (ступени). Имеющийся в перегородке клапан управления впуском воздуха открывается и закрывается в зависимости от частоты вращения коленчатого вала двигателя и угла поворота дроссельной заслонки, изменяя рабочую длину впускного коллектора. Это способствует увеличению выходной мощности во всех диапазонах частоты вращения.

        A000MOXE03
        Обозначения на рисунке
        *1 Привод клапана управления впуском воздуха *2 Клапан управления забором воздуха
        *3 Датчик положения дроссельной заслонки *4 Дроссельная заслонка
        *5 ECM *6 Датчик положения коленчатого вала
        *a Сигнал частоты вращения коленчатого вала двигателя *b Угол поворота дроссельной заслонки
  4. КОНСТРУКЦИЯ


    1. Датчик массового расхода воздуха на впуске в сборе


      1. Датчик массового расхода воздуха на впуске является вставным и обеспечивает прохождение части впускаемого воздуха через зону измерения. Благодаря тому, что масса и расход впускаемого воздуха определяются непосредственно, повышается точность измерений, и снижается сопротивление воздушному потоку.

      2. В датчик массового расхода воздуха на впуске встроен датчик температуры воздуха на впуске.

        A000MBAE03
        Обозначения на рисунке
        *1 Платиновый нагреваемый проволочный элемент *2 Термочувствительный элемент
        *3 Датчик температуры воздуха на впуске - -
        A000M4P Поток воздуха - -
    2. Датчик давления топлива


      1. На топливной рампе смонтирован датчик давления топлива, который передает в ECM сигнал, соответствующий давлению топлива в топливной рампе. Это позволяет непрерывно регулировать давление топлива, поддерживая оптимальное значение.

        A000MLDE02
    3. Датчики положения коленчатого вала и распредвалов


      1. В системе управления двигателем используются датчики положения распредвалов и коленчатого вала типа MRE (с магнитным резистивным элементом).

      2. На заднем конце коленчатого вала установлен задающий ротор датчика положения коленчатого вала. Он имеет 34 зубца, отстоящих друг от друга на 10°, при этом 2 зубца отсутствуют. Благодаря такой конструкции датчик положения коленчатого вала формирует сигналы положения коленчатого вала (сигналы NE), в которых 33 импульса высокого и низкого уровней выдаются через каждые 10° поворота коленчатого вала, а 1 импульс – через каждые 30°. ECM использует сигнал NE для определения положения и частоты вращения коленчатого вала. ECM использует сигнал, соответствующая отсутствующим зубцам, для определения верхней мертвой точки.

      3. Спереди звездочки распредвала впускных клапанов правого ряда установлен задающий ротор датчика положения распредвала. Посредством этого задающего ротора датчик формирует сигналы положения распредвала (сигналы G2), в которых на каждые 2 оборота коленчатого вала приходится 3 импульса (3 высоких уровня и 6 низких уровня). Сравнивая сигналы G2 и NE, ECM определяет положение распредвала и идентифицирует цилиндр.

      4. Датчики положений распредвалов впускных и выпускных клапанов (датчики VVT) используют задающие роторы, которые установлены на распредвалы впускных и выпускных клапанов каждого ряда. Посредством этих задающих роторов датчики формируют сигналы положений распредвалов (сигналы VVT), в которых на каждые 2 оборота коленчатого вала приходится 3 импульса (3 высоких уровня и 6 низких уровня). ECM сравнивает сигналы положений распредвалов с сигналом NE и определяет фактические фазы газораспределения.

        A000MD4E02
        Обозначения на рисунке
        *1 Датчик положения распредвала *2 Задающий ротор
        *3 Датчик положения распредвала впускных клапанов (ряд 1) *4 Датчик положения распредвала выпускных клапанов (ряд 1)
        *5 Датчик положения коленчатого вала - -
        A000MNGE04
      5. Датчик типа MRE состоит из магнитного резистивного элемента, магнита и чувствительного элемента.

      6. Из-за особенностей профиля (выступающих и невыступающих частей) задающего ротора, вращающегося рядом с чувствительным элементом, изменяется направление вектора напряженности магнитного поля. В результате изменяется сопротивление магнитного резистивного элемента, и происходит переключение уровня выходного напряжения, подаваемого на ECM. На основе этого напряжения ECM определяет положения коленчатого вала и распредвалов.

      7. Датчики типа MRE имеют следующие отличия от индуктивных датчиков, применяемых в обычных моделях:


        • Высокий и низкий уровни импульсных сигналов датчиков типа MRE не зависят от частоты вращения коленчатого вала двигателя. Таким образом, датчики типа MRE способны определять положения коленчатого вала и распредвалов уже на начальной стадии прокручивания коленчатого вала.

        • Индуктивные датчики выдают аналоговые сигналы, уровни которых изменяются в зависимости от частоты вращения коленчатого вала двигателя.

        A000MMZE07
    4. Датчик положения дроссельной заслонки


      1. Используется бесконтактный датчик положения дроссельной заслонки. Этот датчик представляет собой датчик Холла, смонтированный на корпусе дроссельной заслонки.

      2. Датчик Холла располагается внутри ярма магнита. Он преобразует изменения магнитного потока в электрические сигналы, отражающие положение дроссельной заслонки, и передает их в ECM.

      3. Датчик Холла имеет цепи основного и вспомогательного сигналов. Датчик преобразует углы поворота дроссельной заслонки в 2 различающихся по характеристикам электрических сигнала и передает их в ECM.

        A000M4EE03
    5. Электронный блок привода форсунок (ЭБП)


      1. Для управления форсунками в двигателе 2UR-FSE предусмотрены 2 электронных блока привода форсунок (электронные блоки привода: ЭБП, EDU). Один блок привода (EDU) управляет форсунками (для непосредственного впрыска) цилиндров № 1, 4, 6 и 7, и клапаном управления сливом топливного насоса (высокого давления) левого ряда. Другой блок привода (EDU) управляет форсунками (для непосредственного впрыска) цилиндров № 2, 3, 5 и 8, и клапаном управления сливом топливного насоса (высокого давления) правого ряда.

      2. Благодаря использованию преобразователя постоянного тока, который преобразует напряжение 12 В в напряжение 50 В, электронные блоки привода форсунок (EDU) управляют топливными форсунками в условиях действия высокого давления. Преобразователь постоянного тока в постоянный обеспечивает подачу высокого напряжения и быструю зарядку электронных блоков привода форсунок (EDU) (под "быстрой зарядкой" имеется в виду способность электронных блоков привода форсунок (EDU) быстро "подзаряжать" свои внутренние источники напряжения).

      3. ECM непрерывно контролирует работу электронных блоков привода форсунок (EDU) и останавливает двигатель в случае обнаружения какого-либо ненормального состояния.

    6. Датчик детонации (плоский)


      1. В обычных датчиках детонации (резонансного типа) внутрь датчика встроена вибропластина. Резонансная частота ее колебаний совпадает с частотой детонации* блока двигателя. Датчики этого типа способны регистрировать вибрации только вблизи частоты резонанса.


        • *: Термины "стук" и "детонация" используются для описания преждевременного зажигания или вспышки топливовоздушной смеси в камере сгорания. Преждевременное зажигание (вспышка) означает, что топливовоздушная смесь воспламеняется раньше, чем требуется. Таким образом, под "стуком" и "детонацией" в большинстве случаев не подразумевается громкий механический шум, создаваемый двигателем.

      2. Конструкция плоского датчика детонации (нерезонансного типа) позволяет определять вибрацию в широком диапазоне частот (6-15 кГц). Датчик выполняет следующие функции:


        • Частота детонации двигателя слегка меняется в зависимости от частоты вращения коленчатого вала. Плоский датчик детонации способен регистрировать вибрацию даже при изменении частоты детонации. Таким образом, он является более чувствительным к вибрациям по сравнению с датчиками детонации обычной конструкции, что позволяет точнее регулировать угол опережения зажигания.

          A000MDHE55
      3. Плоский датчик детонации крепится к блоку цилиндров с помощью фланцевого болта. Для этого в центре датчика есть отверстие под фланец.

      4. В верхней части датчика размещается стальной груз. Между грузом и пьезоэлементом установлен изолятор.

      5. Кроме того, в датчике имеется резистор регистрации обрыва/короткого замыкания. Когда питание включено (IG), резистор регистрации обрыва/короткого замыкания в датчике детонации и резистор в ECM поддерживают постоянное напряжение на контакте KNK1 двигателя. Интегральная микросхема (ИС) в ECM непрерывно контролирует напряжение на контакте KNK1 двигателя. Если между датчиком детонации и ECM возникает обрыв или короткое замыкание, напряжение на контакте KNK1 изменяется, и ECM регистрирует обрыв / короткое замыкание, сохраняя в памяти DTC (диагностический код неисправности).

        A000MPZE78
      6. Вибрации, вызванные детонацией, передаются на стальной груз. Груз, в свою очередь, посредством силы инерции надавливает на пьезоэлемент. В результате создается электродвижущая сила (ЭДС).

        A000MF9E05
        Обозначения на рисунке
        *1 Стальной груз *2 Пьезоэлемент
        *a Сила инерции - -
      7. При монтаже рассматриваемых датчиков детонации необходимо соблюдать ориентацию и углы установки. Обязательно проверяйте ориентацию каждого из датчиков, чтобы не перепутать разъемы для правого и левого рядов цилиндров. Более подробную информацию см. в Руководстве по ремонту.

        A000MHFE02
        Обозначения на рисунке
        *1 Датчик детонации (ряд 2, датчик 1) *2 Датчик детонации (ряд 1, датчик 1)
        *3 Датчик детонации (ряд 1, датчик 2) *4 Датчик детонации (ряд 2, датчик 2)
        A000M4P Передняя часть двигателя - -
    7. Датчик состава топливовоздушной смеси и кислородный датчик


      1. В системе управления двигателем используются планарные датчики состава топливовоздушной смеси и чашечные кислородные датчики. В целом конструкции кислородного датчика и датчика состава топливовоздушной смеси аналогичны. Тем не менее, эти датчики имеют разные типы: чашечный и планарный, что обусловлено различием конструкций используемых в них подогревателей.

      2. В датчиках состава топливовоздушной смеси планарного типа чувствительный элемент соединяется с подогревателем через окись алюминия – материал, характеризующийся превосходными теплопроводностью и электрическими изоляционными свойствами. В результате улучшается характеристика нагрева датчика.

      3. В кислородном датчике чашечного типа чувствительный элемент охватывает подогреватель.

        A000MMOE03
        Обозначения на рисунке
        *A Планарный датчик состава топливовоздушной смеси *B Чашечный кислородный датчик
        *1 Слой диффузного сопротивления *2 Окись алюминия
        *3 Атмосфера *4 Подогреватель
        *5 Платиновый электрод *6 Чувствительный элемент (диоксид циркония)
      4. Как показано ниже, обычный кислородный датчик характеризуется резким изменением выходного напряжения в окрестности стехиометрического соотношения воздух-топливо (14,7:1). В отличие от этого сигнал датчика состава топливовоздушной смеси примерно пропорционален существующему соотношению воздух-топливо. Датчик состава топливовоздушной смеси преобразует концентрацию кислорода в ток, который передается в ECM. Как следствие, повышается точность определения соотношения воздух-топливо. Показания датчика состава топливовоздушной смеси можно считать с помощью устройства Global Tech Stream (GTS).

        A000MLQE76
    8. Гидравлический клапан изменения фаз в сборе


      1. Гидравлический клапан изменения фаз управляет золотниковым клапаном в соответствии с командами включения, поступающими от ECM. В результате на контроллер VVT-i (зубчатое колесо распредвала выпускных клапанов в сборе) со стороны опережения или запаздывания действует давление моторного масла. Когда двигатель остановлен, гидравлический клапан изменения фаз находится в положении наибольшего опережения.

        A000MH8E08
        Обозначения на рисунке
        *1 Втулка *2 Пружина
        *3 Золотниковый клапан - -
        *a К зубчатому колесу распредвала выпускных клапанов в сборе (контроллеру VVT-i) [со стороны опережения] *b К зубчатому колесу распредвала выпускных клапанов в сборе (контроллеру VVT-i) [со стороны запаздывания]
        *c Слив *d Давление масла
    9. Привод распредвала (зубчатое колесо распредвала в сборе)


      1. Привод распредвала (зубчатое колесо распредвала) включает в себя рычажный механизм, который поворачивает распредвал впускных клапанов в сторону опережения или запаздывания, и циклоидальный редуктор, снижающий частоту вращения электродвигателя.

      2. Рычажный механизм состоит из корпуса (со звездочкой), который приводится в движение цепным приводом газораспределительного механизма, пластины распредвала, закрепленной на распредвале впускных клапанов, соединяющих их звеньев и спирального диска, который двигает соединительные звенья.

        A000MFWE03
        Обозначения на рисунке
        *1 Циклоидальный редуктор *2 Электродвигатель механизма изменения фаз газораспределения с блоком EDU в сборе
        *3 Крышка корпуса (с шестерней статора) *4 Водило
        *5 Ведомая шестерня *6 Спиральный диск
        *7 Соединительные звенья *8 Пластина распредвала
        *9 Корпус (со звездочкой) *10 Распредвал впускных клапанов
        *a Рычажный механизм - -
      3. Циклоидальный редуктор состоит из крышки корпуса, на которой смонтирована шестерня статора, водила, вращаемого электродвигателем, и ведомой шестерни (которая имеет на 1 зубец больше, чем шестерня статора), введенной в зацепление с водилом. На рисунке ниже показан принцип действия циклоидального редуктора. Когда электродвигатель поворачивает водило на 1 оборот, ведомая шестерня смещается в этом же направлении только на 1 зубец.

      4. В соответствии с движением (в сторону запаздывания или в сторону опережения) электродвигателя привод распредвала (зубчатое колесо распредвала) посредством циклоидального редуктора поворачивает спиральный диск, введенный в зацепление с ведомой шестерней. Соединительные звенья сообщают вращательное движение спирального диска пластине распредвала, вследствие чего изменяются фазы газораспределения впускных клапанов.

        A000M5KE03
    10. Электродвигатель механизма изменения фаз газораспределения с блоком EDU в сборе


      1. Электродвигатель механизма изменения фаз газораспределения с блоком EDU в сборе включает в себя электродвигатель, который приводит в движение привод распредвала (зубчатое колесо распредвала) в направлении запаздывания или опережения, EDU, который управляет вращением электродвигателя, и датчик вращения на эффекте Холла, который определяет угол поворота электродвигателя.

      2. Электродвигатель представляет собой бесщеточный электродвигатель постоянного тока, смонтированный в крышке цепного привода газораспределительного механизма спереди привода распредвала (зубчатого колеса распредвала в сборе). Электродвигатель вращается соосно с распредвалом впускных клапанов.

      3. Согласно требуемым фазам газораспределения ECM передает в EDU команды задания частоты и направления вращения электродвигателя. На основе этих сигналов EDU управляет электродвигателем, вращая распредвал впускных клапанов в направлении опережения или запаздывания.

      4. EDU непрерывно контролирует состояние электродвигателя и передает сигналы текущей частоты и направления вращения электродвигателя, а также сигналы его рабочего состояния в ECM. ECM использует эти сигналы для выявления неисправностей.

        A000M4IE02
    11. Клапан управления забором воздуха и привод клапана управления забором воздуха


      1. Привод клапана управления забором воздуха перемещает клапан управления забором воздуха посредством тяги, исходя из сигналов ECM.

        A000MFOE02
        Обозначения на рисунке
        *1 Привод клапана управления впуском воздуха *2 Тяга
        *3 Клапан управления забором воздуха - -
    12. Катушка зажигания в сборе


      1. В DIS имеется 8 катушек зажигания, по одной для каждого из цилиндров. Обеспечивающие контакт со свечами зажигания наконечники свечей зажигания объединены с катушками зажигания. Кроме того, для упрощения конструкции системы в катушки зажигания встроены усилители зажигания.

        A000MJ8E02
        Обозначения на рисунке
        *1 Усилитель зажигания *2 Железный сердечник
        *3 Наконечник свечи зажигания *4 Вторичная катушка
        *5 Первичная катушка - -
        *a Сечение катушки зажигания в сборе - -
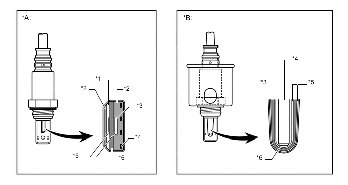
    13. Свеча зажигания


      1. В системе зажигания используются удлиненные свечи зажигания. Свечи зажигания этого типа дают возможность увеличить толщину зоны головки блока цилиндров, куда входят свечи зажигания. Таким образом, может быть расширена водяная рубашка вблизи камеры сгорания, от которой зависит эффективность охлаждения.

      2. Используемые свечи зажигания с тремя боковыми электродами и иридиевым покрытием на концах не нуждаются в техническом обслуживании в течение 193000 км (120000 миль) пробега. Центральный электрод выполнен из иридия, что обеспечивает хорошие характеристики зажигания и длительный срок службы. Кроме того, для улучшения воспламеняемости, износостойкости и стойкости к образованию нагара были добавлены 2 дополнительных боковых электрода.

        A000MQFE02
        Обозначения на рисунке
        *1 Иридиевый наконечник *2 Платиновый наконечник
        *a Удлинение *b Сечение головки блока цилиндров
        A000M71 Водяная рубашка - -
  5. ПРИНЦИП РАБОТЫ


    1. Двойная система VVT-i


      1. VVT-iE


        • Система VVT-iE включает в себя приводы распредвалов (зубчатые колеса распредвалов в сборе), которые посредством рычажного механизма вращают распредвалы впускных клапанов, и встроенные в EDU (ЭБП) электродвигатели механизма изменения фаз газораспределения с блоком EDU в сборе, которые управляют рычажным механизмом в соответствии с сигналами, поступающими от ECM.

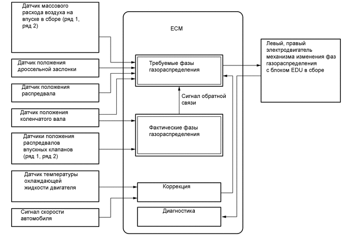
        • На основе частоты вращения двигателя, массы воздуха на впуске, положения дроссельной заслонки, скорости автомобиля и температуры охлаждающей жидкости ECM вычисляет оптимальные фазы газораспределения для любых условий движения. ECM использует вычисленные значения фаз газораспределения в качестве требуемых фаз газораспределения для управления электродвигателями механизма изменения фаз газораспределения с блоком EDU в сборе. Кроме того, ECM определяет фактические фазы газораспределения, используя сигналы датчиков положения распредвалов впускных клапанов и коленчатого вала как сигналы обратной связи, что позволяет точно устанавливать требуемые фазы газораспределения.

          A000MPEE05
        • ECM управляет запаздыванием и опережением, исходя из разницы частот вращения электродвигателя и распредвала. ECM стабилизирует фазы распределения, вращая электродвигатель с такой же частотой, с какой вращается распредвал.


          • Для смещения в сторону опережения электродвигатель вращается быстрее (с большей частотой вращения) распредвала.

          • Для смещения в сторону запаздывания электродвигатель вращается медленнее (с меньшей частотой вращения) распредвала (при определенных частотах вращения распредвала электродвигатель может вращаться против часовой стрелки).

            A000MIRE06
        • Когда из ECM поступают сигналы опережения, электродвигатель вращается быстрее распредвала, и посредством редуктора спиральный диск поворачивается по часовой стрелке. Вращательное движение спирального диска приводит к смещению штырей соединительных звеньев (вставленных в спиральные канавки) к оси распредвала. В результате соединительные звенья поворачивают пластину распредвала, закрепленную на распредвале впускных клапанов, в направлении опережения.

          A000M80E03
          Обозначения на рисунке
          *1 Спиральный диск *2 Штырь соединительного звена
          *3 Спиральные канавки *4 Соединительные звенья
          *5 Пластина распредвала (закреплена на распредвале) - -
          *a Направление вращения - -
        • Когда из ECM поступают сигналы запаздывания, электродвигатель вращается медленнее распредвала, и посредством редуктора спиральный диск поворачивается против часовой стрелки. Вращательное движение спирального диска приводит к удалению штырей соединительных звеньев (вставленных в спиральные канавки) от оси распредвала. В результате соединительные звенья поворачивают пластину распредвала, закрепленную на распредвале впускных клапанов, в направлении запаздывания.

          A000M60E03
          Обозначения на рисунке
          *1 Спиральный диск *2 Штырь соединительного звена
          *3 Спиральные канавки *4 Корпус (со звездочкой)
          *5 Соединительные звенья *6 Пластина распредвала (закреплена на распредвале)
          *a Направление вращения - -
        • После достижения требуемых фаз газораспределения ECM начинает вращать электродвигатель с такой же частотой, с какой вращается распредвал. В результате рычажный механизм привода распредвала (зубчатого колеса распредвала в сборе) фиксируется, тем самым удерживая распредвал на фазе газораспределения.

      2. VVT-i


        • В систему VVT-i входят контроллеры VVT-i (зубчатые колеса распредвалов выпускных клапанов в сборе), которые приводятся в действие давлением моторного масла, и гидравлические клапаны изменения фаз, которые переключают каналы подачи моторного масла в соответствии с сигналами от ECM.

        • На основе частоты вращения двигателя, массы воздуха на впуске, положения дроссельной заслонки, скорости автомобиля и температуры охлаждающей жидкости ECM вычисляет оптимальные фазы газораспределения для любых условий движения. На основе вычисленных фаз газораспределения ECM управляет работой гидравлических клапанов изменения фаз. Кроме того, ECM определяет фактические фазы газораспределения, используя сигналы датчиков положения распредвалов выпускных клапанов и коленчатого вала как сигналы обратной связи, что позволяет точно устанавливать требуемые фазы газораспределения.

          A000MARE05
        • Когда гидравлический клапан изменения фаз посредством сигналов опережения, поступающих от ЭБУ, устанавливается, как показано на рисунке ниже, результирующее давление масла подается в полость направляющего элемента со стороны опережения, вызывая вращение распредвала в направлении опережения.

          A000MH2E05
          Обозначения на рисунке
          *1 Направляющий элемент *2 ECM
          *3 Гидравлический клапан изменения фаз в сборе - -
          *a Направление вращения *b Слив (давление масла)
          *c Впуск (давление масла) - -
        • Когда гидравлический клапан изменения фаз посредством сигналов запаздывания, поступающих от ЭБУ, устанавливается, как показано на рисунке ниже, результирующее давление масла подается в полость направляющего элемента со стороны запаздывания, вызывая вращение распредвала в направлении запаздывания.

          A000MBTE05
          Обозначения на рисунке
          *1 Направляющий элемент *2 ECM
          *3 Гидравлический клапан изменения фаз в сборе - -
          *a Направление вращения *b Впуск (давление масла)
          *c Слив (давление масла) - -
        • После достижения требуемого состояния фазы газораспределения сохраняются за счет удержания гидравлического клапана изменения фаз в нейтральном положении до изменения условий движения.

          В результате обеспечивается необходимая регулировка фаз газораспределения, и предотвращается вытекание моторного масла.

    2. ACIS


      1. При низких и средних частотах вращения коленчатого вала и высокой нагрузке двигателя ECM передает сигнал приводу клапана управления забором воздуха на закрывание клапана. В результате рабочая длина впускного коллектора увеличивается, и благодаря динамическому действию (инерционным свойствам) воздуха на впуске возрастает КПД воздухозабора на низких и средних частотах вращения, вследствие чего повышается мощность.

        A000MP7E05
      2. При любых других условиях (кроме работы двигателя на низких и средних частотах вращения коленчатого вала и с высокой нагрузкой) ECM передает сигнал приводу клапана управления забором воздуха на открывание клапана. Когда клапан управления открывается, рабочая длина камеры воздухозаборника сокращается, и КПД воздухозабора становится максимальным в диапазоне от низких до высоких частот вращения коленчатого вала двигателя, что обусловливает повышение мощности на низких, средних и высоких частотах.

        A000M8UE06
    3. ETCS-i


      1. ECM определяет требуемый угол поворота дроссельной заслонки и управляет электродвигателем привода дроссельной заслонки в соответствии с рабочими условиями:

      2. ECM управляет дроссельной заслонкой с тем, чтобы постоянно поддерживалась оптимальная частота вращения холостого хода.

      3. Дроссельная заслонка, являющаяся элементом системы TRC, закрывается при поступлении команды из ЭБУ системы противоскольжения при значительной пробуксовке ведущего колеса, таким образом, помогая сохранить управляемость автомобиля и тяговое усилие.

      4. Для максимально эффективной работы системы VSC угол поворота дроссельной заслонки регулируется совместно с ЭБУ системы противоскольжения.

      5. ЭБУ гибридной системы, совмещенный с ЭБУ круиз-контроля, непосредственно регулирует положение дроссельной заслонки, обеспечивая функции круиз-контроля.

      6. На моделях с динамической радарной системой круиз-контроля динамическая радарная система круиз-контроля посредством датчика радара миллиметрового диапазона и ЭБУ помощи при движении определяет расстояние до находящегося впереди автомобиля, направление его движения и относительную скорость. Эти данные дают возможность реализовывать различные функции круиз-контроля: замедление, поддержание скорости движущегося впереди автомобиля, поддержание постоянной скорости движения и ускорение. Чтобы обеспечить выполнение этих функций, ECM управляет дроссельной заслонкой.

    4. Система управления топливным насосом


      1. Система управления отсечкой топлива отключает топливный насос при развертывании любой из подушек безопасности. Когда ЭБУ гибридной системы принимает сигнал развертывания подушки безопасности от подушки безопасности в сборе, он передает в ECM команду на выключение двигателя. После получения этой команды ECM выключает размыкающее реле. Чтобы перезапустить двигатель и возобновить подачу топлива после приведения в действие системы управления отсечкой топлива, необходимо повторно включить питание (IG).

      2. Используя реле и резистор топливного насоса, ECM регулирует частоту вращения топливного насоса в соответствии с условиями езды.

        A000M9VE02
    5. Система управления вентилятором системы охлаждения


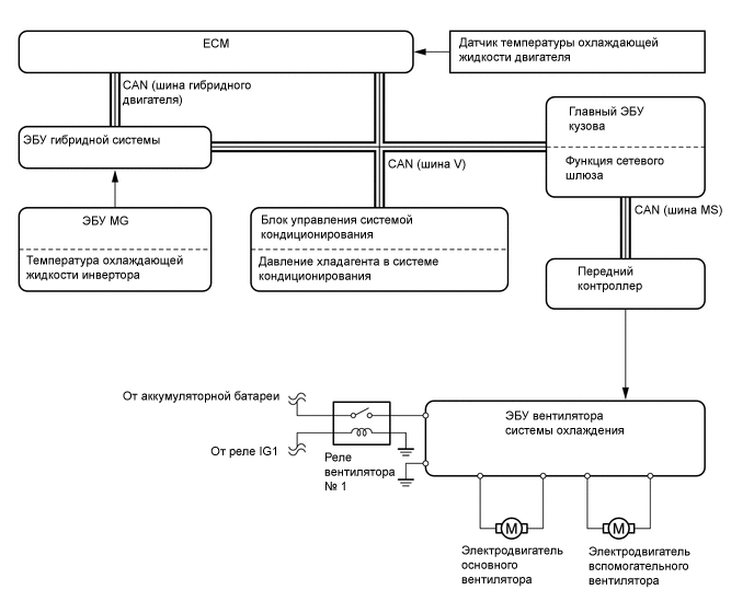
      1. В двигателе используется система управления вентиляторами системы охлаждения. Для оптимизации скорости вентилятора в зависимости от температуры охлаждающей жидкости двигателя, температуры охлаждающей жидкости инвертора и режима работы системы кондиционирования ECM вычисляет требуемую скорость вентилятора и через главный ЭБУ кузова и передний контроллер передает соответствующие сигналы в ЭБУ вентилятора системы охлаждения. На основе этих сигналов ЭБУ вентилятора системы охлаждения управляет электродвигателями вентиляторов.

        A000MJFE02
      2. Как показано на рисунке ниже, ECM определяет необходимую скорость вентилятора, выбирая максимальную скорость из:


        • (A) скорости вентилятора, обусловленной требуемой температурой охлаждающей жидкости двигателя;

        • (B) скорости вентилятора, обусловленной требуемой температурой охлаждающей жидкости инвертора;

        • (C) скорости вентилятора, обусловленной требуемым давлением хладагента в системе кондиционирования.

        A000M03E02