AIRBAG SYSTEM


  1. FUNCTION OF MAIN COMPONENTS


    1. The main components in the airbag system have the following functions:

      Component Outline
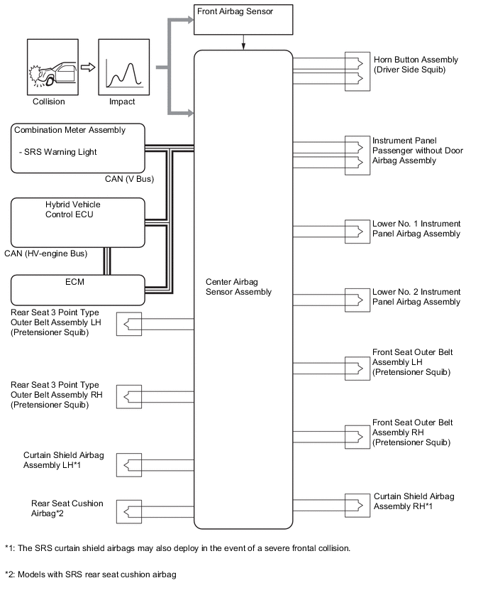
      Center Airbag Sensor Assembly (Airbag ECU Assembly)
      • The center airbag sensor assembly receives signals from the deceleration sensor and safing sensor built into the center airbag sensor assembly and one of the front airbag sensors, determines whether the horn button assembly (driver side squib), instrument panel passenger without door airbag assembly, lower No. 1 and No. 2 instrument panel airbag assembly, curtain shield airbag assemblies*1, rear seat cushion airbag*2, front seat outer belt assembly (pretensioner squib) and rear seat 3 point type outer belt assembly (pretensioner squib) should be activated, and diagnoses system malfunctions.

      • The center airbag sensor assembly receives signals from the deceleration sensor, the safing sensor built into the center airbag sensor assembly, the side airbag sensor assembly and the rear airbag sensor, determines whether the front and rear*3 seat airbag assembly, the curtain shield airbag assembly and front seat outer belt assembly (pretensioner squib) should be activated, and diagnoses system malfunctions.

      • The center airbag sensor assembly sends the airbag deployment signal to the hybrid vehicle control ECU through the Controller Area Network (CAN).

      • The center airbag sensor assembly sends the airbag deployment signal to the main body ECU to operate the collision door lock release function.

      Horn Button Assembly (Driver Side Squib) These consist of an inflator, a bag, and so on. The inflator deploys gas in accordance with an expansion signal from the center airbag sensor assembly and deploys the bag.
      Instrument panel Passenger without Door Airbag Assembly
      Lower No. 1 Instrument Panel Airbag Assembly
      Lower No. 2 Instrument Panel Airbag Assembly
      Front Seat Airbag Assembly
      Rear Seat Airbag Assembly*3
      Curtain Shield Airbag Assembly
      Rear Seat Cushion Airbag*2
      Front Airbag Sensor The front airbag sensor uses an electrical type deceleration sensor. Based on the deceleration of the vehicle during a frontal collision, a distortion is created in the sensor and converted into an electrical signal.
      Side Airbag Sensor Assembly A deceleration sensor is enclosed in the side airbag sensor assembly and rear airbag sensor. Based on the deceleration of the vehicle during a side or rear side collision, a distortion is created in the sensor and converted into an electrical signal.
      Rear Airbag Sensor
      Airbag Cut Off Switch Cylinder Sub-assembly*4 The deployment of the instrument panel passenger without door airbag assembly, lower No. 2 instrument panel airbag assembly and front seat airbag assembly RH the time of collisions can be turned on and off as required.
      Combination Meter Assembly SRS Warning Light The SRS warning light turns on to alert the driver when the center airbag sensor assembly detects a malfunction in the airbag system.
      Multi-information Display The multi-information display alerts the driver when the center airbag sensor assembly detects a malfunction in the airbag system.

      Tech Tips

      *1: The SRS curtain shield airbags may also deploy in the event of a severe frontal collision.

      *2: Models with SRS rear seat cushion airbag

      *3: Models with SRS rear seat airbag

      *4: Models with airbag cut off switch cylinder sub-assembly

  2. OPERATING CONDITION


    1. If the impact of a collision is greater than the specified value, the SRS is activated automatically. The center airbag sensor assembly includes the safing sensor and deceleration sensor. The safing sensor is designed to turn on at a lower deceleration rate than the deceleration sensor.


      1. In case of a frontal collision, the center airbag sensor assembly determines whether airbag deployment or pretensioner activation is necessary based on signals from the deceleration sensor and the front airbag sensor. If the safing sensor turns on simultaneously, current flows to the squibs to deploy the SRS components as shown in the illustration below. However, a deployment ignition signal may be output with the deceleration sensor on signal even without a signal from the front airbag sensor.

        A000MF0E03
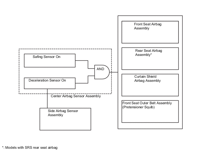
      2. In case of a side collision, the center airbag sensor assembly determines whether airbag deployment is necessary based on signals from the side airbag sensor assembly. If the safing sensor turns on simultaneously with the side airbag sensor assembly, current flows to the squibs to deploy the SRS as shown in the illustration below:

        A000LZVE02
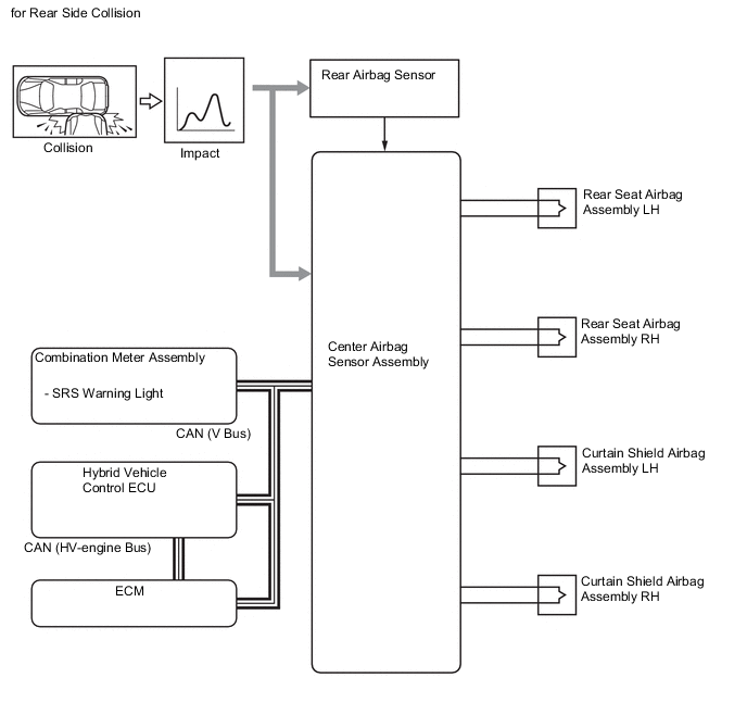
      3. In case of a rear side collision, the center airbag sensor assembly determines whether airbag deployment is necessary based on signals from the rear airbag sensor. If the safing sensor turns on simultaneously with the rear airbag sensor, current flows to the squib to deploy the SRS as shown in the illustration below:

        A000MFFE03
      4. In case of a rear collision, the center airbag sensor assembly determines whether airbag deployment is necessary. If the safing sensor turns on, current flows to the squib to deploy the SRS as shown in the illustration below:

        A000MP9E02
  3. FUNCTION


    1. Airbag Cut Off Switch Cylinder Sub-assembly


      1. A cylinder to disable the deployment of the instrument panel passenger without door airbag assembly, lower No. 2 instrument panel airbag assembly and the front seat airbag assembly RH has been provided. This cylinder can be used if the deployment of those airbags is dangerous, such as when the passenger is wearing a Child Restraint System (CRS) seat belt.

      2. This cylinder is located on the inside of the glove box. It is switched on or off using a mechanical key. When the airbag cut off switch cylinder sub-assembly is off, the passenger airbag off indicator light will illuminate. At this time, the instrument panel passenger without door airbag assembly, lower No. 2 instrument panel airbag assembly and the front seat airbag assembly RH will be disabled regardless of the collision conditions.

        A000MQAE02
        Text in Illustration
        *1

        - AIRBAG ON Indicator Light

        - AIRBAG OFF Indicator Light

        *2 Airbag Cut Off Switch Cylinder Sub-assembly
  4. CONSTRUCTION


    1. Horn Button Assembly


      1. The inflator and bag are built into the horn button assembly.

        A000MRBE04
        Text in Illustration
        *1 No. 1 Inflator Connector *2 No. 2 Inflator Connector
        *3 Bag *4 Inflator
        *a A - A Cross Section - -
    2. Instrument Panel Passenger without Door Airbag Assembly


      1. The instrument panel passenger without door airbag assembly is located in the upper section of the instrument panel of the front passenger seat.

      2. The instrument panel passenger without door airbag assembly consists of inflators and a bag.

        A000M8OE03
        Text in Illustration
        *1 No. 1 Inflator Connector *2 No. 2 Inflator Connector
        *3 Bag *4 Inflator
        *a A - A Cross Section - -
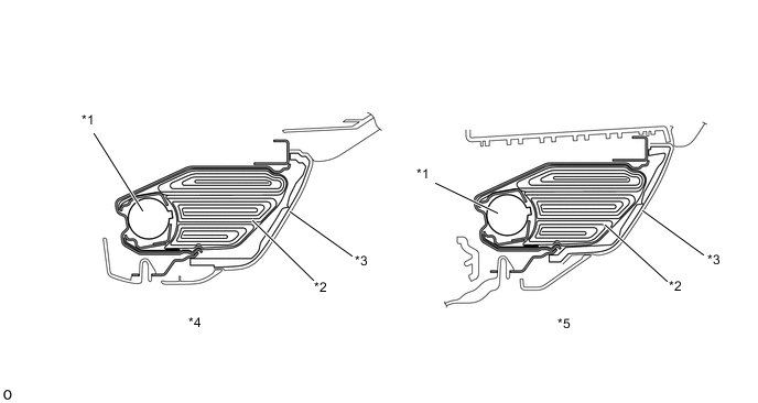
    3. Lower No. 1 and No. 2 Instrument Panel Airbag Assemblies


      1. The lower No. 1 and No. 2 instrument panel airbag assemblies consist of an airbag door, an inflator, and a bag.

        A000MOKE04
        Text in Illustration
        *1 Inflator *2 Bag
        *3 Airbag Door *4 Lower No. 1 Instrument Panel Airbag Assembly
        *5 Lower No. 2 Instrument Panel Airbag Assembly - -
    4. Front Seat Airbag Assembly


      1. The front seat airbag assemblies are installed in the seat backs of the driver seat and the front passenger seat. Each front seat airbag assembly is a one-piece design, consisting of an inflator and a bag.

        A000MMPE03
        Text in Illustration
        *1 Inflator *2 Bag
        *a A - A Cross Section - -
    5. Rear Seat Airbag Assembly


      1. Rear seat airbag assemblies are installed in the seat backs of the rear passenger seat. Each rear seat airbag assembly is a one-piece design, consisting of an inflator and a bag.

        A000MNIE03
        Text in Illustration
        *1 Bag *2 Inflator
        *a A - A Cross Section - -
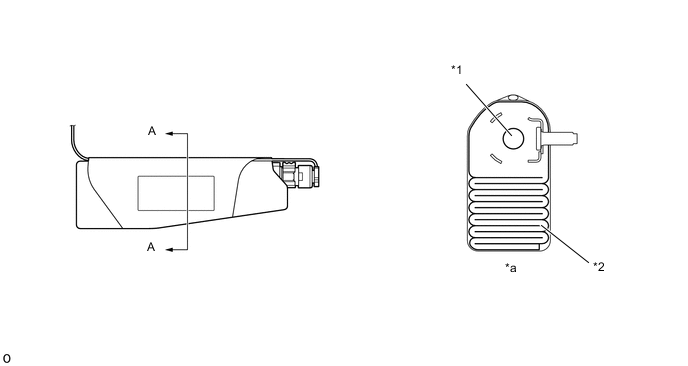
    6. Curtain Shield Airbag Assembly


      1. Curtain shield airbag assemblies are installed in the area close to the sides of the headliner. Each curtain shield airbag assembly is a one-piece design, consisting of an inflator and a bag.

        A000MG7E03
        Text in Illustration
        *1 Inflator *2 Bag
        *a A - A Cross Section - -
    7. Rear Seat Cushion Airbag


      1. The rear seat cushion airbag assembly is installed in the seat cushion of the front passenger side rear passenger seat. The rear seat cushion airbag assembly is a one-piece design, consisting of an inflator and a bag.

        A000MRJE04
        Text in Illustration
        *1 Inflator *2 Bag
        *a A - A Cross Section - -
    8. Front Seat Headrest Assembly


      1. The active headrest system consists of an inflator, a rod and a link mechanism.

      2. When the center airbag sensor assembly detects a rear collision, it outputs an ignition signal to the inflator for the operation of the active headrest system. After the inflator is ignited, the interior pressure of the inflator increases and pushes up the piston. Along with the elevation of the piston, the rod inside the headrest stay is also pushed up, the lock is released via the link mechanism in the headrest, and the front surface of the headrest is pushed out forward to lock.

        A000MK5E04
        Text in Illustration
        *1 Rod *2 Piston
        *3 Active Headrest Inflator - -
        *a Link Mechanism - -
  5. SYSTEM CONTROL


    1. Airbag for Frontal Collision


      1. There are 5 types of airbags for frontal collisions: horn button assembly, instrument panel passenger without door airbag assembly, lower No. 1 and No. 2 instrument panel airbag assemblies, curtain shield airbag assemblies*1 and rear seat cushion airbag*2. These airbags deploy simultaneously.

        Tech Tips

        *1: The SRS curtain shield airbags may also deploy in the event of a severe frontal collision.

        *2: Models with SRS rear seat cushion airbag

        A000MISE02
    2. Airbags for Side/Rear Side Collision


      1. 3 types of airbags are for side collisions: front seat airbag assembly, rear seat airbag assembly* and curtain shield airbag assembly. These airbags deploy simultaneously. 2 types of airbags are for rear side collisions: rear seat airbag assembly* and curtain shield airbag assembly.


        • With the airbag for side collisions, when the side airbag sensor assembly detect an impact, they inform the center airbag sensor assembly, which causes the front seat airbag assembly, rear seat airbag assembly* and curtain shield airbag assembly to be deployed simultaneously.

        • With the airbag for rear side collisions, when the rear airbag sensor detects an impact, it informs the center airbag sensor assembly, which causes the rear seat airbag assembly* and curtain shield airbag assembly to be deployed.


          • *: Models with SRS rear seat airbag

        A000MCLE02
        A000M1FE02
    3. Headrest for Rear Collision


      1. The headrest for rear collisions contains only the active headrest inflator.

        A000M23E02
  6. DIAGNOSIS


    1. Summary


      1. If the center airbag sensor assembly detects a malfunction in the SRS airbag system, the center airbag sensor assembly stores the malfunction data in memory, in addition to illuminating the SRS warning light.


        • The center airbag sensor assembly outputs the malfunction data as 5-digit Diagnostic Trouble Codes (DTCs) to a Global TechStream (GTS) or the SRS warning light.

          A000MF8E19
          *1 Center Airbag Sensor Assembly
          *2 Combination Meter Assembly
          *3 - SRS Warning Light
    2. SRS Airbag System DTCs


      1. The 5-digit DTCs can be read after connecting a Global TechStream (GTS) to the DLC3.

      2. If the SRS airbag deploys, the center airbag sensor assembly turn on the SRS warning light. However, in contrast to the ordinary diagnosis function, a DTC is not stored. The SRS warning light cannot be turned off. It is necessary to replace the center airbag sensor assembly with a new one.