AIRBAG SYSTEM


  1. OUTLINE


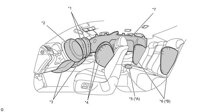
    1. The Supplemental Restraint System (SRS) driver airbag, SRS front passenger airbag and SRS curtain shield airbags*1 are used as supplements to the seat belts to help reduce the shocks to the head and chest of the driver or front passenger in the event of a frontal collision.

    2. The SRS knee airbags help restrain the lower parts of the bodies of the driver and front passenger, thus enhancing the excellent passenger protection provided by the seat belts and front airbags.

    3. The SRS side airbags for the driver and the front passenger, SRS rear side airbags*2 for rear outer passengers and SRS curtain shield airbags help to reduce shocks to the chest and head of the driver, front passenger and rear outer passengers in the event of a side collision.

    4. The SRS seat cushion airbag becomes deployed during a frontal collision. The deployed SRS seat cushion airbag supplements the function of the seat belt by inflating the front area of the seat cushion in order to restrain the lower hip area of the occupant. Thus, it helps dissipate and dampen the impact energy that acts on the occupant's upper body including the head and chest.*3

      Tech Tips

      *1: The SRS curtain shield airbags may also deploy in the event of a severe frontal collision.

      *2: Models with SRS rear seat airbag

      *3: Models with SRS rear seat cushion airbag

      A000MQ0E05
      Text in Illustration
      *A Models with SRS Seat Cushion Airbag *B Models with SRS Rear Seat Airbag
      *1 SRS Front Passenger Airbag *2 SRS Driver Airbag
      *3 SRS Knee Airbag *4 SRS Front Seat Airbag
      *5 SRS Seat Cushion Airbag *6 SRS Rear Seat Airbag
      *7 SRS Curtain Shield Airbag - -
    5. An active headrest system is provided on the driver and passenger seats. When the vehicle is impacted from the rear, the active headrest system pushes the front surface of the front headrest forward to reduce neck injury for the front passenger and driver.*


      • *: Models with active headrest system

  2. PRECAUTION


    1. Event Data Recorder


      1. This vehicle is equipped with an Event Data Recorder (EDR). The main purpose of the EDR is to record data that will assist in understanding how the vehicle's systems have performed in certain crash or near-crash situations (for example, situations involving airbag deployment or collisions with a road obstacle). The EDR is designed to record data related to vehicle dynamics and safety systems for a short period of time, typically 30 seconds or less.

      2. The EDR in this vehicle is designed to record such data as:


        • How various systems were operating

        • Whether or not the driver and passenger safety belts were fastened/buckled

        • How far (if at all) the driver was depressing the accelerator and/or brake pedal

        • How fast the vehicle was traveling

      3. These data can help provide a better understanding of the circumstances in which crashes and injuries occur.

        Note

        Data are only recorded by the EDR in serious crash situations. No data are recorded by the EDR under normal driving conditions and no personal data (for example, name, gender, age and crash location) are recorded. However, other parties, such as law enforcement, may be able to combine the EDR data with the type of personally identifying data routinely acquired during a crash investigation.

        To read data recorded by an EDR, special equipment is required, and access to the vehicle or the EDR is needed. In addition to the vehicle manufacturer, other parties which have the necessary special equipment, such as law enforcement agencies, will be able to read the information if they have access to the vehicle or the EDR.

      4. Lexus will not disclose the data recorded in an EDR to a third party except when:


        • An agreement from the vehicle's owner (or the lessee for a leased vehicle) is obtained

        • Officially requested by the police or other authorities

        • For use by Lexus in a law suit

        • Ordered by a court of law

      5. However, if necessary, Lexus will:


        • Use the data for research on vehicle safety performance

        • Disclose the data to a third party for research purposes without disclosing information about the specific vehicle or vehicle owner

      6. If Lexus safety connect is equipped and the services are subscribed to, refer to the Lexus safety connect telematics subscription service agreement for information on data collected and its usage.