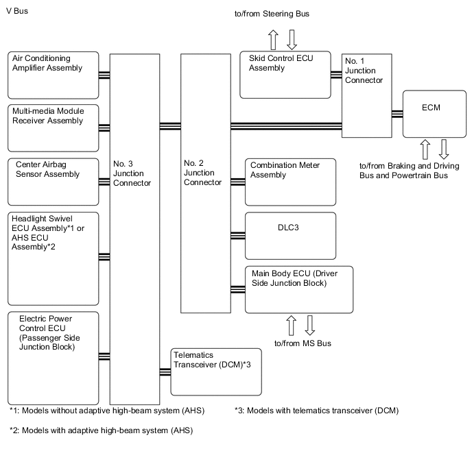
CAN COMMUNICATION SYSTEM

A0010EYE02
A0010T6E04
A0010LVE03
A0010NNE03
*1 Powertrain Bus
*2 to/from V Bus and Braking and Driving Bus
A0010ABE04
A0010CJE04
A0010CBE04
*1 Blind Spot Monitor Bus
*2 to/from Braking and Driving Bus
*3 Blind Spot Monitor Sensor LH
*4 Blind Spot Monitor Sensor RH
A0010WZE05
A0010HXE04