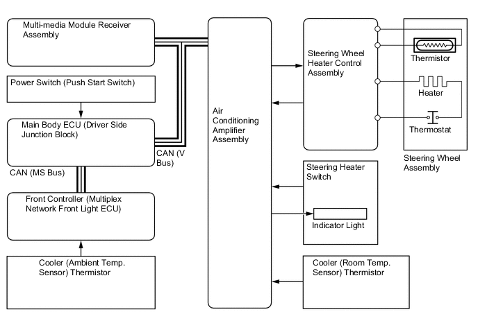
HEATED STEERING WHEEL SYSTEM

A0010Q6E04