FRONT SUSPENSION SYSTEM GENERAL


  1. OUTLINE


    1. A MacPherson strut type independent suspension is used.

    2. Excellent driving stability and ride comfort are achieved by optimizing the suspension geometry.

      A01HWWGE01
      Text in Illustration
      *1 Front Suspension Support Sub-assembly *2 Front Coil Spring
      *3 Front Shock Absorber Assembly *4 Front Stabilizer Bar
      *5 Front Frame Assembly *6 Front Lower No. 1 Suspension Arm Sub-assembly
  2. MAJOR DIFFERENCE


    1. The 2015 models have been modified from the 2014 models as shown below:


      1. The absorber damping force has been tuned to optimize handling and ride comfort.

      2. The coil spring rates have been tuned to balance the front and rear of the vehicle to optimize handling and ride comfort.

  3. MAIN FEATURES


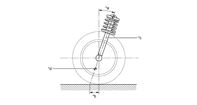
    1. Optimized Caster


      1. Optimum caster angle and trail values are featured to provide straight-line stability during low-speed to high-speed ranges and assist steering response at high speeds.

        A01HX7IE01
        Text in Illustration
        *a Caster Angle *b Trail Value
        *c King Pin Axis *d Lower Ball Joint Fulcrum Point
    2. Optimized Camber


      1. The front suspension uses negative camber to reduce the ground contact camber angle of the outer wheel at the time of turning (cornering) which is caused when the vehicle posture changes during cornering, thus realizing excellent cornering performance.

        A01HX83E01
        Text in Illustration
        *a Straight-line *b Cornering
        *c Negative Camber - -
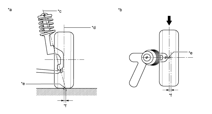
    3. Optimized King Pin Offset


      1. A small king pin offset is used and the moment which occurs around the king pin axis is made small in order to achieve excellent vehicle stability during braking. When force is applied to the wheel during braking etc., force is applied at the tire center ground contact point and the king pin offset. The power of force multiplied by king pin offset tries to turn the king pin axis. In this way, making the king pin offset smaller produces a smaller moment at the king pin axis, providing excellent vehicle stability during braking.

        A01HX2YE01
        Text in Illustration
        *a Rear View *b Upper View
        *c King Pin Axis *d Tire Contact Center
        *e Tire Center Ground Contact Point *f King Pin Offset
        A01HX6P Force - -