ДВИГАТЕЛЬ 3UR-FE


  1. Общие сведения


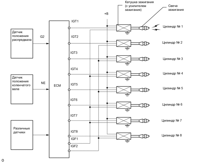
    1. В двигателе используется система зажигания с индивидуальными катушками (DIS). Благодаря DIS повышается точность регулировки угла опережения зажигания, снижается падение высокого напряжения, и увеличивается надежность системы зажигания в целом вследствие отсутствия распределителя.

    2. DIS представляет собой независимую систему зажигания, в которой каждому цилиндру соответствует собственная катушка зажигания (объединенная с усилителем зажигания).

      A01W5ZLE04
  2. Катушка зажигания


    1. В DIS имеется 8 катушек зажигания, по одной для каждого из цилиндров. Обеспечивающие контакт со свечами зажигания наконечники свечей зажигания объединены с катушками зажигания. Кроме того, для упрощения конструкции системы в катушки зажигания встроены усилители зажигания.

      Figure 1. Сечение катушки зажигания

      A01W6LAC02
      *1 Усилитель зажигания *2 Железный сердечник
      *3 Наконечник свечи зажигания *4 Вторичная катушка
      *5 Первичная катушка - -
  3. Свеча зажигания


    1. В системе зажигания используются удлиненные свечи зажигания. Свечи зажигания этого типа дают возможность увеличивать толщину зоны головки блока цилиндров, куда входят свечи зажигания. Таким образом, может быть расширена водяная рубашка вблизи камеры сгорания, от которой зависит эффективность системы охлаждения.

    2. Используемые свечи зажигания с иридиевым покрытием на концах не нуждаются в техническом обслуживании в течении 100000 км (60000 миль) пробега. Благодаря иридиевому центральному электроду обеспечивается улучшение характеристики зажигания по сравнению со свечами зажигания с платиновым покрытием на конце, и повышается долговечность.

      A01W5Z6C01
      *1 Иридиевый наконечник *2 Платиновый наконечник
      *3 Водяная рубашка - -
      *a Удлинение *b Сечение головки блока цилиндров
      Характеристики
      Изготовитель DENSO
      Тип SK20HR11
      Зазор между электродами свечи зажигания 1,0 - 1,1 мм (0,0394 - 0,043 дюйма)