EXHAUST SYSTEM DETAILS


  1. CONSTRUCTION


    1. Exhaust Manifold Sub-assembly


      1. A stainless steel exhaust manifold with an integrated Three-Way Catalytic converter (TWC) is used for warm-up of the TWC and for weight reduction.

        A01HWU9E01
        Text in Illustration
        *1 TWC - -
    2. Exhaust Pipe


      1. The exhaust pipes are made of stainless steel for improved rust resistance.

      2. A thin-wall, ceramic type TWC is used.

      3. A tail exhaust pipe assembly is used to ensure engine performance and reduce exhaust noise.

      4. A ball joint is used to join the exhaust manifold and front exhaust pipe assembly, and another ball joint is used to join the center exhaust pipe assembly and tail exhaust pipe assembly. As a result, in-vehicle sound has been muffled, vibration has been minimized, and weight reduction has been realized.

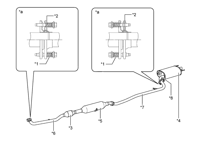
        A01HWPTE01
        Text in Illustration
        *1 Compression Spring *2 Gasket
        *3 TWC *4 Main Muffler
        *5 Sub Muffler *6 Front Exhaust Pipe Assembly
        *7 Center Exhaust Pipe Assembly *8 Tail Exhaust Pipe Assembly
        *a Ball Joint - -