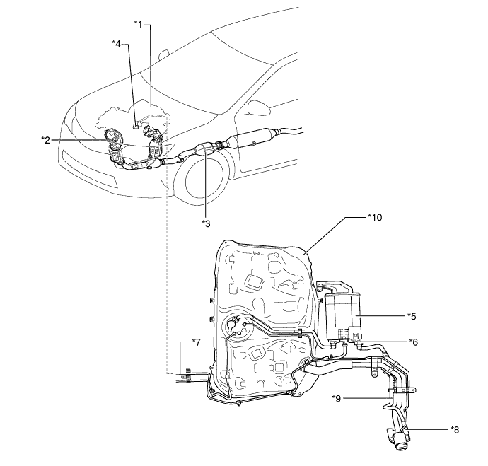
EMISSION CONTROL SYSTEM PARTS LOCATION

A01HWNYE01
Text in Illustration
*1

Exhaust Manifold Sub-assembly RH

- TWC

- Air Fuel Ratio Sensor

*2

Exhaust Manifold Sub-assembly LH

- TWC

- Air Fuel Ratio Sensor

*3

Front Exhaust Pipe Assembly

- TWC

- Oxygen Sensor

*4 Purge VSV
*5 Canister *6

Canister Pump Module

- Vent Valve

- Leak Detection Pump

- Canister Pressure Sensor

*7 Purge Air Line *8 Canister Filter
*9 Flesh Air Line *10 Fuel Tank Assembly