INTRODUCTION


  1. OUTLINE OF NEW FEATURES


    • The following changes have been made for the new LAND CRUISER.


    1. Model Line-up


      1. The following models have been discontinued:

        MODEL DESTINATION ENGINE BODY TYPE GRADE
        VDJ200R-GNTVZW Europe 1VD-FTV Station Wagon Lift-up Type Back Door VX-R
        GRJ200L-GPANKV G.C.C. Countries 1GR-FE Station Wagon Lift-up Type Back Door GX
        GRJ200L-GMANKV
        GRJ200L-GNAAKV GX-R
        GRJ200L-GDMNKV Station Wagon Swing Type Back Door GX
        VDJ200L-GPTNZV 1VD-FTV Station Wagon Lift-up Type Back Door
        URJ202R-GNTVKQ Australia 1UR-FE Station Wagon Lift-up Type Back Door VX-R
        GRJ200L-GNAEKC China 1GR-FE Station Wagon Lift-up Type Back Door VX
        GRJ200L-GNAVKC VX-R
        GRJ200L-GNAAKC GX-R
        URJ202L-GNTEKC 1UR-FE VX
        URJ202L-GNTVKC VX-R
        GRJ200R-GDMNK General Countries 1GR-FE Station Wagon Swing Type Back Door GX
        GRJ200L-GDMNK
        GRJ200L-GCMNK
        VDJ200R-GCMNZ 1VD-FTV
      2. The following models have been added:

        MODEL DESTINATION ENGINE BODY TYPE GRADE
        GRJ200L-GMTNKV G.C.C. Countries 1GR-FE Station Wagon Lift-up Type Back Door GX
        GRJ200L-GNTAKV GX-R
    2. 1GR-FE Engine


      1. The 1GR-FE engine (EURO 4 regulations) has been adopted for some models for G.C.C. countries.

    3. 1UR-FE Engine


      1. The 1UR-FE engine (EURO 4 regulations) has been adopted for some models for G.C.C. countries.

      2. Specifications for 1UR-FE engine for the Azerbaijan package models have been modified for compliance with EURO 5 regulations from EURO 4 regulations.

      3. Specifications for 1UR-FE engine for the Ukraine package models have been modified for compliance with EURO 6 regulations from EURO 5 regulations.

      4. The 95 or higher Research Octane Number (RON) has been adopted for 1UR-FE engine for the package models for Saudi Arabia, G.C.C. countries, Lebanon, Jordan, Syria, Iraq, Russia, Kazakhstan and Ukraine.

      5. The air injection control system has been adopted for some models for G.C.C. countries.*

        Tech Tips

        *: Models with EURO 4

    4. 3UR-FE Engine


      1. The 3UR-FE engine (EURO 4 regulations) has been adopted for some models for G.C.C. countries.

      2. The 95 or higher Research Octane Number (RON) has been adopted for 3UR-FE engine for the package models for Saudi Arabia, G.C.C. countries, Lebanon, Jordan, Syria and Iraq.

      3. The air injection control system has been adopted for some models for G.C.C. countries.*

        Tech Tips

        *: Models with EURO 4

    5. 1VD-FTV Engine


      1. The 1VD-FTV engine (EURO 3 regulations) has been adopted for some models for G.C.C. countries.

      2. Specifications for 1VD-FTV engine for the Argentina package models have been modified for compliance with EURO 5 regulations from EURO 4 regulations.

      3. Specifications for 1VD-FTV engine for the South Africa package models have been changed.

        Engine Specifications for Models for the South Africa Package
        Max. Output [ECE] 195 kW @ 3400 rpm
        Max. Torque [ECE] 650 N*m @ 1600 to 2600 rpm
    6. AC60F Automatic Transmission


      1. An AC60F 6-speed automatic transmission has been adopted for the models equipped with 1GR-FE engine, instead of the A750F 5-Speed automatic transmission used in the previous models.

    7. Differential


      1. The gear ratios of the front differential and the rear differential have been changed to 4.300 along with the newly adopted AC60F 6-speed automatic transmission in the vehicles equipped with the 1GR-FE engine.

        Engine/Automatic Transmission Type 1GR-FE/AC60F
        Differential Type Front Rear
        - Models with Rear Differential Lock System Models with LSD
        SD22A BD24A BD24AN BD24AP
        Differential Gear Ratio 4.300 4.300 4.300 4.300
        Ring Gear Size mm (in.) 220 (8.7) 240 (9.4) 240 (9.4) 240 (9.4)
        Oil Capacity Liters (US qts, Imp.qts) 1.9 (2.0, 1.7) 4.2 (4.4, 3.7) 4.2 (4.4, 3.7) 4.2 (4.4, 3.7)
        Oil Viscosity SAE 75W-85 SAE 75W-85 SAE 75W-85 SAE 75W-85
        Oil Grade API GL-5 API GL-5 API GL-5 API GL-5
        Oil Type (Reference) Toyota Genuine Differential Gear Oil LT (JWS2272) or Equivalent Toyota Genuine Differential Gear Oil LT (JWS2272) or Equivalent Toyota Genuine Differential Gear Oil LT (JWS2272) or Equivalent Toyota Genuine Differential Gear Oil LX (JWS2273) or Equivalent
    8. Lighting


      1. A rear fog light assembly has been provided for models of the Syria and Jordan packages.

    9. Air Conditioning


      1. The blower resistor of the rear cooler unit for some specification models has been changed to a blower motor control.

      2. The rear cooler control panel (No. 2 air conditioning control assembly) for some specification models installed behind the rear console box sub-assembly has been changed.

      3. A viscous type power heater has been abolished.

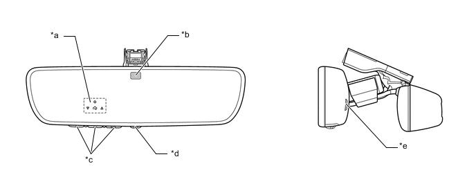
    10. Rear View Mirror


      1. Inner Rear View Mirror


        • Due to provision of the garage door opener system, an inner rear view mirror assembly with an automatic glare-resistant EC (Electro Chromic) mirror that incorporates the switches and indicators of the garage door opener system has been provided.

          Figure 1. Inner Rear View Mirror Assembly (Models with Garage Door Opener System)

          B001NL5C01
          *a Garage Door Opener Indicator Lights *b Rear Light Detection Sensor
          *c Garage Door Opener Switches *d EC (Electro Chromic) Mirror Switch
          *e Surrounding Light Detection Sensor - -
      2. Outer Rear View Mirror


        • An automatic retractable function has been adopted and provided depending on the specification.

        • The design of the outer mirror switch assembly of vehicles with automatic retractable has been changed, and a retractable outer mirror switch has been provided.

    11. Garage Door Opener System


      1. A garage door opener system has been provided for some Panama and Costa Rica package models.

    12. Entry and Start System


      1. The power back door button has been discontinued from the type A electrical key transmitter sub-assembly, and a panic button has been added to the type B electrical key transmitter sub-assembly.

        Figure 2. Electrical Key Transmitter Sub-assembly

        B001NKWC01
        *A Type A *B Type B
        *C Models with Power Back Door System *D Models with Panic Alarm Function
        *1 Lock Button *2 Unlock Button
        *3 Power Back Door Button *4 Panic Button
        *5 Mechanical Key - -
        *a This illustration shown is an example only. - -
    13. Theft Deterrent System (Models with Intrusion/tilt Sensor)


      1. The intrusion/tilt sensor (theft warning ultrasonic and tilt sensor) has been adopted, and the function of the tilt sensor (theft warning tilt sensor assembly) has been incorporated in the intrusion sensor (theft warning ultrasonic sensor) to form the intrusion/tilt sensor (theft warning ultrasonic and tilt sensor).

      2. The intrusion/tilt sensor (theft warning ultrasonic and tilt sensor) has been installed in the map light assembly.

      3. Control of the theft deterrent system has not been changed from previous models.

      4. The tilt sensor (theft warning tilt sensor assembly) and intrusion sensor (theft warning ultrasonic sensor) has been discontinued.

    14. Power Back Door System


      1. A function has been added to open the back door automatically through an operation of the back door opener switch.

      2. Control of the power back door system has been partially changed by the addition of a function to open the back door automatically by an operation of the back door opener switch.

    15. Pre-Crash Safety System


      1. The warning action when the pre-crash safety system may be temporarily unavailable has been partially changed. Accordingly, the content of the precaution has also been partially changed.

        When a system malfunction and unavailable is detected (changed portion)
        Multi-information Display Details Master Warning Light PCS Warning Light Buzzer DTC
        Forward Camera System Unavailable Clean Windshield Dirty or fog windshield glass over the forward recognition camera. - illuminates - -
      2. Precaution (Changed Portion)


        1. If the PCS warning light flashes or illuminates, and a warning message is displayed on the multi-information display


          1. The pre-crash safety system may be temporarily unavailable or there may be a malfunction in the system.

          2. In the following situations, the PCS warning light will turn off, the message will disappear and the system will become operational when normal operating conditions return:


            • When the millimeter wave radar sensor assembly or forward recognition camera or the area around either sensor is hot, such as in the sun

            • When the millimeter wave radar sensor assembly or forward recognition camera or the area around either sensor is cold, such as in an extremely cold environment

            • When the millimeter wave radar sensor assembly or front grille emblem is dirty or covered with snow, etc.

            • When the part of the windshield in front of the forward recognition camera is fogged up or covered with condensation or ice

            • If the forward recognition camera is obstructed, such as when the hood is open or a sticker is attached to the windshield near the forward recognition camera

          3. If the PCS warning light continues to flashes, illuminates or the warning message does not disappear, the system may be malfunctioning.