NEW FEATURES


  1. General


    1. The Dynamic Radar Cruise Control System has also been provided optionally for the diesel engine models.

    2. A driving support ECU assembly has been adopted, while the distance control ECU has been discontinued.

    3. A forward recognition camera has been added in the Dynamic Radar Cruise Control System.

    4. A 3 direction type lever has been adopted for the cruise control main switch where a 4 direction type lever was used in the previous model. Along with it, the switching method between the Vehicle-to-vehicle Distance Control Mode and Constant speed control mode has been changed.

    5. Part of the circuit has been altered along with the new Controller Area Network (CAN) communication system.

      Mode Outline
      Constant Speed Control Mode The constant speed control mode is the same as a conventional cruise control system.
      Vehicle-to-vehicle Distance Control Mode

      In vehicle-to-vehicle distance control mode, the system recognizes and determines the lane in which the driver's own vehicle and the vehicle ahead are traveling. Thus, the system is able to maintain the proper vehicle-to-vehicle distance in accordance with the vehicle speed, and allows the vehicle to be driven under follow-up control.


      • The driver can operate the distance control switch on the steering wheel to select the vehicle-to-vehicle distance in three stages: long, middle, and short.

      • This mode consists mainly of 4 controls: constant speed control, deceleration control, follow-up control, and acceleration control.

      • Throttle control*1, fuel injection volume control*2 and brake control achieve smooth deceleration.

      *1: Models with Gasoline Engine

      *2: Models with Diesel Engine

    6. In vehicle-to-vehicle distance control mode, the illustrations below show control examples while the driver's own vehicle is operating at 100 km/h (62 mph), and the vehicle ahead is operating at 80 km/h (50 mph).

      B001NL1C01
      *a Constant Speed Control *b Deceleration Control
      *c Follow-up Control *d Acceleration Control
      *e 100 km/h (62 mph) *f From 100 km/h (62 mph) to 80 km/h (50 mph)
      *g 80 km/h (50 mph) *h From 80 km/h (50 mph) to 100 km/h (62 mph)
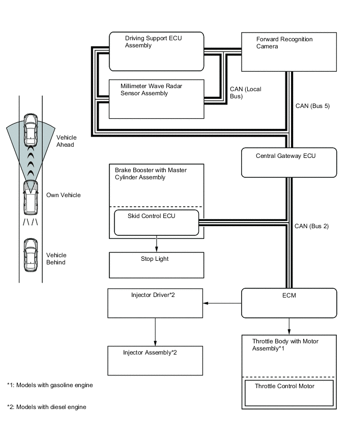
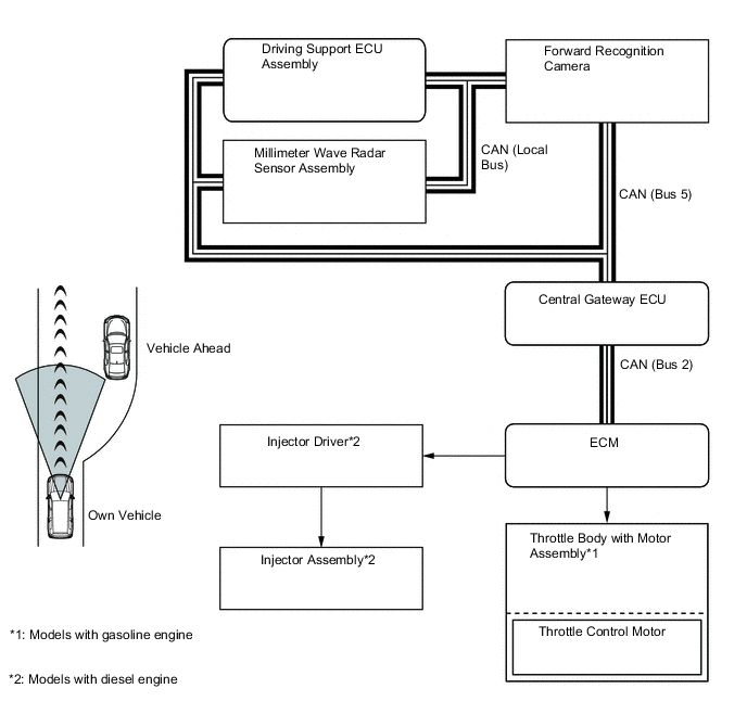
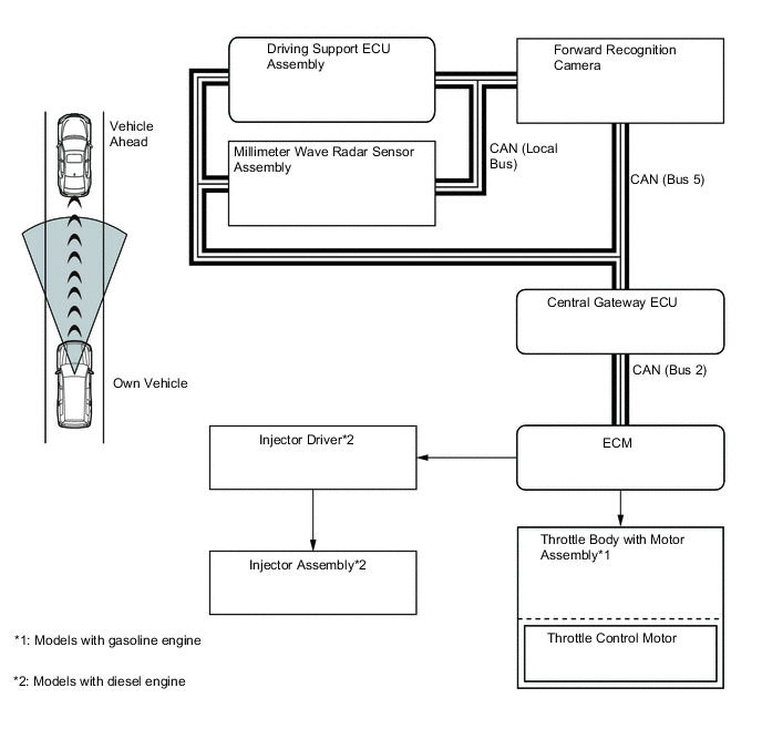
    7. The driving support ECU assembly, millimeter wave radar sensor assembly, forward recognition camera and ECM control this system.

    8. The combination meter assembly informs the driver of the control conditions.

    9. The constant speed control mode is controlled by the ECM, which outputs signals to the throttle control motor and the TCM* on models with gasoline engine.

      *: Models with 3UR-FE Engine

      Figure 1. Models with Gasoline Engine

      B001NJUE02
    10. The constant speed control mode is controlled by the ECM, which outputs signals to the injector driver on models with diesel engine.

      Figure 2. Models with Diesel Engine

      B001NLLE01
      *1 Sensors and Switches
      *2 Injector Driver
      *3 Injector Assembly
    11. Vehicle-to-vehicle distance control mode is controlled by the millimeter wave radar sensor assembly, forward recognition camera and driving support ECU assembly. Thus, the signals are output to the actuators and the ECU while exchanging data as indicated below.

      B001NGDE01
  2. Precaution


    1. Observe the following precautions when using the vehicle-to-vehicle distance control:


      1. The vehicle-to-vehicle distance control is a vehicle speed control device intended for use on motor ways or roads where the traffic is light or moderate.

      2. Do not overly rely on the vehicle-to-vehicle distance control. There is a limit to the amount of control it can exert over vehicle distance. Always drive carefully and safely, being attentive of the surrounding environment and the distance between vehicles in front, and using the accelerator and brake pedals as appropriate to maintain the proper distance between other vehicles.

      3. The vehicle-to-vehicle distance control is not designed to bring the vehicle to a complete stop. Although the control will automatically apply the brakes, there are limits to the amount of brake control it can exert. In certain situations, such as the vehicle in front slowing drastically or another vehicle suddenly cutting in, automatic deceleration will be insufficient to maintain a safe distance. In these situations, a buzzer and display will warn the driver to apply the brakes manually.

      4. The vehicle-to-vehicle distance control is not a collision avoidance system and does not provide an excuse for inattentive and careless driving.

    2. To avoid serious injury or death, do not use the vehicle-to-vehicle distance control under the following road conditions. The vehicle-to-vehicle distance control may automatically cancel when it detects poor weather.


      1. In poor weather (such as rain, fog, snow, sandstorms and so on), vehicle-to-vehicle distance may not be measured accurately.

      2. The emblem in front of the millimeter wave radar sensor assembly is coated with raindrops or snowflakes, the vehicle-to-vehicle distance may not be measured accurately.

      3. On roads with heavy traffic or sharp bends, an appropriate speed may not be maintained, resulting in death or serious injury.

      4. On slippery road surfaces (icy or snow-covered roads), the tires may spin, causing a loss of control.

      5. On steep downhill slopes, if no vehicles are detected ahead, insufficient engine braking may cause the preset speed to be exceeded, possibly resulting in death or serious injury. Even if a vehicle is detected ahead, the delay in deceleration timing could result in death or serious injury.

      6. The vehicle is being repeatedly accelerated and decelerated in traffic.

      7. When exiting the main lanes of a motor way to enter an interchange, service area, parking area and so on while using the vehicle-to-vehicle distance control, and after having followed a slower vehicle, the sensor may not be able to detect the vehicle ahead and vehicle speed may be accelerated to the set speed. This may result in serious injuries and death.

      8. On road with steep, short inclines and declines, the sensor may not be able to detect the vehicle ahead and may reduce the vehicle-to-vehicle distance by too much. This may result in serious injuries and death.

      9. Trailer towing may lead to performance decline.

      10. When the multi buzzer sounds frequently, do not use the vehicle-to-vehicle distance control.

    3. Certain conditions make vehicle detection difficult or impossible. As the vehicle-to-vehicle distance control operates primarily by detecting the reflectors of the vehicle ahead, the distance may not be accurately detected in the following cases, resulting in improper vehicle-to-vehicle distance judgement.


      1. Water or snow is kicked up by a vehicle ahead or a vehicle in an adjacent lane.

      2. The rear of the vehicle ahead is small, such as an empty trailer or motorcycle.

      3. Heavy luggage loaded in the luggage compartment or on top of the rear seats is causing the nose of the vehicle to rise.

      4. Depending on the curves of the road and the manner in which the vehicle is being maneuvered, nearby vehicles and objects may be temporarily detected, resulting in activation of the approach warning or a reduction in vehicle-to-vehicle distance caused by a failure to detect vehicles directly ahead.

      5. The millimeter wave radar sensor assembly automatically detects dirt sticking to the emblem in front of the millimeter wave radar sensor assembly of the vehicle, and if detected, a warning code is shown on the multi-information display. However, if the the emblem in front of the millimeter wave radar sensor assembly is obscured by a transparent or translucent vinyl bag, ice, etc., dirt may not be detected, resulting in improper vehicle-to-vehicle distance judgement. Continue driving with due care. If dirt is detected, the vehicle-to-vehicle distance control is automatically canceled. Always keep the emblem in front of the millimeter wave radar sensor assembly clean.

      6. The deceleration control and the approach warning will not operate if the vehicle ahead is at a stop or is driving very slowly. Take appropriate care at tollgates, delays, etc. and be aware of stopped or slow-moving vehicles.

      7. Owing to the limited detection area of the millimeter wave radar assembly, detection of vehicles suddenly cutting in front at close range may be delayed, and detection of motorcycles traveling on the outside of a lane may fail. Thus, the system may be unable to maintain proper vehicle-to-vehicle distance.

      8. To avoid accidental vehicle-to-vehicle distance control engagement, keep the main switch off when not using the vehicle-to-vehicle distance control.

      9. When vehicle-to-vehicle distance control is on (in follow-up control), vehicle speed is regulated in proportion to the speed of the vehicle ahead, and increasing the set speed using the cruise control main switch will not cause the vehicle to accelerate. However, when the set speed has been increased, the vehicle speed may increase unexpectedly if the vehicle ahead leaves the lane. Confirm the setting on the multi-information display.

    4. Select the vehicle-to-vehicle distance taking traffic conditions into consideration. The approximate distances for each vehicle-to-vehicle distance setting when driving at 80 km/h (50 mph) are applied as follows:


      1. Long: approximately 50 m (160 ft.)

      2. Middle: approximately 40 m (130 ft.)

      3. Short: approximately 30 m (100 ft.)

      4. If the vehicle speed is below 80 km/h (50 mph), the distance will be shorter than the above.

    5. During long downhill driving, the vehicle-to-vehicle distance may be shorter than the selected distance.

    6. In the following situations, the approach warning may not activate even if the vehicle is close to the vehicle ahead:


      1. The vehicle ahead is cruising at almost the same speed.

      2. The vehicle ahead is cruising at a faster speed.

      3. Immediately after the speed has been set.

      4. The accelerator pedal is depressed.

      5. Immediately following the release of the accelerator pedal.

    7. If the master warning light comes on, the multi buzzer sounds, and a warning code, "FAIL", appears on the display while cruising in vehicle-to-vehicle distance control mode, there may be a malfunction in the system. Although it is safe to continue driving, contact a TOYOTA dealer for an inspection.

    8. To ensure that the vehicle-to-vehicle distance control functions properly while driving, observe the following precautions:


      1. Always keep the emblem in front of the millimeter wave radar sensor assembly clean. When cleaning, use a soft cloth and be careful not to damage the emblem.

      2. Do not disassemble the sensor or subject the sensor or its surrounding area to strong impacts. Doing so will cause the sensor to malfunction.

      3. Do not affix stickers (including transparent stickers) or attach accessories around the millimeter wave radar sensor assembly. This will cause the millimeter wave radar sensor assembly to malfunction.

      4. Keep the windshield glass clean around the area where the forward recognition camera is mounted. The performance of forward recognition camera may be affected if dirt, raindrops, condensation, or snow is on the windshield glass.

      5. Do not subject the forward recognition camera to strong impacts.

      6. Do not attach stickers or labels, nor affix any ornaments to the windshield glass.

      7. Do not remove the forward recognition camera. Since the angle of the forward recognition camera is precisely adjusted, angle adjustment must be performed after the forward recognition camera is reinstalled, otherwise the forward recognition camera may not recognize lane markers properly.

      8. If the windshield is fogged up, use the windshield defogger to remove fog from the windshield. When it is cold, using the heater with air blowing to the feet may cause the upper part of the windshield to fog up. This will have a negative effect on the images.

      9. Do not touch the lens of the forward recognition camera. Fingerprints left on the lens may cause inaccurate detection or non-detection and lane markers may not be detected accurately.

      10. Do not place reflective objects on top of the instrument panel.

    9. In the constant speed control, the multi buzzer does not sound to warn the driver if the vehicle is too close to the vehicle ahead, as neither the presence of the vehicle ahead nor the vehicle-to-vehicle distance is detected. Stay a safe distance away from the vehicle ahead.

    10. The vehicle-to-vehicle distance control mode and the constant speed control mode both control the vehicle in different ways. When using vehicle-to-vehicle distance control, always confirm the selected mode on the display of the combination meter assembly.

    11. Use the emblem for the millimeter wave radar sensor assembly to operate the vehicle-to-vehicle distance control accurately.

    12. If the front bumper or grill had an impact, the vehicle-to-vehicle distance control may not operate accurately.

  3. System Diagram


    1. Part of the circuit has been altered along with the new Controller Area Network (CAN) communication system

      B001NLNE01
      B001NLSE01
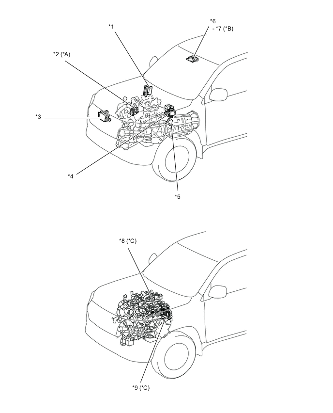
  4. Layout of Main Components

    B001NJ7C02
    *A Models with 3UR-FE Engine - -
    *1 Cruise Control Indicator Light (Constant Speed Control Mode) *2 Cruise Control Indicator Light (Vehicle-to-vehicle Distance Control Mode)
    *3 Cruise Control SET Indicator Light *4 Multi-information Display
    *5 Master Warning Light *6 Combination Meter Assembly
    *7 Pre-crash Safety City Buzzer *8 Stop Light Switch Assembly
    *9 DLC3 *10 Accelerator Pedal Sensor Assembly
    *11

    Airbag Sensor Assembly


    • Yaw Rate Sensor

    *12

    Transmission Floor Shift Assembly


    • Transmission Control Switch

    *13 TCM *14 Central Gateway ECU
    *15 Driving Support ECU Assembly *16

    Spiral Cable with Sensor Sub-assembly


    • Steering Sensor

    *17 VSC OFF Switch *18 Cruise Control Main Switch
    *19

    Steering Pad Switch Assembly


    • Vehicle-to-vehicle Distance Control Switch

    - -
    B001NKGC02
    *A Models with Gasoline Engine *B Models with Camera Heater (Forward Recognition Hood with Heater Sub-assembly)
    *C Models with Diesel Engine - -
    *1 ECM *2

    Throttle Body with Motor Assembly


    • Throttle Control Motor

    • Throttle Position Sensor

    *3 Millimeter Wave Radar Sensor Assembly *4

    Brake Booster with Master Cylinder Assembly


    • Skid Control ECU

    *5 Park/Neutral Position Switch Assembly *6 Forward Recognition Camera
    *7 Camera Heater (Forward Recognition Hood with Heater Sub-assembly) *8 Injector Assembly
    *9 Injector Driver - -
  5. Function of Main Components

    Item Outline
    Cruise Control Main Switch ON-OFF / Mode Button
    • Turns cruise control system on and off.

    • Vehicle to vehicle distance control mode becomes be activated immediately after the main switch is turned on. The mode shifts to constant speed control mode by pressing and holding the button more than 1.5 sec.

    CANCEL Switch A cancel signal can be output to the ECM through the operation of this switch.
    +RES Switch The acceleration function and resumption of a preset speed can be performed by operating this switch. A signal is output to the ECM when this switch is operated.
    -SET Switch The deceleration function and vehicle speed setting resume signals are output to the ECM due to operation of this switch.
    Steering Pad Switch Assembly Vehicle-to-vehicle Distance Control Switch While the system is in the vehicle-to-vehicle distance control mode, the driver can operate the distance control switch to select the vehicle-to-vehicle distance in three stages: long, middle, and short.
    Stop Light Switch Assembly Detects the pressing of the brake pedal and transmits a signal to the ECM.
    Forward Recognition Camera Detects lane markers and objects on the road ahead using the image captured by the monocular camera and sends the information to the driving support ECU assembly.
    Camera Heater (Forward Recognition Hood with Heater Sub-assembly)*1 Heats the sheet heater in accordance with the signals from the forward recognition camera.
    Millimeter Wave Radar Sensor Assembly Radiates millimeter radar waves forward, uses the reflected waves to detect the presence of a vehicle ahead, the vehicle-to-vehicle distance, and the relative speed, and then transmits this information to the driving support ECU assembly.
    Driving Support ECU Assembly While the system is in vehicle-to-vehicle distance control mode, the driving support ECU assembly detects the vehicle ahead based on signals from the millimeter wave radar sensor assembly and forward recognition camera. Then, the driving support ECU assembly calculates the acceleration or deceleration rate required in order to attain the target vehicle-to-vehicle distance, and outputs a request signal to the ECM.
    Pre-crash Safety City Buzzer Sounds a buzzer when it receives a signal from the driving support ECU assembly to alert the driver that the distance between vehicles is short.
    ECM
    • Controls the cruise control system in accordance with signals from the switches, sensors, skid control ECU and driving support ECU assembly.

    • If the ECM detects a malfunction in the cruise control system, it will store a Diagnostic Trouble Code (DTC).

    TCM*2 Controls the automatic transmission in accordance with signals from the ECM.
    Accelerator Pedal Sensor Assembly Detects the amount of pedal effort applied to the accelerator pedal and transmits signals to the ECM.
    Central Gateway ECU Transmits the CAN communication signal.
    Combination Meter Assembly Cruise Control Indicator Light (Constant Speed Control Mode)
    • Illuminates when constant speed control mode is on.

    • If the ECM detects a malfunction, this light turns off.

    Cruise Control Indicator Light (Vehicle-to-vehicle Distance Control Mode)
    • Illuminates when the vehicle-to-vehicle distance control mode is on.

    • If the ECM detects a malfunction, this light turns off.

    Cruise Control SET Indicator Light Illuminates when the vehicle speed is set.
    Master Warning Light Illuminates when there is a malfunction in the system.
    Buzzer If the ECM detects automatic cancel or warning signals while the vehicle is operating under cruise control, this buzzer sounds to inform the driver.
    Multi-information Display The multi-information display receives signals from the ECM in order to display the system conditions.
    Spiral Cable with Sensor Sub-assembly Steering Sensor Detects the angle and direction of steering and transmits signals to the skid control ECU and driving support ECU assembly.
    Airbag Sensor Assembly Yaw Rate Sensor Detects the yaw rate of the vehicle and transmits signals to the skid control ECU and driving support ECU assembly.
    Brake Booster with Master Cylinder Assembly Skid Control ECU
    • While the system is operating in vehicle-to-vehicle distance control mode, the skid control ECU assembly operates the brake actuator in accordance with the brake request signal received from the ECM.

    • In addition, the skid control ECU transmits signals such as a wheel speed and estimated vehicle acceleration speed to the driving support ECU assembly.

    Brake Actuator Applies the brakes in accordance with signals from the skid control ECU.
    Throttle Body with Motor Assembly*3 Throttle Control Motor Adjusts the throttle valve opening angle in accordance with signals from the ECM.
    Throttle Position Sensor Transmits the throttle valve position information to the ECM.
    Injector Driver*4 Receives signal from the ECM to control the Injector assembly.
    Injector Assembly*4 Adjust the fuel injection volume based on the signals.
    Park/Neutral Position Switch Assembly Detects the shift lever position and transmits signals to the ECM.
    Transmission Floor Shift Assembly Transmission Control Switch
    • Detects the shift lever position and transmits signals to the ECM.

    • Inform the ECM of driver upshift or downshift operations while the shift lever is in S.

    Integration Control and Panel Assembly VSC OFF Switch Enables the driver to select "Normal Mode", "TRC OFF Mode", or "VSC OFF Mode".

    Tech Tips

    *1: Models with Camera Heater (Forward Recognition Hood with Heater Sub-assembly)

    *2: Models with 3UR-FE engine

    *3: Models with gasoline engine

    *4: Models with diesel engine

  6. Construction and Operation


    1. Cruise Control Main Switch


      1. A newly designed cruise control main switch has been adopted.

      2. The cruise control main switch consists of the ON-OFF / Mode button and the +RES, -SET and CANCEL switches. The +RES, -SET and CANCEL switches are operated by moving the lever in the 3 directions indicated.

      3. When the cruise control system is turned on using the ON-OFF / Mode button, the system starts in vehicle-to-vehicle distance control mode. When the ON-OFF / Mode button is pressed and held for 1.5 seconds or more, the system changes to constant speed control mode.

        B001NLBC01
        *1 Cruise Control Main Switch - -
        *a +RES Switch *b CANCEL Switch
        *c -SET Switch *d ON-OFF / Mode Button
    2. Distance Control Switch


      1. A newly designed steering pad switch assembly has been adopted.

      2. The distance control switch has been relocated along with the newly designed and adopted steering pad switch assembly.

        B001NGIC01
        *1 Steering Pad Switch Assembly *2 Vehicle-to-vehicle Distance Control Switch
    3. Millimeter Wave Radar Sensor Assembly


      1. The millimeter wave radar sensor assembly emits electrical waves in the millimeter waveband towards the front of the vehicle. When a preceding vehicle is present, the sensor receives electrical waves reflected off of the rear surface of the preceding vehicle. The system determines whether there is a preceding vehicle in the same lane and calculates the distance to the preceding vehicle and relative vehicle speed according to the change in frequency of the received electrical waves and using an electronic scan. This calculated data is then output to the driving support ECU assembly. For details about the millimeter wave radar sensor assembly, refer to PRE-CRASH SAFETY SYSTEM.

    4. Forward Recognition Camera (Camera Sensor)


      1. Forward recognition camera is mounted in the upper center of the windshield glass. The sensor detects vehicles and other objects on the road ahead using the image captured by the built-in monocular camera and determines their distance. With this, the recognition performance and reliability of the dynamic radar cruise control system has been enhanced.

        B001NHPC01
        *1 Monocular Camera - -
        *a Forward Recognition Camera - -
    5. Combination Meter


      1. The combination meter assembly provides a master warning light, cruise control main indicator light, radar cruise control indicator light, cruise control SET indicator light, multi buzzer, and multi-information display to provide warnings and messages regarding the dynamic radar cruise control system.


        • The multi-information display displays the set vehicle speed, vehicle ahead mark, and warning message.

        • Examples are shown below for the illumination or display of each indicator light, warning light or multi-information display.

    Constant Speed Control Mode
    Condition Multi-information Display Indicator Light Multi Buzzer
    Master Warning Light Cruise Control Main Indicator Light Radar Cruise Control Indicator Light Cruise Control SET Indicator Light
    Being Controlled Set vehicle speed is displayed. Does not illuminate Illuminates Does not illuminate Illuminates -
    System Check Cruise Control Malfunction Visit Your Dealer Illuminates Does not illuminate Does not illuminate Does not illuminate Buzzer in the combination meter assembly sounds ones
    Vehicle-to-vehicle Distance Control Mode
    Condition Multi-information Display Indicator Light Buzzer
    Master Warning Light Cruise Control Main Indicator Light Radar Cruise Control Indicator Light Cruise Control SET Indicator Light
    Set Standby RADAR READY Does not illuminate Does not illuminate Illuminates Does not illuminate -
    Under Constant Speed Control (No Vehicle Ahead) Set vehicle-to-vehicle distance mark, own vehicle mark and set vehicle speed is displayed. Does not illuminate Does not illuminate Illuminates Illuminates -
    Under Follow-up Control (Vehicle Ahead) Vehicle ahead mark, set vehicle-to-vehicle distance mark, own vehicle mark and set vehicle speed is displayed. Does not illuminate Does not illuminate Illuminates Illuminates -
    Deceleration Control (Proximity Warning)
    • Own vehicle mark and Set vehicle speed is displayed.

    • Vehicle ahead mark, set vehicle-to-vehicle distance mark and Frame is blinking.

    Does not illuminate Does not illuminate Illuminates Illuminates Pre-crash safety city buzzer sounds continuously
    Millimeter Wave Radar Sensor is Dirty. Radar Cruise Control Unavailable Clean Sensor Illuminates Does not illuminate Does not illuminate Does not illuminate Buzzer in the combination meter assembly sounds ones
    Poor Weather Condition Radar Cruise Control Unavailable Illuminates Does not illuminate Does not illuminate Does not illuminate Buzzer in the combination meter assembly sounds ones
    A Malfunction in the forward recognition camera
    Misalignment of the axis of the millimeter wave radar sensor assembly.
    System Check Cruise Control Malfunction Visit Your Dealer Illuminates Does not illuminate Does not illuminate Does not illuminate Buzzer in the combination meter assembly sounds ones
    Beam Axis Adjustment Adjusting Front Radar Beam Does not illuminate Does not illuminate Does not illuminate Does not illuminate -
  7. System Control


    1. General


      1. The control of the dynamic radar cruise control system varies depending on the mode:


        • A: Constant Speed Control Mode

        • B: Vehicle-to-vehicle Distance Control Mode

        Control Outline Mode
        A B
        Constant Speed Control Gasoline Engine The ECM compares the actual vehicle speed and the set speed. If the vehicle speed is higher than the set speed, it uses the throttle control motor to decrease the throttle opening. If the actual vehicle speed is lower than the set speed, it uses the throttle control motor to increase the throttle opening
        Diesel Engine The ECM compares the actual vehicle speed and the set speed. If the vehicle speed is higher than the set speed, the ECM decreases the fuel injection volume by regulating the 8 injectors. If the actual vehicle speed is lower than the set speed, the ECM increases the fuel injection volume by regulating the 8 injectors.
        In constant speed control mode, constant speed control is performed by the ECM in the same way as conventional cruise control. -
        In vehicle-to-vehicle distance control mode, constant speed control is performed by the millimeter wave radar sensor assembly, forward recognition camera and driving support ECU assembly. -
        Deceleration Control Gasoline Engine Effects throttle control and brake control in order to decelerate the vehicle so that the vehicle-to-vehicle distance between the driver's own vehicle and the vehicle ahead equals the set distance. -
        Diesel Engine Effects fuel injection volume control and brake control in order to decelerate the vehicle so that the vehicle-to-vehicle distance between the vehicle and the vehicle ahead equals the set distance.
        Follow-up Control After performing deceleration control, the driver's own vehicle follows the vehicle ahead in order to maintain the proper vehicle-to-vehicle distance in accordance with the vehicle speed. -
        Acceleration Control Accelerates the vehicle in order to attain the set vehicle speed if the vehicle ahead or the driver's own vehicle has changed lanes. -
        Set Control

        When the following conditions are met, and the cruise control switch is pressed to the -/SET side and released, the ECM stores the vehicle speed and maintains the vehicle constantly at the current speed.


        • The cruise control system is on.

        • The shift lever is in D or the shift lever is in S with 4th, 5th, 6th, 7th*1 or 8th*1 shift range selected.

        The vehicle is traveling at a speed within the range of approximately 50 km/h to 200km/h (30 mph to 125 mph). -
        The vehicle is traveling at a speed within the range of approximately 50 km/h to 180 km/h (30 mph to 110 mph). -
        Low Speed Limit Control The low speed limit is the lowest speed that cruise control can be set at and it is designed to be approximately 40 km/h (25 mph). The cruise control cannot be set below that speed. If the vehicle speed drops below that speed while driving using cruise control, the cruise control will be canceled automatically. The set vehicle speed is kept in memory.
        Coast Switch Control While the cruise control switch is held to the -SET side, the vehicle speed and the set vehicle speed change as follows, according to the mode:

        • The vehicle decelerates constantly.

        • The set vehicle speed changes to the speed at which the switch is released.

        -

        • The set vehicle speed decreases in increments of 5 km/h or 5 mph.


          • [Example: 103 → 100 → 95 → 90 → 85 km/h (mph)]

        • The vehicle will remain at the speed that the vehicle is traveling at when the COAST switch is released.

        -
        Tap-down Control When the cruise control switch is moved momentarily (approximately 0.6 seconds or less) to the -SET side, the vehicle speed and the set vehicle speed change as follows, according to the mode:

        • The vehicle will decelerate in increments of approximately 1 km/h (1 mph) each time the switch is moved.

        • However, if the difference between the actual vehicle speed and the set vehicle speed is greater than 5 km/h or 3 mph, the set vehicle speed will change to the speed at which the vehicle was being driven at the time the switch was operated.

        -

        • The vehicle will decelerate in increments of approximately 1 km/h or 1 mph each time the switch is moved.*2

        • The vehicle will decelerate in increments of approximately 5 km/h or 5 mph each time the switch is moved.*3

        -
        Accelerator Control When the cruise control switch is held to the +RES side, the vehicle speed and the set vehicle speed change as follows, according to the mode:

        • The vehicle will accelerate constantly.

        • The set vehicle speed changes to the speed at which the switch is released.

        -

        • The set vehicle speed increases in increments of 5 km/h or 5 mph.


          • [Example: 83 → 85 → 90 → 95 → 100 km/h (mph)]

        • The vehicle will accelerate to the speed that is set at the time the switch is released. However, only the set vehicle speed will change during follow-up control.

        -
        Resume Control When the vehicle speed is above the low speed limit, the cruise control system resumes operation (when the cruise control switch is subsequently moved to the +RES side) to reach the vehicle speed that was set at the time the driver canceled cruise control. Even if the vehicle speed dropped below the low speed limit, the set speed can be resumed after the vehicle speed increases above the low speed limit. Also, If the vehicle speed memory is deleted, the return control cannot be performed.
        When the vehicle ahead changes driving lanes during follow-up control, the vehicle speed is gradually increased to the set speed. At this time, the vehicle speed can be increased promptly by pushing the cruise control switch to the +RES direction. -
        Tap-up Control When the cruise control switch is moved momentarily (approximately 0.6 seconds or less) to the +RES side, the vehicle speed and the set vehicle speed change as follows:

        • The vehicle will accelerate in increments of approximately 1 km/h (1 mph) for each time the switch was moved.

        • However, if the difference between the actual vehicle speed and the set vehicle speed is greater than 5 km/h (3 mph), the set vehicle speed will not change.

        -

        • The vehicle will accelerate in increments of approximately 1 km/h or 1 mph for each time the switch is moved.*2

        • The vehicle will accelerate in increments of approximately 5 km/h or 5 mph for each time the switch is moved.*3

        -
        Shift Down Control When the vehicle is traveling uphill using cruise control, automatic transmission control may cause the transmission to shift down. During shift down control, when the end of uphill travel is determined, the transmission will shift up after a certain period of time. When the transmission shifts down during the accelerator control or the resume control, the transmission will shift up after the accelerator control or the resume control ends.
        Manual Cancel Control

        If one of the following conditions are met, the cruise control is canceled accordingly.


        • Shift lever is moved from D or S to other position.

        • When 1st, 2nd or 3rd shift range is selected manually while in S.

        • Stop light switch on signal (brake pedal is depressed).

        • CANCEL switch on signal sent to the ECM (cruise control switch is moved to CANCEL side).

        • Cruise control switch (ON-OFF button) off signal sent to the ECM.

        • When the VSC or TRC system is turned off by pressing the VSC OFF switch.

        Automatic Cancel Control When an automatic cancel signal is sent to the ECM, cruise control operation is canceled. At this time, the type of warning sent to the driver and the control resumption condition varies according to the cancel signal.
        Other Cancel Control
        • TRC operates for a certain period of time while the cruise control

        • VSC operation.

        Mode Switching Control

        The following operations switch modes:


        • Vehicle to vehicle distance control mode becomes be activated immediately after the main switch is turned on. The mode shifts to constant speed control mode by pressing and holding the button more than 1.5 sec.

        Diagnosis If a malfunction occurs in the dynamic radar cruise control system during cruise control operation, the ECM cancels cruise control and memorizes information related to the malfunction.

        *1: Models with 3UR-FE engine.

        *2: Except models for Europe.

        *3: Models for Europe.

        ○ : Available

        - : Not Available

    2. Constant Speed Control


      1. General


        • In the constant speed control mode, the constant speed control is performed by the ECM.

        • In the vehicle-to-vehicle distance control mode, the constant speed control is performed by the millimeter wave radar sensor and forward recognition camera and driving support ECU.

      2. Constant Speed Control in Vehicle-to-vehicle Distance Control Mode


        • The millimeter wave radar sensor assembly and forward recognition camera transmits the information about the vehicle ahead to the driving support ECU assembly and also transmits a millimeter wave radar sensor assembly operation signal to the ECM via the driving support ECU assembly.

        • On models with gasoline engine, the ECM compares the set speed and the actual vehicle speed, and effects constant speed control by regulating the throttle control in order to attain the set speed.

        • On models with diesel engine, the ECM compares the set speed and the actual vehicle speed, and effects constant speed control by regulating the fuel injection volume in order to attain the set speed.

        B001NJME01
    3. Deceleration Control


      1. The driving support ECU assembly calculates the target deceleration rate in accordance with signals from the millimeter wave radar sensor assembly, forward recognition camera and transmits a deceleration request signal to the ECM.

      2. On models with gasoline engine, the ECM closes the throttle valve upon receiving this signal in order to cause the vehicle to decelerate.

      3. On models with diesel engine, the ECM decreases the fuel injection volume upon receiving this signal by regulating the 8 injectors in order to cause the vehicle to decelerate.

      4. This control is not performed in the presence of a parked vehicle or object, or below the settable vehicle speed range.

        B001NHME01
      5. If the driving support ECU assembly determines that further deceleration is necessary, it transmits a brake request signal to the ECM. Upon receiving this signal, the ECM transmits a brake request signal to the skid control ECU. The skid control ECU then controls the brake actuator to apply the brakes.

      6. At this time, if the deceleration rate is higher than a predetermined value, the skid control ECU outputs a stop light illumination request signal to the stop light, order to warn any vehicles behind.

        B001NJFE01
      7. At this time, if the deceleration rate is higher than a predetermined value, the skid control ECU outputs a stop light illumination request signal to the stop light, order to warn any vehicles behind.

        B001NHBE01
    4. Follow-up Control


      1. After performing deceleration control, the driving support ECU assembly transmits a request signal to the ECM so that the vehicle can follow the vehicle ahead while maintaining the proper vehicle-to-vehicle distance according to the vehicle speed.

      2. On models with gasoline engine, the ECM regulates the throttle upon receiving this signal in order to perform follow-up control.

      3. On models with diesel engine, the ECM regulates the fuel injection volume upon receiving this signal in order to perform follow-up control.

      4. 3 stages (long, middle, and short) of vehicle-to-vehicle distance can be selected by operating the distance control switch.

        B001NLFE01
    5. Acceleration Control


      1. If the driving support ECU assembly detects (based on the millimeter wave radar sensor assembly and forward recognition camera) that either the vehicle ahead or the driver has changed lanes, an acceleration request signal is transmitted to the ECM in order to attain the set vehicle speed.

      2. On models with gasoline engine, the ECM regulates the throttle upon receiving this signal in order to perform acceleration control.

      3. On models with diesel engine, the ECM regulates the fuel injection volume upon receiving this signal in order to perform acceleration control.

        B001NK4E01
    6. Automatic Cancel Control


      1. If one of the conditions listed below occurs while the vehicle is being driven using cruise control, the cruise control will be canceled. Then, the following warning items will appear for the driver.

        Constant Speed Control Mode
        Situation Warning
        Multi-information Display Master Warning Light Buzzer in the Combination Meter Assembly

        If either of the conditions listed below occurs, the ECM clears the set vehicle speed and cancels the cruise control.


        • An open or short circuit in the stop light switch

        Cruise control is prohibited until the normal operating condition is met or the cruise control system is turned off and back on again using the ON-OFF button on the cruise control main switch.

        Cruise Control Malfunction Visit Your Dealer Illuminates Sounds once

        If either of the conditions listed below occurs, the ECM clears the set vehicle speed and cancels the cruise control.


        • Stop light switch assembly input signal is abnormal.

        • Cancel circuit malfunction

        The cruise control is disabled until the engine switch is turned on (IG) again.

        Cruise Control Malfunction Visit Your Dealer Illuminates Sounds once

        If the following condition occurs, the ECM cancels the cruise control while retaining the set vehicle speed in its memory.


        • The vehicle speed drops below the low speed limit [approximately 40 km/h (25 mph)].

        - - -

        If the following condition occurs, the ECM clears the set vehicle speed and cancels the cruise control.


        • The vehicle speed drops more than 16 km/h (10 mph) below the set vehicle speed.

        - - -

        If the following condition occurs, the ECM clears the set vehicle speed and cancels the cruise control.


        • A malfunction in the ETCS-i.*1

        • A malfunction in the ECD system.*2

        Cruise control is prohibited until the normal operating conditions are met or the cruise control system is turned off and back on again using the ON-OFF button on the cruise control main switch.

        - - -

        *1: Models with gasoline engine

        *2: Models with diesel engine

        Vehicle-to-vehicle Distance Control Mode
        Situation Warning
        Multi-information Display Master Warning Light Buzzer in the Combination Meter Assembly

        If either of the conditions listed below occurs, the ECM clears the set vehicle speed and cancels the cruise control.


        • An open or short circuit in the stop light switch

        Cruise control is prohibited until the normal operating conditions are met or the cruise control system is turned off and back on again using the ON-OFF button on the cruise control main switch.

        Cruise Control Malfunction Visit Your Dealer Illuminates Sounds once

        If one of the conditions listed below occurs, the ECM clears the set vehicle speed and cancels the cruise control.


        • Stop light switch assembly input signal is abnormal.

        • Cancel circuit malfunction

        • Malfunction of the millimeter wave radar sensor assembly

        • Malfunction in the dynamic radar cruise control system other than those given above

        The cruise control is disabled until the engine switch is turned on (IG) again.

        Cruise Control Malfunction Visit Your Dealer Illuminates Sounds once

        If the following condition occurs, the ECM clears the set vehicle speed and cancels the cruise control.


        • A malfunction in the ETCS-i*1

        • A malfunction in the ECD system.*2

        The cruise control is disabled until the condition is corrected or the cruise control system is turned off and back on again using the ON-OFF button on the cruise control main switch.

        - - -

        If the following condition occurs, the ECM cancels the cruise control while retaining the set vehicle speed in its memory.


        • The millimeter wave radar sensor assembly or the emblem are dirty.

        Cruise control is prohibited until the normal operating conditions are met or the cruise control system is turned off and back on again using the ON-OFF button on the cruise control main switch.

        Radar Cruise Control Unavailable Clean Radar Sensor Illuminates Sounds once

        If either of the following conditions occurs, the ECM cancels the cruise control while retaining the set vehicle speed in its memory.


        • The measurement becomes extremely unstable due to poor weather conditions.

        • Misalignment of the axis of the millimeter wave radar sensor assembly.

        • Forward recognition camera temporarily not available

        • A malfunction in the forward recognition camera

        Cruise control is prohibited until the normal operating conditions are met or the cruise control system is turned off and back on again using the ON-OFF button on the cruise control main switch.

        Radar Cruise Control Unavailable Illuminates Sounds once

        If the following condition occurs, the ECM cancels the cruise control while retaining the setting vehicle speed in its memory.


        • The vehicle speed drops below the low speed limit [approximately 40 km/h (25 mph)].

        - - Sounds twice

        *1: Models with gasoline engine

        *2: Models with diesel engine