NEW FEATURES


  1. DESCRIPTION


    1. General


      1. Toyota Safety Sense


        • Preventive safety package "Toyota Safety Sense" has been adopted to support the safety drive.

        • System that are included in the "Toyota Safety Sense" are as follows:


          • PCS (Pre-crash Safety System)

          • Dynamic radar cruise control

          • LDA (Lane Departure Alert)

          • AHB (Automatic High Beam)

          • RSA (Road Sign Assist)

      2. Pre-crash Safety System (PCS)


        • Pre-crash safety system contribute to lessens the damage sustained in a collision by operating in unison with warning device and brake systems.

        • The pre-crash safety system detects the vehicle and pedestrian* in front of the vehicle based on both data from a forward recognition camera (camera sensor) and millimeter wave radar sensor.

        • If the pre-crash safety system determines that the possibility of a collision is high, pre-crash alarm control and pre-crash brake assist control is performed, and if a collision is imminent, pre-crash brake control will be performed to help avoid and reduce the impact of the collision.

          *: Depending on the region in which the vehicle was sold, the pedestrian detection function may not be available.

        Figure 1. Imminent Collision Judgment:

        B001NLEC01
        *1 Millimeter Wave Radar Sensor Assembly *2 Skid Control ECU
        *3 Driving Support ECU Assembly *4 Forward Recognition Camera (Camera Sensor)
        *a Collision Imminent *b Radar Detection Area
        *c Vehicle Ahead *d Own Vehicle
        *e Camera Detection Area - -
    2. Precaution


      1. Toyota Safety Sense


        • The "Toyota Safety Sense", is designed to operate under the assumption that the driver will drive safely, and is designed avoid the collision or to help reduce the impact to the occupants and the vehicle in the case of a collision.

        • As there is a limit to the degree of recognition accuracy and control performance that this system can provide, do not overly rely on this system. The driver is always responsible for paying attention to the vehicle's surroundings and driving safely.

      2. Limitations of the pre-crash safety system


        • The driver is solely responsible for safe driving. Always drive safely, taking care to observe your surroundings.

        • Do not use the pre-crash safety system instead of normal braking operations under any circumstances. This system will not prevent collisions or lessen damage or injuries in every situation. Do not overly rely on this system. Failure to do so may lead to an accident, resulting in death or serious injury.

        • Although this system is designed to help avoid and reduce the impact of a collision, its effectiveness may change according to various conditions, therefore the system may not always be able to achieve the same level of performance.

        • Read the following conditions carefully. Do not overly rely on this system and always drive carefully.

      3. Pre-crash braking


        • The pre-crash braking function may not operate if certain operations are performed by the driver. If the accelerator pedal is being depressed strongly or the steering wheel is being turned, the system may determine that the driver is taking evasive action and possibly prevent the pre-crash braking function from operating.

        • In some situations, while the pre-crash braking function is operating, operation of the function may be canceled if the accelerator pedal is depressed strongly or the steering wheel is turned and the system determines that the driver is taking evasive action.

        • A large amount of braking force is applied while the pre-crash braking function is operating. Additionally, as the vehicle may creep after the pre-crash braking function has operated, the driver should depress the brake pedal as necessary.

      4. Pedestrian detection


        • The pre-crash safety system is designed to detect pedestrians. Based on the size, profile, and motion of a detected object, the radar sensor and camera sensor detect pedestrians in order to operate the system.

        • However, pedestrians may not be detected in the following situations, preventing the system from operating properly:


          • When the silhouette of a pedestrian is obscure

          • When a pedestrian is in a place where the surrounding brightness changes suddenly

      5. When to disable the pre-crash safety system


        • If the following situations, disable the system, as it may not operate properly, possibly leading to an accident:


          • When the vehicle is being towed

          • When your vehicle is towing another vehicle

          • When transporting the vehicle via truck, boat, train or similar means of transportation

          • When the vehicle is raised on a lift with the engine switch on and the tires are allowed to rotate freely

          • When inspecting the vehicle using a drum tester such as a chassis dynamometer or speedometer tester, or when using an on vehicle wheel balancer

          • When a strong impact is applied to the front bumper or front grille, due to an accident or other reasons

          • If the vehicle cannot be driven in a stable manner, such as when the vehicle has been in an accident or is malfunction

          • When the vehicle is driven in a sporty manner or off road

          • When the tires are not properly inflated

          • When the tires are very worn

          • When tires of a size other than specified are installed

          • When tire chains are installed

          • When a compact spare tire or an emergency tire puncture repair kit is used

          • If the suspension is modified

          • If the front of the vehicle is raised or lowered, such as when loaded with heavy luggage

          • In case that zero point calibration has not been completed on Steering Sensor.

      6. Situations in which the system may not operate properly


        • The following objects may not be detected by the radar sensor and camera sensor, preventing the system from operating properly:


          • Glass windows, mirrors, walls, gates, fences, shutters, or similar objects

          • Guardrails, utility poles, trees, or similar objects

          • Livestock or other animals

          • Objects which have fallen onto the road

        • The following vehicles or pedestrians* may not be detected by the radar sensor and camera sensor, preventing the system from operating properly:


          • Motorcycles, bicycles, side cars, and other vehicles with a small rear end

          • Low bed trailers or other vehicles with a low rear end

            B001NHD
          • Vehicles with extremely high ground clearance

            B001NG4
          • Irregularly shaped vehicles, such as unloaded car transporters, unloaded tractor trailers, or similar vehicles

          • Vehicles that cut in front of your vehicle or emerges from beside a vehicle

          • A preceding vehicle that makes an abrupt maneuver (such as sudden swerving, acceleration or deceleration)

          • Vehicles that cross the front of your vehicle

          • Vehicles parked laterally to your vehicle

          • Vehicles that are within approximately 6.5 ft. (2 m) of the front of your vehicle

          • Pedestrians in a place where the surrounding brightness changes suddenly, such as at the entrance or exit of a tunnel*

          • Vehicles or pedestrians* wearing white which look extremely bright due to the sun shining directly on them

          • Groups of pedestrians which are close together*

          • Pedestrians near walls, fences, guardrails, or large objects*

          • Pedestrians whose clothing appears to be nearly the same color or brightness as their surrounding*

          • Pedestrians moving at approximately 5 mph (8 km/h) or more or changing speed abruptly*

          • Pedestrians who are extremely close to the side of the vehicle (outside rear view mirror, etc.)*

          • Pedestrians who are on a metal object (manhole cover, steel plate, etc.) on the road*

          • Pedestrians shorter than approximately 100 cm (3.2 ft.) or taller than approximately 2 m (6.5 ft.)*

          • Pedestrians wearing oversized clothing (a rain coat, long skirt, etc.), making their silhouette obscure*

          • Pedestrians who are carrying large baggage, holding an umbrella, etc., making their silhouette obscure*

          • Pedestrians who are bending forward, squatting, etc., making their silhouette obscure*

          • Pedestrians who are pushing a stroller, bicycle or other vehicle*

            Tech Tips

            *: Depending on the region in which the vehicle was sold, the pedestrian detection function may not be available.

        • In the following situations, a vehicle or pedestrian* may not be detected, preventing the system from operating properly:


          • When driving in inclement weather such as heavy rain, fog, snow or a sand storm

          • When the vehicle is hit by water, snow, dust, etc. from a preceding vehicle or oncoming vehicle

          • When driving through fog, steam or smoke

          • When a very bright light, such as the sun or the headlights of oncoming traffic, shines directly into the camera sensor

          • When the surrounding area is dim, such as at dawn or dusk

          • When the surrounding area is dark, such as at night or while in a tunnel, and the headlights of your vehicle are not turned on

          • When the surrounding area is dark, such as at night or while in a tunnel, and the taillights of a preceding vehicle are not turned on

          • When driving on a sharp curve

          • When driving on a hill

          • When the road surface is rough or uneven, such as an undulating or unpaved road

          • When the brakes are cold, such as when the ambient temperature is low or immediately after starting the vehicle

          • When the area around the camera sensor is hot, such as after the vehicle has been parked in the sun

            Tech Tips

            *: Depending on the region in which the vehicle was sold, the pedestrian detection function may not be available.

        • Due to the limitations of the radar sensor, camera sensor and system, the system may not operate properly in the following situations:


          • When a vehicle or pedestrian* is outside of the detection range

          • When a preceding vehicle is not directly in front of your vehicle

            B001NHL
          • While or after making a left/right turn the vehicle has not been driven for a certain amount of time

          • When cutting immediately behind a preceding vehicle

          • If your vehicle is skidding

            Tech Tips

            *: Depending on the region in which the vehicle was sold, the pedestrian detection function may not be available.

        • In the following situations the system may not function properly:


          • The vehicle is wobbling

          • The vehicle is being driven at high speeds

          • The vehicle is backing up

          • The steering wheel is being turned

          • The accelerator pedal is being depressed strongly

          • The brake pedal is being depressed

        • In the following situations, the functions of the system may not operate to their full extent:


          • When driving in a place where the surrounding brightness changes suddenly, such as at the entrance or exit of a tunnel

          • If the front of the vehicle is raised or lowered, such as when heavy luggage is loaded

          • When towing a trailer or another vehicle

          • If the suspension is modified

          • When the brakes are overheated and do not operate properly (such as after driving down a long grade or mountain)

          • When the brakes are wet, due to driving through standing water, washing the vehicle, etc., and do not operate properly

          • If the vehicle is not properly maintained (brakes or tires are excessively worn, improper tire inflation pressure, etc.)

          • If the wheels are misaligned

          • When the windshield is fogged up

          • If the windshield is dirty or covered with an oily film, water droplets, snow, ice, or frost, blocking the vision of the camera sensor

          • If a wiper blade is blocking the camera sensor

          • If the area of the windshield around the camera sensor has been hit by a stone, etc. and damaged

          • When the camera sensor is obstructed (for example, if a canoe is mounted on the roof)

          • When the vehicle is driving on a slippery surface

      7. To avoid malfunction of the camera sensor


        • Observe the following precautions.

        • Otherwise, the camera sensor may not operate properly, possibly leading to an accident resulting in death or serious injury.


          • Keep the windshield clean all times. If the windshield is dirty or covered with an oily film, water droplets, snow, etc., clear the windshield. If the inner side of the windshield where the camera sensor is installed is dirty, contact your Toyota dealer.

          • Do not install antennas or attach stickers (including transparent stickers) or other items in front of the windshield camera sensor (shaded area in the illustration).

          • Do not attach window tinting to the windshield.

          • If the part of the windshield in front of the camera sensor is fogged up or covered with condensation or ice, use the windshield defogger to remove the fog, condensation or ice.

          • If the windshield needs to be replaced, replace it with a regular parts number.

          • Do not spill liquid onto the camera sensor.

          • Do not allow bright lights to shine into the camera sensor.

          • Do not dirty or damage the camera sensor. When cleaning the inside of the windshield, do not allow glass cleaner to contact the lenses. Also, do not touch the lenses.

          • Do not subject the camera sensor to a strong impact.

          • Do not change the installation position or direction of the camera sensor or remove it. The direction of the camera sensor is precisely adjusted.

          • Do not disassemble the camera sensor.

          • Do not install an electronic device or device that emits strong electric waves near the camera sensor.

      8. If the PCS warning light flashes and a warning message is displayed on the multi-information display


        • The pre-crash safety system may be temporarily unavailable or there may be a malfunction in the system.

        • In the following situations, the warning light will turn off, the message will disappear and the system will become operational when normal operating conditions return:


          • When the area around the camera sensor is hot, such as after the vehicle has been parked in the sun

          • When the radar sensor or front grille is dirty

          • If the windshield is dirty or covered with an oily film, water droplets, snow, ice, or frost

          • If the area in front of the camera sensor is obstructed, such as when the hood is open

        • If the PCS warning light continues to flash or the warning message does not disappear, the system may be malfunctioning.

      9. If VSC is disabled


        • If VSC is disabled, the pre-crash brake assist and pre-crash braking functions are also disabled.

        • The PCS warning light will turn on and "VSC Turned Off Pre-crash Brake System Unavailable" will be displayed on the multi-information display.

  2. SYSTEM DIAGRAM

    B001NGYE01
  3. PARTS LOCATION

    B001NIXC02
    *A Models with AVS *B Models with Camera Heater (Forward Recognition Hood with Heater Sub-assembly)
    *1 ECM *2 Millimeter Wave Radar Sensor Assembly
    *3 Front Speed Sensor RH *4 Front Speed Sensor LH
    *5 Rear Speed Sensor RH *6 Rear Speed Sensor LH
    *7 Suspension Control ECU *8 Forward Recognition Camera (Camera Sensor)
    *9 Camera Heater (Forward Recognition Hood with Heater Sub-assembly) *10 Skid Control ECU
    *11 PCS Warning Light *12 Master Warning Light
    *13 Multi-information Display *14 Combination Meter Assembly
    *15 Main Body ECU (Multiplex Network Body ECU) *16 Stop Light Switch Assembly
    *17 Skid Control Buzzer Assembly *18 Airbag Sensor Assembly
    *19

    Console Switch Module


    • VSC OFF Switch

    *20 Pre-crash Safety System Cancel Switch
    *21 Central Gateway ECU *22 Driving Support ECU Assembly
    *23 Steering Sensor - -
  4. FUNCTION OF MAIN COMPONENTS

    Item Function
    Combination Meter Assembly PCS Warning Light (PCS OFF Indicator Light)
    • Flashes or illuminates to warn the driver in accordance with signals from the driving support ECU assembly.

    • Flashes when the system is malfunctioning or temporarily disabled.

    • Illuminates when the pre-crash safety system is not available.

    Multi-information Display Displays a warning message to inform or warn the driver of the system condition in accordance with signals from the driving support ECU assembly.
    Master Warning Light Illuminates to warn the driver in accordance with signals from the driving support ECU assembly.
    Multi Buzzer Sounds to warn the driver in accordance with signals from the driving support ECU assembly when the system is malfunctioning.
    Millimeter Wave Radar Sensor Assembly Radiates millimeter wave radar forward, uses the reflected millimeter waves for detecting the presence of a vehicle ahead, the vehicle-to-vehicle distance, and the relative speed, and then transmits this information to the driving support ECU assembly.
    Forward Recognition Camera (Camera Sensor) Monocular Camera Acquires information about a preceding vehicle from a monocular camera and laser sensor to perform pre-crash safety system control.
    Camera Heater (Forward Recognition Hood with Heater Sub-assembly)*1 Heats the sheet heater in accordance with the signals from the forward recognition camera (camera sensor).
    Driving Support ECU Assembly Determines whether a collision is imminent based on the information received from the sensors. It then outputs a brake assist standby request signal and pre-crash brake request signal if required.
    Skid Control ECU
    • Receives a brake assist standby request signal from the driving support ECU assembly and switches the brake assist to standby mode. When a master cylinder pressure signal is input, it activates the brake assist.

    • Receives a pre-crash brake request signal from the driving support ECU assembly, and then applies the brakes.

    • Transmits vehicle speed signals to the driving support ECU assembly.

    Speed Sensor Detects speed of each wheel and transmits the signals to the skid control ECU.
    Airbag Sensor Assembly Yawrate Sensor Detects the yaw rate and lateral/longitudinal deceleration of the vehicle and transmits the signal to the skid control ECU and the driving support ECU assembly.
    Steering Sensor Detects the angle and direction of steering and transmits a signal to the skid control ECU and the driving support ECU assembly.
    Pre-crash Safety System Cancel Switch Assembly Disables the pre-crash safety system operation when the switch is turned on. The PCS warning light illuminates to show that the pre-crash safety system operation is disabled.
    Console Switch Module VSC OFF Switch Disables the pre-crash brake and pre-crash brake assist operation when VSC OFF mode.
    Skid Control Buzzer Assembly Outputs the accelerator opening rate signal of the vehicle to driving support ECU.
    Stop Light Switch Assembly Detects if the brake pedal is depressed and transmits a signal to the skid control ECU and driving support ECU.
    Main Body ECU (Multiplex Network Body ECU) Outputs the specification signal of the vehicle to driving support ECU.
    Central Gateway ECU Transmits the signal between the CAN communication bus.
    Suspension Control ECU*2 Receives an Adaptive Variable Suspension system (AVS) operation request signal from the driving support ECU assembly and operates the absorber control actuators.
    Absorber Control Actuator*2 Changes the damping force of the shock absorber assembly.

    Tech Tips

    *1: Models with Camera Heater (Forward Recognition Hood with Heater Sub-assembly)

    *2: Models with AVS

  5. FUNCTION


    1. Pre-crash Safety System


      • The pre-crash safety system uses a radar sensor and camera sensor to detect vehicles and pedestrians in front of your vehicle.

      • When the system determines that the possibility of a frontal collision with a vehicle or pedestrian is high, a warning operates to urge the driver to take evasive action and the potential brake pressure is increased to help the driver avoid the collision.

      • If the system determines that the possibility of a frontal collision with a vehicle or pedestrian is imminent, the brakes are automatically applied to help avoid the collision or help reduce the impact to the vehicle occupants and the vehicle in the collision.


      1. Pre-crash warning


        • When the system determines that the possibility of a frontal collision is high, a buzzer will sound and a warning message will be displayed on the multi-information display to urge the driver to take evasive action.

      2. Pre-crash brake assist


        • When the system determines that the possibility of a frontal collision is high, the system applies greater braking force in relation to how strongly the brake pedal is depressed.

      3. Pre-crash braking


        • If the system determines that the possibility of a collision is imminent, the brakes are automatically applied to help avoid the collision or reduce the impact.

      4. Suspension control (if equipped)


        • When the system determines that the possibility of a frontal collision is high, the Adaptive Variable Suspension System will control the damping force of the shock absorbers.

    2. Warning Indication


      1. The combination meter assembly uses the multi-information display, master warning light, PCS warning light and buzzer to provide the driver with pre-crash safety system malfunction and indications.

      2. If the driving support ECU assembly determines that a possibility of a collision is high, it sends a signal to the combination meter assembly. Upon receiving this signal, the combination meter assembly indicates a warning using the multi-information display and skid control buzzer assembly. Details are indicated below.

        When there is a high possibility of a collision
        Multi-information Display Skid Control Buzzer
        BRAKE! Sound Continuously
      3. Each time the pre-crash safety system switch is pressed, the warning timing changes as follows:


        • Far (operation starts earlier)

        • Middle (default setting)

        • Near (operation starts later)

      4. When the pre-crash safety system cancel switch assembly is pressed to turn the system on, the current warning timing will be displayed on the multi-information display.

      5. The operation timing setting is retained when the engine switch is turned off.

        B001NHVE01
      6. The pre-crash safety system can be turned on or off by operating the pre-crash safety system cancel switch assembly. When the pre-crash safety system cancel switch assembly is on for 3 seconds or more, the system operations stops. When the pre-crash safety system is off, "Pre-Crash Safety Turned Off" is displayed on the multi-information display and the PCS warning light illuminates.

      7. The system is automatically enabled each time the engine switch is turned to ON mode.

        When the pre-crash safety system cancel switch assembly is operated
        Multi-information Display PCS Warning Light Pre-crash Safety System
        - - ON
        Pre-Crash Safety Turned Off Illuminates OFF
        B001NK3E01
        *1 Pre-crash System Cancel Switch Assembly
        *2 PCS Warning Light
        *3 Multi-information Display
      8. When the system is not available, the following warning occurs to warn the driver.

        When a system malfunction is detected
        Multi-information Display Details Master Warning Light PCS Warning Light Buzzer DTC
        Pre-Crash Safety Malfunction Visit Your Dealer This message appears when the driving support ECU assembly detects a system malfunction. Illuminates Flashes Sounds Once Repair is required DTCs are stored
        Pre-Crash Safety Unavailable Millimeter wave radar sensor assembly is misaligned - Flashes - -
        Pre-Crash Safety Unavailable Clean Sensor Dirty center mark of upper radiator grille or millimeter wave radar sensor assembly - Flashes - -
        Front Camera Systems Unavailable Clean Windshield Dirty windshield glass over the forward recognition camera (camera sensor) - Flashes - -
        Front Camera Systems Unavailable Temperature or power supply of Forward recognition camera (camera sensor) is abnormality - Flashes - -
        VSC Turned Off Pre-Crash Brake System Unavailable VSC and TRC operation has not been disabled - Illuminates - -
  6. OPERATING CONDITION


    1. Operating Conditions

      Tech Tips

      Depending on the region in which the vehicle was sold, the pedestrian detection function and pre-crash braking function may not be available.


      1. For vehicles sold in regions where the pedestrian detection function and pre-crash braking functions are available


        1. The pre-crash safety system is enabled and the system determines that the possibility of a frontal collision with a vehicle or pedestrian is high.


          1. Pre-crash warning:


            1. Vehicle speed is approximately 10 km/h (7 mph) or more. (For detecting a pedestrian, vehicle speed is between approximately 10 and 80 km/h (7 and 50 mph).)

          2. Pre-crash brake assist:


            1. Vehicle speed is approximately 30 km/h (19 mph) or more. (For detecting a pedestrian, vehicle speed is between approximately 30 and 80 km/h (19 and 50 mph).)

          3. Pre-crash braking:


            1. Vehicle speed is approximately 10 km/h (7 mph) or more. (For detecting a pedestrian, vehicle speed is between approximately 10 and 80 km/h (7 and 50 mph).)

          4. AVS (Adaptive Variable Suspension System) control (if equipped): *


            1. Vehicle speed is greater than about 25 km/h (16 mph) or 30 km/h (19 mph)

            2. The speed at which your vehicle is approaching the obstacle or the vehicle running ahead of you is greater than about 20 km/h (13 mph) or 40km/h (25 mph)

              *: Models with AVS

          5. The system may not operate in the following situations:


            1. If a battery terminal has been disconnected and reconnected and then the vehicle has not been driven for a certain amount of time

            2. If VSC is disabled (only the pre-crash warning function will be operational)

            3. If the PCS warning light is flashing or illuminated

            4. In case that zero point calibration has not been completed on Steering Sensor.

        2. The pre-crash safety system is enabled and the system determines that the possibility of a frontal collision with a vehicle or pedestrian is high.


          1. Pre-crash warning:


            1. Vehicle speed is approximately 15 km/h (10 mph) or more.

          2. Pre-crash brake assist:


            1. Vehicle speed is approximately 30 km/h (19 mph) or more.

          3. Pre-crash braking:


            1. Vehicle speed is approximately 15 km/h (10 mph) or more.

          4. AVS (Adaptive Variable Suspension System) control (if equipped):*


            1. Vehicle speed is greater than about 25 km/h (16 mph) or 30 km/h (19 mph)

            2. The speed at which your vehicle is approaching the obstacle or the vehicle running ahead of you is greater than about 20 km/h (13 mph) or 40km/h (25 mph)

              *: Models with AVS

          5. The system may not operate in the following situations:


            1. If a battery terminal has been disconnected and reconnected and then the vehicle has not been driven for a certain amount of time

            2. If VSC is disabled (only the pre-crash warning function will be operational)

            3. If the PCS warning light is flashing or illuminated

            4. In case that zero point calibration has not been completed on Steering Sensor.

      2. Cancelation of the pre-crash braking

        Tech Tips

        Depending on the region in which the vehicle was sold, the pre-crash braking function may not be available.


        • If either of the following occur while the pre-crash braking function is operating, it will be canceled:


          • The accelerator pedal is depressed strongly.

          • The steering wheel is turned sharply or abruptly.

        • If the vehicle is stopped by the operation of the pre-crash braking function, the operation of the pre-crash braking function will be canceled after the vehicle has been stopped for approximately 2 seconds. *

          *: Depending on the region in which the vehicle was sold, the 2 seconds brake holdings function may not be available.

      3. Conditions under which the system may operate even if there is not a high possibility of a collision


        • In the following situations the system may determine that there is a high possibility of a frontal collision and operate.


          • When driving on roads with sharp changes in elevation

            B001NM4
          • When the vehicle is hit by water, snow, dust, etc. from a preceding vehicle or oncoming vehicle

          • When driving through fog, steam or smoke

          • When there is a vehicle, object (traffic sign, guard rail, etc.), or pedestrian* by the roadside at the entrance of a curve

            B001NJG
          • When passing a vehicle in an oncoming lane that is stopped to make a right/left turn

            B001NLU
          • When passing a vehicle or pedestrian*

          • When driving between pedestrians*, etc.

            B001NIU
          • When there is a metal object, steps, protrusion, etc. on a road surface or roadside

          • When there is a metal object (manhole cover, steel plate, etc.) on the road at the beginning or bottom of a hill

            B001NHS
          • When there is a structural object (billboard, street light, etc.) at the top of an uphill road

            B001NG6
          • When approaching an overpass, traffic sign, billboard, etc.

            B001NM1
          • When rapidly closing on an electric toll gate barrier, parking area barrier, or other barrier that opens and closes

          • When driving in a tunnel with a low ceiling or when parking near a low hanging object

            B001NKX
          • When the road surface is rough or uneven, such as an undulating or unpaved road

          • When driving through or under objects that may contact the vehicle, such as thick grass, tree branches, or a banner11

            B001NJY
          • When driving in a narrow tunnel, or on an iron bridge or a narrow path surrounded by objects on the roadside (guardrail, poles, etc.)

          • When the road surface is rough or uneven, such as an undulating or unpaved road

          • When driving through or under objects that may contact the vehicle, such as thick grass, tree branches, or a banner

          • When driving in a narrow tunnel, or on an iron bridge or a narrow path surrounded by objects on the roadside (guardrail, poles, etc.)

          • When there are patterns or paint on the road or a wall that may be mistaken for a vehicle or pedestrian*

          • When driving near a reflective object, such as a large truck or guardrail

          • When driving near a TV tower, broadcasting station, electric power plant, or other location where strong radio waves or electrical noise may be present

          • When a preceding vehicle suddenly decelerates

          • When driving on a road where relative location to preceding vehicles in an adjacent lane may change, such as on a winding road

            B001NJ1
          • When a pedestrian crosses the front of the vehicle*

          • When a crossing pedestrian stops near the vehicle*

            B001NI5
          • When a crossing pedestrian is approaching your vehicle*

            B001NHT

            *: Depending on the region in which the vehicle was sold, the pre-crash braking function may not be available.

        • In the following situations, the system may determine that there is a high possibility of a frontal collision and operate:


          • When driving extremely close to an object or pedestrian

          • When overtaking a preceding vehicle that is making a left/right turn

            B001NJE
          • When changing lanes while overtaking a preceding vehicle

          • When overtaking a preceding vehicle that is changing lanes

          • When driving between vehicles

            B001NLZ
          • When driving between parked vehicles

            B001NIN
  7. SYSTEM CONTROL


    1. Pre-crash Brake Assist


      1. When the driver depresses the brake pedal after the pre-crash safety system has determined that there is the possibility of a collision, brake fluid pressure is increased. If the possibility of a collision is still high, brake fluid pressure is further increased.

        B001NHFE02
    2. Pre-crash Brake


      1. When the pre-crash safety system detects an object in front of the vehicle and determines that the possibility of a collision is high, the PCS warning light in the combination meter assembly blinks and a warning buzzer sounds to warn the driver.

      2. When the pre-crash safety system determines that a collision is unavoidable, the system performs pre-crash brake control.

        B001NK8E02
  8. CONSTRUCTION AND OPERATION


    1. Millimeter Wave Radar Sensor Assembly


      1. The millimeter wave radar sensor assembly consists of a millimeter wave radar circuit, signal processing circuit and CPU.

      2. The millimeter wave radar outputs waves when the vehicle speed is above 0 km/h (0 mph), and not when the vehicle speed is at 0 km/h (0 mph).* The millimeter wave radar uses frequencies in the 76 GHz band.

      3. The reception antennas receive the millimeter wave radar waves that have been reflected.

      4. The signal processing circuit detects the distance, relative speed, and the direction of the object by generating millimeter wave radar waves and calculating the signals received by the reception antennas. Then, it transmits this information to the driving support ECU assembly.

        *: The setting with which electric waves stop while the vehicle is stopped differs depending on the destinations.

    2. Forward Recognition Camera (Camera Sensor)


      1. Pre-crash safety system is equipped with an internal monocular camera.

      2. 2 types of sensors such as the millimeter wave radar sensor and a monocular camera are used to ensure accurate and reliable detection.

      3. Pre-crash safety system, if there is a problem with the signal from the millimeter wave sensor can be operated only ancillary even on camera signal.

        B001NJVC01
        *1 Forward Recognition Camera (Camera Sensor) - -
        *a Monocular Camera *b Detection Area
  9. CAMERA HEATER


    1. Operating Condition


      1. When all of the following conditions have been met, the camera heater (forward recognition hood with heater sub-assembly) operates.


        • The ignition switch is turned to ON.

        • The outside air temperature is approximately 10°C or less.

        • A few minutes have elapsed since the camera heater (forward recognition hood with heater sub-assembly) operation stopped.

      2. After the camera heater (forward recognition hood with heater sub-assembly) operates, the operation will stop when a certain length of time has elapsed.

        Tech Tips

        Operating time will differ depending on vehicle conditions (vehicle speed, outside air temperature, etc.).

    2. Construction


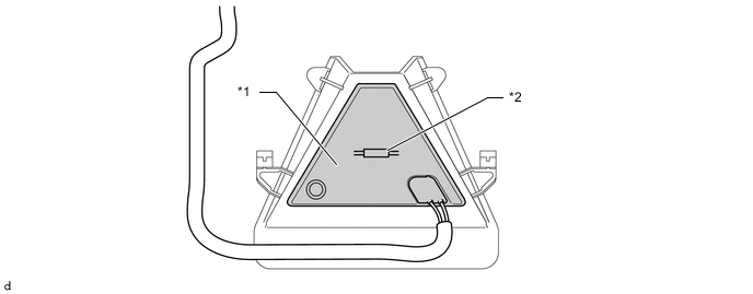
      1. The camera heater (forward recognition hood with heater sub-assembly) is composed of the sheet heater (heating element) and temperature fuse, etc. Current is run through the sheet heater (heating element) to generate heat and warm the front portion of the forward recognition camera (camera sensor).

        B001NIOC01
        *1 Sheet Heater (Heating Element) *2 Temperature Fuse
        Heater Specifications
        Item Specification
        Heat Generation 5 W or less
  10. DIAGNOSIS


    1. Initial Check


      1. The driving support ECU performs an initial check on the system for approximately 3 seconds after the engine switch has been turned on (IG).

    2. Monitor Function


      1. After completing the initial check, the pre-crash safety system becomes ready to operate. During this time, the driving support ECU periodically monitors the system for any malfunctions.

    3. Diagnostic Trouble Code (DTC)


      1. If the driving support ECU assembly detects a malfunction in the pre-crash safety system, it stores a 5 digit Diagnostic Trouble Code (DTC) in memory.