NEW FEATURES


  1. DESCRIPTION


    1. Each part of the power back door system has been changed, and as a result, the power back door control has also been changed.

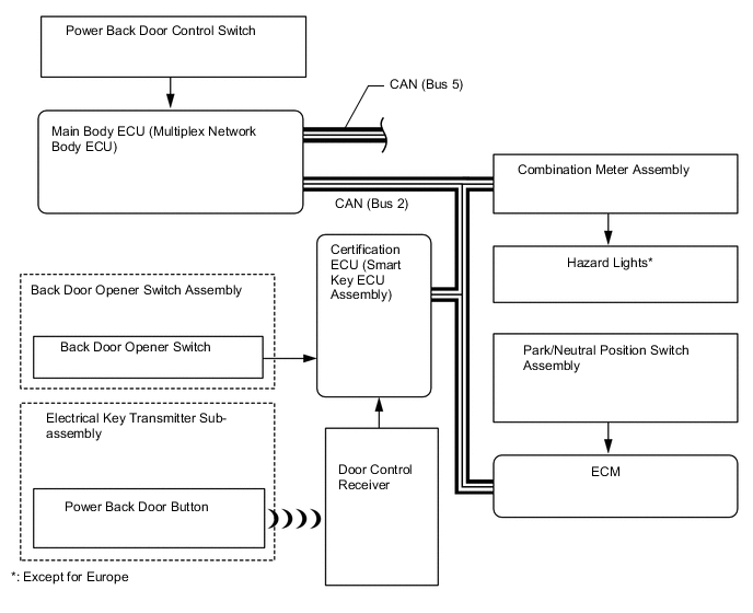
  2. SYSTEM DIAGRAM

    A01W63OE02
    A01W5Z0E03
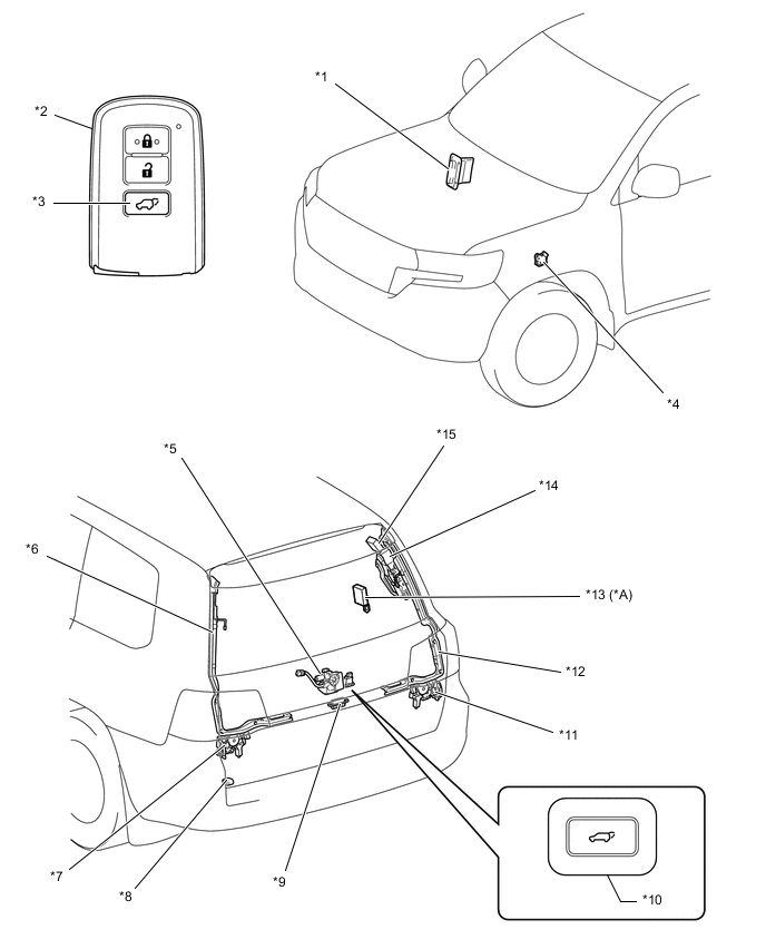
  3. LAYOUT OF MAIN COMPONENTS

    A01W66SC01
    *A Models for China - -
    *1 ECM *2 Electrical Key Transmitter Sub-assembly
    *3 Power Back Door Button *4 Park/Neutral Position Switch Assembly
    *5

    Back Door Lock with Closer Assembly

    - Back Door Closer Motor

    - Sector Switch

    - Pawl Switch

    - Latch Switch

    - Courtesy Switch

    *6 Touch Sensor LH (Power Back Door Sensor Assembly LH)
    *7

    Lower Tailgate Lock Assembly LH

    - Tailgate Courtesy Switch

    *8 Power Back Door Warning Buzzer
    *9

    Back Door Opener Switch Assembly

    - Back Door Opener Switch

    *10 Power Back Door Switch
    *11

    Lower Tailgate Lock Assembly RH

    - Tailgate Courtesy Switch

    *12 Touch Sensor RH (Power Back Door Sensor Assembly RH)
    *13 Door Control Receiver (Electrical Key and TPMS Receiver Assembly) *14

    Power Back Door Unit Assembly

    - Power Back Door ECU

    - Magnetic Clutch

    - Power Back Door Motor

    - Pulse Sensor

    *15 Door Control Receiver - -
    A01W6TRC01
    *1 Combination Meter Assembly *2 Main Body ECU (Multiplex Network Body ECU)
    *3 Power Back Door Control Switch *4 PWR DOOR OFF Switch
    *5 Certification ECU (Smart Key ECU Assembly) - -
    *a Refer to the Service Bulletin for the installation position of the part. - -
  4. CONSTRUCTION AND OPERATION


    1. Touch Sensor (Power Back Door Sensor Assembly)

      The touch sensor is composed of conductive rubber and core wires. When the conductive rubber is compressed, its resistance decreases and current flows through the core wires. As a result, the power back door ECU receives a signal and detects a jam in the back door.

      A01W67HC01
      *1 Touch Sensor RH (Power Back Door Sensor Assembly RH) *2 Touch Sensor LH (Power Back Door Sensor Assembly LH)
      *3 Core Wire *4 Conductive Rubber
      *a Back Door Closing Direction *b A - A Cross Section
      *c Normal Condition *d Compressed Condition
    2. Back Door Lock with Closer Assembly


      1. Construction


        • The back door lock with closer assembly consists of 4 position detection switches (sector switch, pawl switch, latch switch and courtesy switch), back door closer motor, sector gear, open lever, ratchet, latch lever and latch.

        • The rotation of the back door closer motor is transmitted to the open lever or latch lever via the sector gear. The open lever operates the ratchet to release the striker and the latch lever operates the latch to engage the striker.

        • When this system does not operate due to a discharged auxiliary battery or other malfunctions, the back door can be opened by directly operating the open lever in the back door lock with closer assembly.

          A01W6I2C01
          *1 Back Door Closer Motor *2 Sector Gear
          *3 Sector Switch *4 Open Lever
          *5 Pawl Switch *6 Ratchet
          *7 Latch *8 Courtesy Switch
          *9 Latch Switch *10 Latch Lever
        Function of Components
        Component Function
        Back Door Closer Motor Rotates the sector gear when actuated by the power back door ECU.
        Sector Switch Detects the initial position of the sector gear and back door closer motor and outputs a signal to the power back door ECU.
        Pawl Switch Detects whether the ratchet condition is released or engaged and outputs a signal to the power back door ECU.
        Latch Switch Detects whether the back door is open or ajar (half-latch) and outputs a signal to the power back door ECU.
        Courtesy Switch Detects whether the back door is ajar (half-latch) or fully closed (full-latch) and outputs a signal to the power back door ECU.

        1. Sector Switch

          The sector switch turns on when the sector gear and back door closer motor are in the initial position and turns off when the back door closer motor is operated.

          A01W6WUC01
          *1 Sector Switch (On) *2 Sector Gear
          *3 Sector Switch (Off) - -
          *a Initial Position *b When Back Door Closer Motor Operated
        2. Pawl Switch

          The pawl switch turns on when the ratchet condition is released and turns off when the ratchet condition is engaged.

          A01W5XAC01
          *1 Ratchet *2 Pawl Switch (On)
          *3 Pawl Switch (Off) - -
          *a Released Condition *b Engaged Condition
        3. Latch Switch and Courtesy Switch


          • The latch switch and courtesy switch turn on when the back door is open.

          • The latch switch turns off and courtesy switch turns on when the back door is ajar (half-latch).

          • The latch switch and courtesy switch turn off when the back door is fully closed (full-latch).

            A01W6YFC01
            *1 Courtesy Switch (On) *2 Latch Switch (On)
            *3 Latch *4 Latch Switch (Off)
            *5 Courtesy Switch (Off) - -
            *a Open Position *b Half-latch Position
            *c Full-latch Position - -
      2. Operation


        1. Release Operation


          • The back door closer motor rotates in the release direction with each gear in the initial position, transmitting rotation to the pinion.

          • The pinion operates the sector gear, open lever and ratchet, in that order.

          • The open lever operates to release the latch via the ratchet, releasing the striker.

            A01W6LLC01
            *1 Pinion *2 Open Lever
            *3 Ratchet *4 Latch (Half-latch Position)
            *5 Sector Gear (Release Operation) *6 Back Door Closer Motor (Rotation Operation in Release Direction)
          • After the release operation completes, the back door closer motor performs a reverse rotation operation to return each gear to the initial position.

            A01W6IAC01
            *1 Pinion *2 Open Lever
            *3 Ratchet *4 Latch (Open Position)
            *5 Sector Gear (Initial Position) *6 Back Door Closer Motor (Reverse Rotation Operation)
        2. Fully Close Operation


          • When the back door becomes ajar, each built-in detection switch detects the ajar position and the back door closer motor performs an engagement operation to fully close the back door.

            A01W6MGC01
            *1 Ratchet *2 Latch (Half-latch Position)
            *3 Sector Gear (Initial Position) *4 Back Door Closer Motor (Initial Position)
          • The back door closer motor rotates in the engagement direction with each gear in the initial position, transmitting rotation to the pinion.

          • The sector gear is linked with the pinion and rotates in the engagement direction, and since the latch lever pin is held in place by the sector gear pin, the latch also rotates in the engagement direction. As a result, the striker is pulled in, fully closing the back door from the ajar position.

            A01W616C01
            *1 Pinion *2 Latch Lever
            *3 Ratchet *4 Latch (Full-latch Position)
            *5 Sector Gear (Engagement Operation) *6 Back Door Closer Motor (Rotation Operation in Engagement Direction)
          • After the fully close operation completes, the back door closer motor performs a reverse rotation operation to return each gear to the initial position.

            A01W712C01
            *1 Pinion *2 Sector Gear (Initial Position)
            *3 Back Door Closer Motor (Reverse Rotation Operation) - -
  5. SYSTEM CONTROL


    1. General

      This system performs the functions listed below:

      Function Control
      Opener By operating either the power back door control switch, back door opener switch or power back door button with the back door closed and unlocked, the power back door ECU actuates the back door closer motor to release the striker, and then actuates the power back door motor to open the back door.
      Closer By operating either the power back door control switch, power back door switch or power back door button with the back door opened and the tailgate closed, the power back door ECU actuates the power back door motor to close the back door, and then actuates the back door closer motor to engage the striker.
      Reverse Control By detecting user operation during power back door operation, the power back door ECU reverses the operating direction of the back door, or stops the power back door operation and switches to manual operation.
      Jam Protection If a jam or an overload occurrence in the back door is detected during power back door operation, the power back door ECU reverses the operating direction of the back door, or stops the power back door operation and switches to manual operation.
      Others
      • If the tailgate is opened before an opener operation of the back door starts, the power back door system does not perform the opener operation.

      • If the tailgate opens while the back door is being opened, the opener operation of the power back door system continues.

      • If the tailgate is opened before a closer operation of the back door starts, the power back door system does not perform the closer operation.

      • If the tailgate opens while the back door is being closed, the closer operation of the power back door system stops, and an opener operation is performed.

    2. Opener Function Control

      Upon receiving an on signal from the power back door control switch, back door opener switch or power back door button with the back door closed and unlocked, the power back door ECU sounds the power back door warning buzzer, flashes the hazard lights 2 times*, actuates the power back door closer motor in order to release the striker and then actuates the power back door motor to open the back door.


      • *: Except for Europe

      Figure 1. Timing Chart

      A01W618E01
      [T] Component Operation Outline
      (a) Power Back Door Control Switch Turned On (Pressed for Approximately 0.8 Seconds) User operation is detected.
      Back Door Opener Switch
      Power Back Door Button
      (b) Power Back Door Warning Buzzer Changes from Off to On When user operation is detected, the power back door buzzer sounds for approximately 0.8 seconds.
      Back Door Closer Motor Changes from Off to Release When user operation is detected, the release rotation relay turns on and a release operation starts.
      Hazard Lights*1 Changes from Off to On
      • A: PWR DOOR OFF switch is on.

      • B: Power back door is unlocked and not operating, and tailgate is closed.

      • C: Auxiliary battery voltage is 10.5 V or more.

      • D: Shift lever is in P and vehicle speed is 3 km/h (2 mph) or less.

      • E: User operation is detected.

      When conditions A, B, C, D and E listed above are met, a flash request signal is sent to the combination meter. The combination meter flashes the hazard lights 2 times.

      (c) Magnet Clutch Changes from Off to On A connection to the power back door motor is made when the courtesy switch is detected to be on.
      Power Back Door Motor Changes from Off to Opener
      • F: Courtesy switch is detected to be on.

      • G: Courtesy switch and latch switch are detected to be on.

      • H: Condition 1 or 2 listed above is not detected for approximately 1 second or more after the back door closer motor starts a release operation.

      When any one of the 3 conditions listed above is met while the back door closer motor is performing a release operation, the opener relay turns on and an opener operation starts.

      (d) Back Door Closer Motor Changes from Release to Off When the latch switch is detected to be on, the release rotation relay turns off and the release operation stops.
      (e) Back Door Closer Motor Changes from Off to Engage
      • I: After the latch switch is detected to be on, the pulse sensor detects a movement of 20 edges*2 in the opening direction.

      • J: Approximately 3 seconds or more have elapsed since the back door closer motor was detected to be off.

      When condition I or J listed above is met, the engagement rotation relay turns on and a reverse rotation operation starts in order to return the sector gear and back door closer motor to the initial position.

      (f) Back Door Closer Motor Changes from Engage to Off When the sector switch is detected to be on, the engagement rotation relay turns off and the reverse rotation operation stops.
      (g) Power Back Door Motor Changes from Opener to Off
      • K: The pulse sensor detects a movement of 15 edges*2 in the closing direction from the fully open position.

      • L: Power back door motor open output is detected continuously for approximately 30 seconds or more.

      When condition K or L listed above is met, the opener relay turns off and the opener operation stops.*3

      Magnet Clutch Changes from On to Off The connection to the power back door motor is released.

      *1: Except for Europe

      *2: Pulse unit

      *3: After the power back door motor stops, the back door is fully opened by the damper force of the back door stay.


      1. Back Door Rapid Closing Prevention Control


        • Immediately after being fully opened by an opener operation, if the back door cannot stay open and begins to close because of its own weight or other reasons, the door brake is applied, reducing the door speed.

        • When approximately 3 seconds elapse after the back door rapid closing prevention control starts, the power back door warning buzzer sounds continuously.

        • When any one of the following conditions is met (1 to 4), the power back door warning buzzer stops sounding:


          1. Latch switch is off.

          2. It is detected that the back door operation in the closing direction has stopped.

          3. It is detected that the back door operation in the opening direction has stopped.

          4. Approximately 30 seconds elapse after control starts.

    3. Closer Function Control

      Upon receiving an on signal from the power back door control switch, power back door switch or power back door button with the back door opened and the tailgate closed, the power back door ECU sounds the power back door warning buzzer, flashes the hazard lights 2 times*, actuates the power back door motor in order to close the back door and then actuates the back door closer motor to engage the striker.


      • *: Except for Europe

      Figure 2. Timing Chart

      A01W642E01
      [T] Component Operation Outline
      (a) Power Back Door Control Switch Turned On (Pressed for Approximately 0.8 Seconds) User operation is detected.
      Back Door Opener Switch
      Power Back Door Button
      (b) Power Back Door Warning Buzzer Changes from Off to On When user operation is detected, the power back door buzzer sounds for approximately 0.8 seconds.
      Magnet Clutch Changes from Off to On A connection to the power back door motor is made when user operation is detected.
      Power Back Door Motor Changes from Off to Closer When user operation is detected, the closer relay turns on and a closer operation starts.
      Hazard Lights*1 Changes from Off to On
      • A: PWR DOOR OFF switch is on.

      • B: Power back door is opened and not operating, and tailgate is closed.

      • C: Auxiliary battery voltage is 10.5 V or more.

      • D: User operation is detected.

      When conditions A, B, C and D listed above are met, a flash request signal is sent to the combination meter. The combination meter flashes the hazard lights 2 times.

      (c) Back Door Closer Motor Changes from Off to Engage Approximately 1 second after the latch switch is detected to be off, the engagement rotation relay turns on and an engagement operation starts.
      (d) Power Back Door Motor Changes from Closer to Off
      • E: Courtesy switch is detected to be off.

      • F: Power back door motor closer output is detected continuously for approximately 30 seconds or more.

      • G: After the latch switch is detected to be off, the pulse sensor detects a movement of 2 edges*2 in the closing direction.

      When any one of the 3 conditions listed above is met, the closer relay turns off and the closer operation stops.(If condition G listed above is met and the closer operation changes to off, output is reduced to secure the power needed to maintain the door position, and then after approximately 0.3 seconds, the output is stopped.)

      Magnet Clutch Changes from On to Off
      • H: Condition E or F of the power back door motor (closer operation changes to off) is met.

      • I: Approximately 4 seconds have elapsed since condition G of the power back door motor (closer operation changes to off) was met.

      When condition H or I listed above is met, the connection to the power back door motor is released.

      (e) Back Door Closer Motor Changes from Engage to Off When the latch switch, courtesy switch and pawl switch are detected to be off, the engagement rotation relay turns off and an engagement operation stops.
      (f) Back Door Closer Motor Changes from Off to Release Approximately 0.1 seconds after the back door closer motor is detected to be off, the release rotation relay turns on and a reverse rotation operation starts in order to return the sector gear and back door closer motor to the initial position.
      (g) Back Door Closer Motor Changes from Release to Off When the sector switch is detected to be on, the release rotation relay turns off and the reverse rotation operation stops.

      *1: Except for Europe

      *2: Pulse unit

    4. Reverse Function Control


      • If the power back door ECU detects user operation during power back door operation, the ECU sounds the power back door warning buzzer for approximately 0.2 seconds and actuates the power back door motor in reverse until the back door reaches the fully open or fully closed position.

      • Furthermore, if the back door opener switch is pressed during power back door operation, the power back door warning buzzer sounds for approximately 2 seconds and operation switches to manual operation after the power back door motor operation stops.


      1. Reverse operation immediately after opener operation starts (reverse closer operation prohibition range)

        Figure 3. Timing Chart

        A01W63ME01
        [T] Component Operation Outline
        (a) Power Back Door Control Switch Turned On User operation is detected.
        Power Back Door Button
        Power Back Door Motor Opener Operation Continues The opener operation continues until the back door leaves the reverse closer operation prohibition range.
        (b) Power Back Door Motor Changes from Opener to Off When the back door leaves the reverse operation prohibition range with user operation detected, the opener operation stops.
        Power Back Door Warning Buzzer Changes from Off to On When the power back door motor is detected to be off, the power back door buzzer sounds for approximately 0.2 seconds.
        (c) Power Back Door Motor Changes from Off to Closer Approximately 0.1 seconds after the power back door motor is detected to be off, a reverse operation in the closing direction starts.
      2. Reverse operation during or directly before completion of opener operation

        Figure 4. Timing Chart

        A01W6J0E01
        [T] Component Operation Outline
        (a) Power Back Door Control Switch Turned On User operation is detected.
        Power Back Door Switch
        Power Back Door Button
        Power Back Door Motor Changes from Opener to Off When user operation is detected, the opener operation stops.
        Power Back Door Warning Buzzer Changes from Off to On When the power back door motor is detected to be off, the power back door buzzer sounds for approximately 0.2 seconds.
        (b) Power Back Door Motor Changes from Off to Closer Approximately 0.1 seconds after the power back door motor is detected to be off, a reverse operation in the closing direction starts.
      3. Reverse operation during or directly before completion of opener operation

        Figure 5. Timing Chart

        A01W6BXE01
        [T] Component Operation Outline
        (a) Power Back Door Control Switch Turned On User operation is detected.
        Power Back Door Switch
        Power Back Door Button
        Power Back Door Motor Changes from Opener to Off When user operation is detected, the opener operation stops.
        Power Back Door Warning Buzzer Changes from Off to On When the power back door motor is detected to be off, the power back door buzzer sounds for approximately 0.2 seconds.
        (b) Power Back Door Motor Changes from Off to Closer Approximately 0.1 seconds after the power back door motor is detected to be off, a reverse operation in the closing direction starts.
      4. Reverse operation during closer operation

        Figure 6. Timing Chart

        A01W5V9E01
        [T] Component Operation Outline
        (a) Power Back Door Control Switch Turned On User operation is detected.
        Power Back Door Button
        Power Back Door Motor Changes from Closer to Off When user operation is detected, the closer operation stops.
        Power Back Door Warning Buzzer Changes from Off to On When the power back door motor is detected to be off, the power back door buzzer sounds for approximately 0.2 seconds.
        Back Door Closer Motor Changes from Off to Release When user operation is detected, the release rotation relay turns on and a release operation starts.
        (b) Power Back Door Motor Changes from Off to Opener Approximately 0.1 seconds after the power back door motor is detected to be off, a reverse operation in the opening direction starts.
      5. Operation when back door opener switch is pressed during opener or closer operation

        Figure 7. Timing Chart

        A01W6S7E01
        [T] Component Operation Outline
        (a) Back Door Opener Switch Turned On User operation is detected.
        Power Back Door Warning Buzzer Changes from Off to On When user operation is detected, the power back door buzzer starts sounding.
        Magnet Clutch Changes from On to Off The connection to the power back door motor is released when user operation is detected.
        Power Back Door Motor Changes from Closer to Off When user operation is detected, the closer operation stops.*
        (b) Power Back Door Warning Buzzer Changes from On to Off After approximately 2 seconds, the power back door buzzer stops sounding.

        CAUTION:

        *: Switches to manual operation after the power back door motor stops operating.

    5. Jam Protection Function Control


      • If the power back door ECU detects that the back door is overloaded through the pulse sensor in the power back door motor, or detects a jam through the touch sensor (only detected during a closer operation), the power back door ECU reverses the operating direction.

      • Furthermore, if a jam is detected during an operation of the power back door in the closing direction due to the jam protection function, the power back door warning buzzer sounds for approximately 2 seconds, the power back door stops operating and the back door is completely released.

      • A jam is detected during the closer operation performed by the jam protection function (2nd time), and then operation stops and switches to manual operation (fully released).

      When the power back door system is operated to perform an opener operation:


      1. Operation when overload is detected during opener operation

        Figure 8. Timing Chart

        A01W5UAE01
        [T] Component Operation Outline
        (a) Pulse Sensor Pulse Width Changes An overload is detected.
        Power Back Door Motor Changes from Opener to Off When an overload is detected, the opener operation stops.
        Power Back Door Warning Buzzer Changes from Off to On When an overload is detected, the power back door buzzer sounds 2 times for approximately 0.13 seconds each.
        (b) Power Back Door Motor Changes from Off to Closer The power back door motor starts a reverse operation in the closing direction.
      2. Operation when jam is detected and power back door system is operated to perform closer operation

        Figure 9. Timing Chart

        A01W630E01
        [T] Component Operation Outline
        (a) Touch Sensor Changes from Off to On A jam is detected.
        Power Back Door Warning Buzzer Changes from Off to On When a jam is detected, the power back door buzzer sounds 2 times for approximately 0.13 seconds each.
        Power Back Door Motor Off Since a jam is detected, the power back door motor does not operate.
      3. Operation when jam is detected immediately after closer operation starts

        Figure 10. Timing Chart

        A01W6ZXE01
        [T] Component Operation Outline
        (a) Pulse Sensor Pulse Width Changes A jam or overload is detected.
        Touch Sensor Changes from Off to On
        Power Back Door Warning Buzzer Changes from Off to On When a jam (overload) is detected, the power back door buzzer sounds 2 times for approximately 0.13 seconds each.
        Power Back Door Motor Changes from Closer to Off When a jam (overload) is detected, the closer operation stops.
        (b) Power Back Door Motor Changes from Off to Opener Approximately 0.1 seconds after a jam is detected, an opener operation starts.
      4. Operation when jam is detected during closer operation

        Figure 11. Timing Chart

        A01W6DXE01
        [T] Component Operation Outline
        (a) Pulse Sensor Pulse Width Changes A jam or overload is detected.
        Touch Sensor Changes from Off to On
        Power Back Door Warning Buzzer Changes from Off to On When a jam is detected, the power back door buzzer sounds 2 times for approximately 0.13 seconds each.
        Power Back Door Motor Changes from Closer to Off When a jam is detected, the closer operation stops.
        Back Door Closer Motor Changes from Off to Release When a jam is detected, the back door closer motor performs a release operation.
        (b) Power Back Door Motor Changes from Off to Opener Approximately 0.1 seconds after a jam is detected, an opener operation starts.
      5. Operation when jam is detected directly before closer operation completes

        Figure 12. Timing Chart

        A01W67RE01
        [T] Component Operation Outline
        (a) Pulse Sensor Pulse Width Changes A jam or overload is detected.
        Touch Sensor Changes from Off to On
        Power Back Door Warning Buzzer Changes from Off to On When a jam is detected, the power back door buzzer sounds 2 times for approximately 0.13 seconds each.
        Power Back Door Motor Off The power back door motor does not operate.
        Back Door Closer Motor Changes from Off to Release When a jam is detected, the back door closer motor performs a release operation.
        (b) Magnet Clutch Changes from Off to On A connection to the power back door motor is made when a jam is detected.
        Power Back Door Motor Changes from Off to Opener Approximately 0.1 seconds after a jam is detected, an opener operation starts.
      6. Operation when jam is continuously detected in closing direction


        1. When the power back door system is operated to perform a closer operation:


          • A jam is detected during the closer operation, and then an opener operation is performed by the jam protection function.

          • A jam is detected during the opener operation performed by the jam protection function, and then a closer operation is performed by the jam protection function.

          • A jam is detected during the closer operation performed by the jam protection function (2nd time), and then operation stops and switches to manual operation (fully released).

        2. When the power back door system is operated to perform an opener operation:


          • A jam is detected during the opener operation, and then a closer operation is performed by the jam protection function.

          • A jam is detected during the closer operation performed by the jam protection function, and then operation stops and switches to manual operation (fully released).

            Figure 13. Timing Chart

            A01W5SOE01
            [T] Component Operation Outline
            (a) Pulse Sensor Pulse Width Changes A jam or overload is detected during a closer operation performed by the jam protection function.
            Touch Sensor Changes from Off to On
            Power Back Door Warning Buzzer Changes from Off to On When a jam is detected during a closer operation performed by the jam protection function, the power back door buzzer sounds for approximately 2 seconds.
            Power Back Door Motor Changes from Closer to Off When a jam is detected during a closer operation performed by the jam protection function, the closer operation stops.
            (b) Magnet Clutch Changes from On to Off The connection to the power back door motor is released.
        3. When the power back door stops operating, the user can perform any one of the following procedures to restore operation:

          Procedure Operation
          Turn on the power back door control switch press for approximately 0.8 seconds. After the back door is automatically operated to the fully open or fully closed position, operation is restored.*
          Turn on the power back door switch press for approximately 0.8 seconds. After the back door is automatically operated to the fully closed position, operation is restored.
          Turn on the power back door button press for approximately 0.8 seconds. After the back door is automatically operated to the fully open or fully closed position, operation is restored.*
          Manually operate the back door until it reaches the fully open or fully closed position. After the back door is moved to the fully open or fully closed position, operation is restored.

          *: The operating direction varies depending on the stopped position of the back door.