NEW FEATURES


  1. EXTERIOR


    1. Front Design


      1. A newly designed front bumper cover, a radiator grille sub-assembly, headlight assembly, and fog light assembly* have been adopted.

      2. LED-specification fog light assembly has been provided for improved visibility. *


        • *: Models with fog light assembly

        A01W5Z8C01
        *A Models with Headlight Mole *B Models without Headlight Mole
        *1 Radiator grille Sub-assembly *2 Front Bumper Cover
        *3 Headlight Mole *4 Fog Light Cover
        *5 Fog Light Assembly *6 Headlight Assembly
        *7 Fog Light Less Cover - -
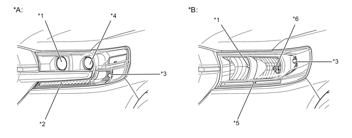
      3. High/low LED specification projector headlight assembly, LED and bulb specification projector headlight assembly, or bulb specification reflector headlight assembly have been provided depending on the specifications.

        Figure 1. Headlight Assembly

        A01W6NQC02
        *A Models with Projector Headlight Assembly *B Models with Reflector Headlight Assembly
        *1 High Beam *2 Clearance Light/Daytime Running Light
        *3 Front Turn Signal Light *4 Low Beam/High Beam*
        *5 Clearance Light *6 Low Beam

        *: Models with Bi-LED Type

      4. Radiator grille sub-assembly with headlight mole and radiator grille sub-assembly without headlight mole have been adopted and provided depending on the specifications.

      5. A plated grille upper mole on the radiator grille sub-assembly with headlight mole, a headlight mole, and a grille mole have been adopted. A new painted radiator grille has been adopted.

      6. A plated grille upper mole and a plated grille lower mole have been provided on the radiator grille sub-assembly without headlight mole depending on the specifications. And radiator grille of material color has been adopted.

        Figure 2. Radiator grille Sub-assembly

        A01W631C01
        *A Models with Headlight Mole *B Models without Headlight Mole
        *1 grille Mole *2 Headlight Mole
        *3 grille Upper Mole *4 grille Lower Mole
      7. A winch cover (front bumper winch cover sub-assembly) has been provided on the front bumper cover for the winch specification models for fine appearance when the winch is not used.

      8. A plated front bumper cover garnish has been adopted for the bumper guard specification models, providing a touch of class.

        Figure 3. Front Bumper Cover

        A01W6IOC01
        *a Standard Specifications *b Winch Specifications
        *c Bumper Guard Specifications - -
    2. Rear Design


      1. A newly designed rear bumper cover, rear combination light assembly, and a rear light assembly have been adopted (excluding the double-door specification models).

      2. A newly designed, plated outside back door garnish has been adopted (excluding the double-door specification models).

        A01W6GGC01
        *1 Outside Back Door Garnish *2 Rear Bumper Cover
        *3 Rear Combination Light Assembly *4 Rear Light Assembly
      3. Newly designed rear combination light assembly and rear light assembly have been adopted (excluding the double-door specification models).

      4. Large rear combination light assembly with a touch of class has been adopted.

      5. Aero-stabilizing fins have been provided on the surface of the outer lens of the rear combination light assembly so as to contribute to stable maneuverability.

      6. A newly designed reflex reflector has been adopted (excluding the double-door specification models).

      7. Plated moles have been provided on the rear combination light assembly and under the rear light assembly (excluding the double-door specification models).

        Figure 4. Excluding the Double-door Specification Models

        A01W6JHC01
        *1 Rear Combination Light Assembly *2 Aero-stabilizing Fin
        *3 Reflex Reflector *4 Rear Light Assembly
      8. A newly designed rear bumper cover has been adopted (excluding the double-door specification models).

      9. A painted towing hitch cover (lower rear bumper cover) has been provided on the rear bumper cover for the towing hitch specification models (excluding the double-door specification models) for fine appearance when the towing hitch is not used.

      10. Holes for the pintle hook have been provided on the rear bumper cover for the pintle hook specification models (excluding the double-door specification models). In addition, a pintle hook cover has been provided for fine appearance.

      11. Holes for the tire carrier have been provided on the rear bumper cover for the tire-carrier specification models (excluding the double-door specification models). In addition, a dedicated tire carrier cover has been provided for fine appearance.

        Figure 5. Rear Bumper Cover

        A01W64CC01
        *a Standard Specifications *b Towing Hitch Specifications
        *c Pintle Hook Specifications *d Tire Carrier Specifications
    3. Side Design


      1. Newly shaped front door outside handle covers and rear door outside handle covers have been adopted.

      2. Newly designed, plated outside front door moulding sub-assembly and outside rear door moulding sub-assembly have been provided depending on the specifications for improved appearance.

        A01W5WAC01
        *1 Front Door Outside Handle Cover *2 Outside Front Door Moulding Sub-assembly
        *3 Outside Rear Door Moulding Sub-assembly *4 Rear Door Outside Handle Cover
    4. Exterior Color


      1. The following exterior colors are provided.

        Color No. Color Name
        040 Super White 2
        058 White
        070 White Pearl Crystal Shine
        1F7 Silver Metallic
        1G3 Gray Metallic
        202 Black
        218 Attitude Black Mica
        3Q3 Dark Red Mica Metallic
        4R3 Beige Mica Metallic
        4S6 Copper Brown Mica
        6R4 Dark Green Mica
        8P8 Dark Blue Mica