INTRODUCTION


  1. OUTLINE OF NEW FEATURES


    • The following changes have been made for the new LAND CRUISER.


    1. Model Line-up


      1. The following models have been discontinued:

        MODEL DESTINATION ENGINE BODY TYPE GRADE
        GRJ200L-GNANKV G.C.C. Countries 1GR-FE Station Wagon Lift-up Type Back Door GX
        GRJ200L-GNMNKV
        GRJ200L-GDMRKV Station Wagon Swing Type Back Door Standard
        URJ200L-GNTEKV 3UR-FE Station Wagon Lift-up Type Back Door VX
        URJ202LGNTNKV 1UR-FE GX
        VDJ200L-GNMNZV 1VD-FTV
        VDJ200L-GNTNZV
        VDJ200L-GDMRZV Station Wagon Swing Type Back Door Standard
        URJ202R-GNTNKQ Australia 1UR-FE Station Wagon Lift-up Type Back Door GX
        VDJ200R-GNTNZQ 1VD-FTV
        VDJ200R-GCTRZQ Station Wagon Swing Type Back Door Standard
        GRJ200L-GNANKC China 1GR-FE Station Wagon Lift-up Type Back Door GX
        URJ202R-GNTEKW South Africa 1UR-FE VX
        GRJ200L-GNMNK General Countries 1GR-FE Standard
        GRJ200R-GDMRK Station Wagon Swing Type Back Door
        GRJ200L-GDMRK
        GRJ200L-GCMRK
        VDJ200R-GNTNZ 1VD-FTV Station Wagon Lift-up Type Back Door GX
        VDJ200L-GNTNZ
        VDJ200R-GNMNZ
        VDJ200L-GMMNZ
        VDJ200L-GNMNZ
        VDJ200R-GCMRZ Station Wagon Swing Type Back Door Standard
        VDJ200L-GCMRZ
        VDJ200R-GDMRZ
        VDJ200L-GDMRZ
      2. The following models have been added:

        MODEL DESTINATION ENGINE BODY TYPE GRADE
        URJ202L-GNTVKW Europe 1UR-FE Station Wagon Lift-up Type Back Door VX-R
        VDJ200R-GNTVZW 1VD-FTV
        VDJ200L-GMTVZW
        VDJ200L-GNTVZW
        GRJ200L-GNAAKV G.C.C. Countries 1GR-FE GX-R
        GRJ200L-GNMAKV
        URJ200L-GNZEKV 3UR-FE VX
        URJ200L-GNZVKV VX-R
        URJ202L-GNTAKV 1UR-FE GX-R
        URJ202L-GNTVKV VX-R
        VDJ200L-GPTNZV 1VD-FTV GX
        VDJ200L-GNMAZV GX-R
        VDJ200L-GNTAZV
        VDJ200L-GNTEZV VX
        VDJ200L-GNTVZV VX-R
        URJ202R-GNTAKQ Australia 1UR-FE GX-R
        URJ202R-GNTVKQ VX-R
        VDJ200R-GNTAZQ 1VD-FTV VX
        VDJ200R-GNTVZQ VX-R
        VDJ200R-GCTNZQ Station Wagon Swing Type Back Door GX
        GRJ200L-GNAAKC China 1GR-FE Station Wagon Lift-up Type Back Door GX-R
        GRJ200L-GNAEKC VX
        GRJ200L-GNAVKC VX-R
        URJ202L-GNTVKC 1UR-FE
        GRJ200L-GNMAK General Countries 1GR-FE GX-R
        GRJ200R-GDMNK Station Wagon Swing Type Back Door GX
        GRJ200L-GDMNK
        GRJ200L-GCMNK
        URJ202L-GNTVK 1UR-FE Station Wagon Lift-up Type Back Door VX-R
        VDJ200R-GNTAZ 1VD-FTV GX-R
        VDJ200L-GNTAZ
        VDJ200R-GNMAZ
        VDJ200L-GNMAZ
        VDJ200R-GNTVZ VX-R
        VDJ200L-GNTVZ
        VDJ200R-GCMNZ Station Wagon Swing Type Back Door GX
        VDJ200R-GDMNZ
        VDJ200L-GDMNZ
    2. Exterior


      1. The design and specification of the exterior parts have been changed.

    3. Interior


      1. The design and specification of the interior parts have been changed.

    4. 1GR-FE Engine


      1. Specifications for 1GR-FE engine for the models for Peru have been modified for compliance with EURO 4 regulations from EURO 3 regulations.

      2. Part of the circuit has been altered along with the new Controller Area Network (CAN) communication system.

    5. 1UR-FE Engine


      1. Specifications for 1UR-FE engine for the models for Europe have been modified for compliance with EURO 6 regulations from EURO 5 regulations.

      2. Specifications for 1UR-FE engine for the models for Russia, Ukraine, Kazakhstan and Australia has been modified for compliance with EURO 5 regulations from EURO 4 regulations.

      3. Specifications for 1UR-FE engine for the models for Peru have been modified for compliance with EURO 5 regulations from EURO 4 regulations.

      4. Part of the circuit has been altered along with the new Controller Area Network (CAN) communication system.

    6. 3UR-FE Engine


      1. The communication style adopted in the 3UR-FE engine has been switched from Generator Assembly communication to LIN communication.

      2. The transmission oil cooler (warmer) of the 3UR-FE engine has been discontinued.

      3. Part of the circuit has been altered along with the new Controller Area Network (CAN) communication system.

    7. 1VD-FTV Engine


      1. The specification of the 1VD-FTV engine has partially been changed.

      2. Specifications for 1VD-FTV engine for the models for Russia, Ukraine, Kazakhstan and Australia has been modified for compliance with EURO 5 regulations from EURO 4 regulations.

      3. Part of the circuit has been altered along with the new Controller Area Network (CAN) communication system.

    8. AB60F Automatic Transmission


      1. A Differential Protection Control has been adopted for controlling the ECT of the vehicles equipped with the 1UR-FE engine and AB60F automatic transmission.

        System Function
        Differential Protection Control When there is a large rotation difference between the left and right wheels, shifting will be prevented to protect the differential.
    9. AE80F Automatic Transmission


      1. An AE80F 8-speed automatic transmission has been adopted for the models equipped with 3UR-FE engine, instead of the AB60F 6-Speed automatic transmission used in the previous models.

    10. Differential


      1. The gear ratios of the front differential and the rear differential have been changed to 3.307 along with the newly adopted 8-speed automatic transmission in the vehicles equipped with the 3UR-FE engine.

      2. The drive performance and fuel economy of the vehicle have been improved through the wider gear ratios of the transmission and the newly adopted differential gear ratio.

        Figure 1. Front Differential

        A01W6K0

        Figure 2. Rear Differential

        A01W6NS
        Engine Type 3UR-FE
        Differential Type Front Rear
        SD22A BD24A
        Differential Gear Ratio 3.307 3.307
        Ring Gear Size mm (in.) 220 (8.7) 240 (9.5)
        Oil Capacity Liters (US qts, Imp.qts) 1.9 (2.0, 1.7) 4.2 (4.4, 3.7)
        Oil Viscosity SAE 75W-85 SAE 75W-85
        Oil Grade API GL-5 API GL-5
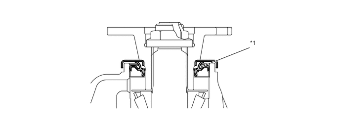
      3. For all models, the seal structure of the side lip of the pinion seal has been changed from the cylinder contact type to an end face contact type for an improved dust-proof performance.

        Figure 3. Front Differential

        A01W6CHC01
        *1 Side Lip - -

        Figure 4. Rear Differential

        A01W6HYC01
        *1 Side Lip - -
    11. Brake


      1. An 18"-front brake has been adopted for some specification models.

        A01W6TK
        Front Brake Caliper Type 18'' S15WC
        Wheel Cylinder Diameter mm (in.) 51.1 (2.01) x 2
        Rotor Size (D x T)* mm (in.) 354 x 32 (13.93 x 1.26)
        Pad Area

        cm2 (in.2)

        65.0 (10.08) x 2
        Pad Material Except Models for Germany PV565H
        Models for Germany T4146

        *: D: Outer Diameter, T: Thickness

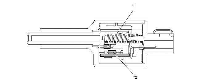
      2. The stop light switch assembly has been changed from the metallic type to a non-contact type.

        A01W682C01
        *1 Magnetic *2 Magnetic Sensor
      3. The designs of the CRAWL ON/OFF switch, turn assist ON/OFF switch, CRAWL speed/MTS mode select switch, and VSC OFF switch have been altered and they are built into the integration control and panel assembly (console module switch).

      4. Some operating conditions have been changed for the multi-terrain select so that it can be used while the CRAWL control is activated.

    12. Propeller Shaft


      1. 2-joint x intermediate sliding type front and rear propeller shaft assemblies have been carried over from the previous models.

        Figure 5. Front Propeller Shaft Assembly

        A01W6S0C01
        *1 Hooke's Joint - -
        *a Front Differential *b Transfer

        Figure 6. Rear Propeller Shaft Assembly

        A01W66AC01
        *1 Hooke's Joint - -
        *a Transfer *b Rear Differential
    13. Steering


      1. A newly designed steering wheel assembly has been adopted except the steering wheel assembly without steering switches.

        A01W5ZXC01
        *a 4-Spoke Type (Urethane-wrapped) *b 4-Spoke Type (Leather-wrapped)
        *c 4-Spoke Type (Leather-wrapped with Wood-grain) - -
      2. Along with the change of the shape of the headlight dimmer switch assembly and the windshield wiper switch assembly, part of the steering column cover UPR and steering column cover LWR have been changed.

        A01W6QRC01
        *A Column cover for manually and fully movable type steering *B Column cover for manually and partially movable type steering
        *1 Steering Column Cover UPR *2 Steering Column Cover LWR
      3. A smaller multiplex tilt and telescopic ECU has been adopted.

        A01W71JC01
        *1 Multiplex Tilt and Telescopic ECU - -
      4. The range of the steering heater has been altered along with the newly designed and adopted steering wheel assembly (heated portion).

      5. A steering heater switch (refreshing seat switch) has been provided in front of the shift lever on the console panel UPR.

        A01W6YHC01
        *1 Non-woven Fabric *2 Urethane
        *3 Heater Wire *4 Leather
        *5 Neoprene *6 Steering Wheel Heater Control Assembly
        *7 Indicator Light *8 Steering Heater Switch (Refreshing Seat Switch)
        *a Heated Portion *b Cross Section
      6. An optimal power steering has been adopted through the newly adopted drive mode select.

    14. Suspension


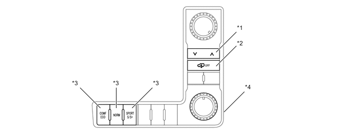
      1. The designs of the height select switch, height control switch and sports mode select switch have been altered and they are built into the integration control and panel assembly (console module switch), integrating them on the console and allowing the driver to keep his/her driving posture when using those traction and drive related switches.

        A01W6LRC01
        *1 Height Select Switch *2 Height Control Switch
        *3 Drive Mode Select Switch *4 Integration Control and Panel Assembly
      2. The Damping Force Control and the Height Control have been optimized.

      3. For the Damping Force Control, its Non-Linear H infinity (H∞) Control has been optimized for off-road SUVs and the control and operation range has been expanded. Aftershocks when running rough roads have been reduced through the optimally tuned control in the transfer L4 mode, which lessens the driver's stress through the stabilized eye level, as well as secures the tire's road holding performance, resulting in the improved driving performance in rough roads.

      4. The speed at which the vehicle height set to High will be lowered in the transfer L4 mode has been altered from 40 km/h to 50 km/h for further improved driving performance.

        A01W5UEE01

        *1: When the transfer is in the L4 range.

        *2: When the vehicle height is lowered during high-speed driving.

    15. Tire and Wheel


      1. The 17-inch, 18-inch and 20-inch aluminum disc wheel is provided.

        A01W6OEC01
        Wheel Design *a *b *c
        Tire Size 285/65R17 285/60R18 285/50R20
        Disc Wheel Size 17 x 8J 18 x 8J 20 x 8 1/2J
        Disc Wheel Size Aluminum with Center Ornament Aluminum with Center Ornament Aluminum with Center Ornament
        Pitch Circle Diameter (P.C.D.) 150 mm (5.9 in.) 150 mm (5.9 in.) 150 mm (5.9 in.)
        Inset 56 mm (2.2 in.) 56 mm (2.2 in.) 58 mm (2.3 in.)
    16. Tire Pressure Warning System


      1. An air pressure monitor function has been adopted for the models equipped with the combination meter assembly with TFT Type Multi-information Display, allowing to display the air pressure value in each tire.

    17. Body Structure


      1. The shape, specification, and setting of some body parts have been changed.

    18. Seat


      1. A television display assembly has been provided on the top of the front seat back.

      2. A new center rear seat armrest assembly and a new center rear seat headrest assembly have been adopted for the second seats.

      3. The seat cover of some models has been changed.

    19. Multiplex Communication


      1. The configuration of the CAN and LIN communication system has been changed.

    20. Meter


      1. Combination meter assembly has been changed.

    21. Air Conditioning


      1. Air conditioner control assembly and No. 2 air conditioning control assembly has been changed.

      2. A blower customizing control has been adopted for Europe models with the navigation system.

    22. Power Window System


      1. Power window regulator motor assembly has been changed.

      2. Some of the control for the power window system has been changed.

    23. SRS Airbag System


      1. The setting position of the front passenger airbag indicator light has been changed.

        Figure 7. Models with Navigation System

        A01W5ZFC01
        *1 Multi-media Module Receiver Assembly - -

        Figure 8. Models without Navigation System

        A01W6DDC01
        *1 Clock Assembly - -
      2. Side airbag, rear side airbag and curtain shield airbag has been added to the airbag to deploy at the time of a frontal collision. (models with side airbag/rear side airbag/curtain shield airbag)

    24. Outer Rear View Mirror


      1. The position of the television camera with dynamic guide line assembly provided under the outer rear view mirror assembly has been changed along with the provision of a blind spot monitor.*

        *: Models with television camera with dynamic guide line assembly

        A01W6NUC01
        *1 Outer Rear View Mirror Assembly *2 Television Camera with Dynamic Guide Line Assembly*

        *: Models with Television Camera with Dynamic Guide Line Assembly

    25. Inner Rear View Mirror


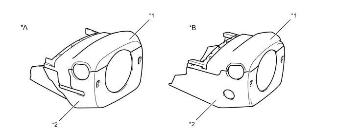
      1. The design of the inner rear view mirror assembly has been changed for the vehicles equipped with the automatic glare-resistant EC mirror.

      2. A narrow frame has been adopted for the circumferential frame of the inner rear view mirror assembly.

        Figure 9. Inner Rear View Mirror Assembly

        A01W64PC01
        *A Models with Automatic High Beam System *B Models without Automatic High Beam System

        Figure 10. Switch and Sensor Location

        A01W6VEC01
        *1 Rear Light Detection Sensor *2 Surrounding Light Detection Sensor
        *3 LED Indicator Light *4 Mirror Switch
        *5 Inner Rear View Mirror Assembly - -
        *a View from the Bottom - -
    26. Wiper and Washer System


      1. A newly shaped windshield wiper relay assembly has been adopted with a new specification.

      2. A newly designed, resin-made rear wiper arm and blade assembly has been adopted.

    27. Heated and Ventilated Seat System


      1. The refreshing seat switch has been changed.

      2. The automatic control function for the heated* and ventilated seat system has been adopted.


        • *: Models with heated seat system

    28. Memory System


      1. Some operation conditions and methods of using the memory system have been changed for the vehicles equipped with the memory system.

        Function Condition Operation Action
        Memory Engine switch is on (IG). Switch 1, 2 or 3 is pressed while the "SET" button is pressed.
        • Memorizes the seat position when switch 1, 2 or 3 is pressed.


        • When the memory setting is completed, the buzzer will sound for 0.5 seconds

        Switch 1, 2 or 3 is pressed within 3 seconds after the "SET" button is pressed.
        Recall
        • Engine switch is on (IG).


        • Park (P) selected


        • Memory switch is off.


        • Seat position is memorized.

        Switch 1, 2 or 3 is pressed. Recalls the seat position that was memorized in the driver seat ECU.

        • Engine switch is off.


        • Memory switch is off.


        • Seat position is memorized.


        • Driver door is opened.

        Switch 1, 2 or 3 is pressed within 180 seconds after engine switch is turned off and driver door is opened.

        • Engine switch is off.


        • Memory switch is off.


        • Seat position is memorized.


        • Open driver door is closed.

        Switch 1, 2 or 3 is pressed within 60 seconds after engine switch is turned off and the open driver door is closed.
        Memory Call
        • A key ID is registered to switch 1, 2 or 3.


        • Engine switch is off.


        • Seat belt is not in use.


        • Inside of the outside door handle is touched or the key unlock button is pushed, and then the driver door is opened.

        The seat automatically moves rearward up to 35 mm (1.38 in.)* from the memorized seat position.

        • Engine switch is on (ACC) or on (IG).


        • Seat belt is in use.

        The seat automatically returns to the memorized seat position.

        • Engine switch is on (ACC) or on (IG).


        • Seat belt is in use.

        The seat automatically returns to the original seat position.

        *: Seat movement distance can be changed using the customized body electronics system.


        1. PRECAUTION


          1. Ignition Switch Expressions


            • The type of ignition switch used on this model differs depending on the specifications of the vehicle. The expressions listed in the table below are used in this section.

              Expressions Ignition Switch (Position) Engine Switch (Condition)
              Ignition Switch off LOCK Off (LOCK)
              Ignition Switch ACC ACC On (ACC)
              Ignition Switch ON ON On (IG)
              Engine Start START On (Start)
    29. Wireless Charging System


      1. A wireless charging system has been adopted and provided in the front console depending on the specifications.

    30. Seat Belt Reminder System


      1. The setting position of the front passenger seat belt warning light for the vehicles equipped with the multi-media module receiver assembly has been changed along with the provision of a new multi-media module receiver assembly.

        A01W64AC01
        *1 Multi-media Module Receiver Assembly - -
    31. Lighting


      1. The exterior lights design has been changed.

      2. The Light Emitting Diode (LED) type headlight or halogen type headlight assemblies are provided.

      3. The Light Emitting Diode (LED) is used to the light source for interior light. In addition, the door trim illumination is newly provided depending on models.

      4. The components of automatic headlight beam level control system have been changed.

      5. The components of the automatic high beam system have been changed.

      6. The Light Emitting Diode (LED) type daytime running light system is provided.

      7. The components of the illuminated entry system has been changed or added.

    32. Multi Display


      1. The 13CY model navigation system is used.

    33. Audio System


      1. The 13CY model audio head unit is used.

    34. Bluetooth Hands Free System


      1. The 13CY model Bluetooth hands-free system is used.

    35. Rear Seat Entertainment System


      1. Rear Seat Entertainment (RSE) system is used.

    36. Door Lock Control System


      1. A speed sensitive automatic door lock function is provided on specified models.

      2. A door control battery is newly provided on specified models.

    37. Wireless Door Lock Control System


      1. The design of the electrical key transmitter sub-assembly for the wireless door lock control has been changed.

        A01W6QW
    38. Entry and Start System


      1. Some of the functions have been changed.

    39. Power Back Door System


      1. Each part of the power back door system has been changed, and as a result, the power back door control has also been changed.

    40. Toyota Parking Assist Sensor System


      1. Some of the functions have been changed due to the change in the sensor.

    41. Pre-crash Safety System


      1. The ''Toyota Safety Sense'' is provided. On the new model, the forward recognition camera and millimeter wave radar sensor is used.

    42. Lane Departure Alert System


      1. The lane departure alert system is newly provided.

    43. Multi-Terrain Monitor System


      1. Some of the functions have been changed.

    44. Blind Spot Monitor System


      1. A blind spot monitor system has been newly provided.

    45. Road Sign Assist System


      1. The Road Sign Assist (RSA) system is provided.

    46. Cruise Control System


      1. Conditions on VSC and TRC have been added to the conditions for Manual Cancel Control.

      2. Part of the circuit has been altered along with the new Controller Area Network (CAN) communication system.

      3. The Dynamic Radar Cruise Control System has also been provided optionally for the diesel engine models.

      4. A forward recognition camera has been added in the Dynamic Radar Cruise Control System.

      5. A newly designed cruise control main switch has been added in the Dynamic Radar Cruise Control System.

    47. G-BOOK System


      1. The 13CY G-BOOK system is used.