WIPER AND WASHER SYSTEM


  1. GENERAL


    1. The rain sensing function controls the wiper timing in accordance with the amount of raindrops that strikes the windshield when the wiper switch is in the AUTO position.

    2. The windshield wiper ECU controls the timing based on the signal from the rain sensor.

  2. RAIN SENSOR


    1. The rain sensor consists of two LEDs (Light Emitting Diodes) that emit infrared rays, 3 photo diodes that can receive those rays, a lens and rain sensor tape

      A01W6HBC01
      *1 Rain Sensor Tape *2 Lens
      *3 Photo Diode *4 LED

      Tech Tips

      If the rain sensor tape has been peeled off during a windshield glass replacement, make sure to affix new rain sensor tape. Failure to do so will lead to a system malfunction.

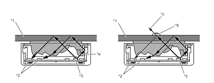
    2. If no raindrops are present in the detection area, the infrared rays emitted by the LED are all reflected from the outer surface of the windshield glass and are received by the photo diode.

    3. If rain is present in the detection area, a portion of the emitted infrared rays penetrate the windshield glass due to the change in the difference of the index of refraction between the glass and the area outside the windshield (difference between air and water). The ability of the windshield glass to reflect all light back inside changes due to the presence of rain. This change of internal reflection due to the presence of water reduces the amount of infrared rays that are received by the photo diode. The amount of this reduction is then used to determine the amount of rain. Thus, this function controls the intermittent, low, and high wiper operation in order to operate the wipers at an optimal wiping timing.

      A01W6FLC01
      *1 Windshield Glass *2 Photo Diode
      *3 LED - -
      *a Infrared Ray *b Raindrop
      *c Penetrated Infrared Ray - -