NEW FEATURES


  1. DESCRIPTION


    1. A rain sensing function has been changed.

    2. Diffuser type front washer nozzle sub-assemblies are provided under the engine hood to ensure a good appearance.

    3. A newly designed symbol mark has been adopted on the windshield wiper switch for some RHD models.

    4. The wiper and washer system has the following functions:

      Function Front Wiper and Washer System Rear Wiper and Washer System
      Models with Automatic Wiper System Models with Intermittent Timing Wiper System Models with Intermittent Wiper System Models without Intermittent Wiper System Models with Intermittent and Washer-linked Wiper System Models without Intermittent Wiper System
      Rain Sensing Function - - - - -
      Rain Sensor Sensitivity Level Adjustment Function - - - - -
      Vehicle Speed Sensing Type Adjustable Intermittent Control Function - - - - -
      Timing Intermittent Control Function - - - - -
      Intermittent Control Function - - -
      Washer-linked with Drip-prevention Function - - - - -
      Washer-linked Function - - - -

      Tech Tips

      ○: Equipped

      -: Not applicable

  2. SYSTEM DIAGRAM

    Figure 1. Models with Automatic Wiper System

    A01W6A6E01
  3. LAYOUT OF MAIN COMPONENTS

    Figure 2. Models with Automatic Wiper System

    A01W6ORC01
    *1 Front Washer Nozzle and Hose Assembly *2

    Front Wiper Motor and Link Assembly

    - Windshield Wiper Motor Assembly

    *3 Windshield Washer Motor and Pump Assembly *4 Rain Sensor
    A01W61AC01
    *1 Rear Washer Nozzle and Hose Assembly *2 Rear Wiper Motor Assembly
    *3 Combination Meter Assembly *4 Windshield Wiper Switch Assembly
    *5 Windshield Wiper Relay Assembly - -
  4. FUNCTION OF MAIN COMPONENTS


    1. The wiper and washer system has the following components and functions:

      Models with Automatic Wiper System
      Components Outline
      Windshield Wiper Switch Assembly Front Wiper Switch Changes the front wiper operation position between MIST, OFF, AUTO, LO and HI.
      Rear Wiper Switch Changes the rear wiper operation position between ON, INT and OFF.
      Windshield Washer Switch Turns the front or rear washer on and off.
      Auto Sensitivity Adjustment Switch Switches the rain detection sensitivity level.
      Windshield Wiper Relay Assembly Receives the position signal of the windshield wiper switch, signals from the rain sensor, etc., and controls the rain sensing function.
      Rain Sensor Senses raindrops when the windshield wiper switch assembly is in AUTO, and sends signals to the windshield wiper relay assembly.
      Windshield Wiper Motor Assembly Operates according to signals from the front wiper switch and the windshield wiper relay and operates the front wiper arm and front wiper blade through the windshield wiper link assembly.
      Rear Wiper Motor Assembly Motor Operates according to signals from the rear wiper relay and operates the rear wiper arm and rear wiper blade.
      Rear Wiper Relay Controls the motor according to signals from the rear wiper switch.
      Windshield Washer Motor and Pump Assembly
      • Activates in accordance with the signal from the washer switch.

      • Outputs the level warning switch signal to the combination meter assembly.

      Combination Meter Assembly
      • Outputs the vehicle speed signal to the windshield wiper relay assembly.

      • Receives the level warning switch signal from the windshield washer motor and pump assembly. And the washer fluid warning light is turned on.

  5. FUNCTION


    1. Rain Sensing Function


      1. The rain sensing function controls the wiping timing in accordance with the amount of rain detected when the AUTO switch (windshield wiper switch assembly) is on.

      2. This control is performed by the windshield wiper relay assembly to switch the wiper operation as shown in the following chart (Wiper Operation Chart) based on the amount of rain and vehicle speed.

      3. A luminance detection function is provided to automatically change the rain sensitivity according to day or night.

        Wiper Operation Chart
        Amount of rain While driving vehicle While vehicle is stopped
        Large Continuous HI operation Continuous LO operation
        ↓↑ Continuous LO operation Continuous LO operation
        ↓↑ Stops intermittently approximatelyevery 0.6 seconds Stops intermittently approximatelyevery 0.8 seconds
        ↓↑ Stops intermittently approximatelyevery 1.2 seconds Stops intermittently approximatelyevery 1.6 seconds
        ↓↑ Stops intermittently approximatelyevery 2.1 seconds Stops intermittently approximatelyevery 3.1 seconds
        ↓↑ Stops intermittently approximatelyevery 3.5 seconds Stops intermittently approximatelyevery 5.4 seconds
        ↓↑ Stops intermittently approximatelyevery 5.9 seconds Stops intermittently approximatelyevery 9.7 seconds
        ↓↑ Stops intermittently approximatelyevery 10.1 seconds Stops intermittently approximatelyevery 17.5 seconds
        Small Stops intermittently approximatelyevery 17.9 seconds Stops intermittently approximatelyevery 32.7 seconds
        Not detected Stopped Stopped
    2. Rain Sensor Sensitivity Level Adjustment Function


      1. When the auto sensitivity adjustment switch is operated with the AUTO switch of the front wiper switch (windshield wiper switch assembly) set to ON, rain sensor sensitivity level adjustment can be performed and the wiper operation timing changes.

    3. Vehicle Speed Sensing Type Adjustable Intermittent Control Function


      1. The windshield wiper relay operates the front wipers according to the intermittent time set according to the INT volume switch and the vehicle speed when the front wiper switch is in the INT position.

        Vehicle Speed Sensing Intermittent Specification (during Acceleration)
        Vehicle Speed 0 → 6 km/h 6 → 23 km/h 23 → 43 km/h 43 → 63 km/h 63 km/h →
        Intermittent Time Slow Approx. 20 sec. Approx. 20 sec. Approx. 15 sec. Approx. 10 sec. Approx. 7 sec.
        ↓↑ Approx. 14.2 sec. Approx. 14.2 sec. Approx. 10.5 sec. Approx. 6.6 sec. Approx. 4.6 sec.
        ↓↑ Approx. 8.3 sec. Approx. 8.3 sec. Approx. 6 sec. Approx. 3.3 sec. Approx. 2.3 sec.
        Fast Approx. 2.5 sec. Approx. 2.5 sec. Approx. 1.5 sec. LO movement LO movement
        Vehicle Speed Sensing Intermittent Specification (during Deceleration)
        Vehicle Speed 0 → 4 km/h 4 → 16 km/h 16 → 36 km/h 36 → 56 km/h 56 km/h →
        Intermittent Time Slow Approx. 20 sec. Approx. 20 sec. Approx. 15 sec. Approx. 10 sec. Approx. 7 sec.
        ↓↑ Approx. 14.2 sec. Approx. 14.2 sec. Approx. 10.5 sec. Approx. 6.6 sec. Approx. 4.6 sec.
        ↓↑ Approx. 8.3 sec. Approx. 8.3 sec. Approx. 6 sec. Approx. 3.3 sec. Approx. 2.3 sec.
        Fast Approx. 2.5 sec. Approx. 2.5 sec.* Approx. 1.5 sec.* LO movement LO movement

        *: The last intermittent time and the present intermittent time are compared, and the shorter intermittent time is used to operate the front wiper. However, when the INT volume switch is operated, the front wiper will be operated with the intermittent time selected through the switch operation.

    4. Washer-linked with Drip-prevention Function


      1. When the front wiper switch is set to OFF and the front windshield washer switch is turned on, the washer fluid is sprayed and after approximately 0.5 seconds the front wipers start operating in LO.

      2. The wipers operate 3 times in LO after the front windshield washer switch is turned off.

      3. When the front wiper is not in operation with the vehicle stopped (the vehicle speed is less than approximately 4 km/h) after the washer-linked operation has completed, this function operates the front wiper once again approximately 3 seconds after the washer-linked operation to wipe away washer fluid.

        A01W6JFE01
  6. RAIN SENSOR


    1. The rain sensor consists of a Light Emitting Diode (LED) that emits infrared rays, a photo diode that can receive those rays, a lens and rain sensor tape.

      A01W6RAC02
      *1 Rain Sensor Tape *2 Lens
      *3 Photo Diode *4 LED
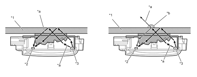
    2. If no raindrops are present in the detection area, the infrared rays emitted by the LED are all reflected from the outer surface of the windshield glass and are received by the photo diode.

    3. If rain is present in the detection area, a portion of the emitted infrared rays penetrate the windshield glass due to the change in the difference of the index of refraction between the glass and the area outside the windshield (difference between air and water). The ability of the windshield glass to reflect all light back inside changes due to the presence of rain. This change of internal reflection due to the presence of water reduces the amount of infrared rays that are received by the photo diode. The amount of this reduction is then used to determine the amount of rain. Thus, this function controls the intermittent, low, and high wiper operation in order to operate the wipers at an optimal wiping timing.

      A01W6B3C02
      *1 Windshield Glass *2 Photo Diode
      *3 LED - -
      *a Infrared Ray *b Raindrop
  7. FAIL-SAFE


    1. The windshield wiper relay assembly is equipped with a fail-safe function which makes control of the wipers possible even when a malfunction occurs in the connected switches and sensors, etc. For details, refer to the Repair Manual