LIGHTING


  1. General


    1. The interior light is operated when the light switch is in the DOOR position.

  2. System Diagram

    A01W6FAE01
  3. Layout of Main Components

    A01W6G9C01
    *1 No. 1 Room Light Assembly *2 Vanity Light LH
    *3 Vanity Light RH *4 Front Courtesy Light Switch RH
    *5 Scuff Plate Light RH *6 Scuff Plate Light LH
    *7 Scuff Plate Light LH *8 Rear Courtesy Light Switch LH
    *9 Rear Courtesy Light Switch RH *10 No.2 Room Light Assembly
    *11 Front Door Lock Assembly LH *12 Front Door Courtesy Light LH
    *13 Rear Door Courtesy Light LH *14 Rear Door Lock Assembly LH
    *15 Rear Door Courtesy Light RH *16 Rear Door Lock Assembly RH
    *17 Front Door Lock Assembly RH *18 Front Door Courtesy Light RH
    A01W6WJC01
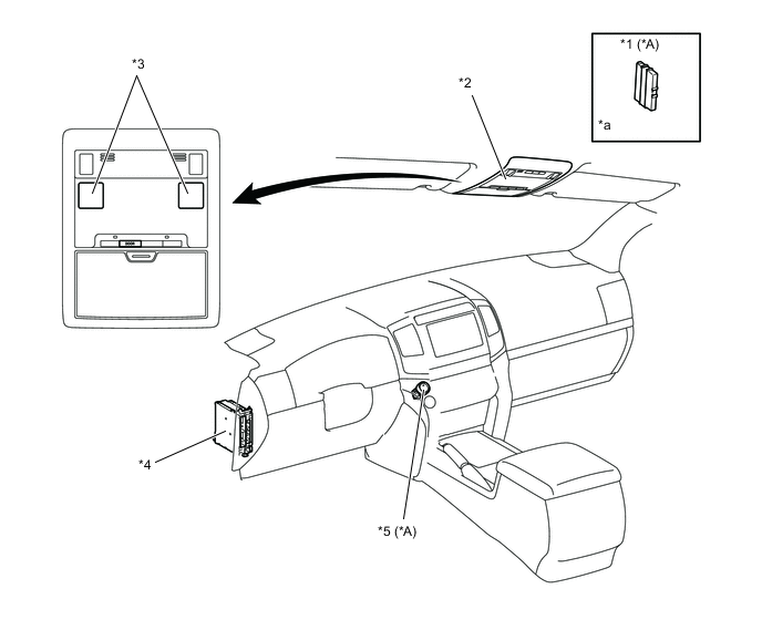
    *A Models with Entry and Start System - -
    *1 Certification ECU *2 Roof Console Box Assembly
    *3 Front Personal Light *4 Main Body ECU
    *5 Engine Switch - -
    *a Refer to the Service Bulletin for the installation of the part. - -
  4. Interior Light Control


    1. The interior light control consists primarily of the fade-in/fade-out function and timer illumination function.

    2. The interior light control activates as described in the diagram below when one of items is in the respective state.

      A01W71AE01
      Condition Item
      Condition (1)
      • With ignition switch off and all doors closed, key enters any actuation area around the doors.

      • Ignition switch OFF and all doors closed, any door is unlocked.

      • Ignition switch is turned from ACC, ON to off.

      Condition (2)
      • Driver door or front passenger door is opened.

      • Rear passenger door is opened.

      Condition (3)
      • Driver door or front passenger door is opened.

      • Rear passenger door is opened.

      Condition (4)
      • Driver door or front passenger door is closed.

      • Rear passenger door is closed.

      Condition (5)
      • More than approximately 15 seconds have elapsed since the light ON state (15 seconds duration).

      • All doors are closed, and are locked.

      • Ignition switch is turned from off to ACC, ON.

      • Key is outside of all actuation area around the doors.

  5. Battery Saving Control


    1. Under the following condition, battery saving control turns off the lights illuminated by the illuminated entry control.


      1. When any door is open, no door is opened or closed for approximately 20 minutes.

      2. Ignition switch is turned from ACC, ON to OFF.

  6. Interior Light Auto Cut Function


    1. These lights turn off 20 minutes after the ignition switch is turned off.