STEERING


  1. Construction


    1. A compact and lightweight vane pump assembly, which uses die-cast aluminum as the material for its front and rear housings, is used. By optimizing its internal construction, this vane pump has realized as low-friction operation, which leads to low fuel consumption.

      Figure 1. Models with 1GR-FE Engine

      A01W639

      Figure 2. Models with 1UR-FE or 3UR-FE Engine

      A01W5VX

      Figure 3. Models with 1VD-FTV Engine

      A01W5ZDC01
      *1 Models without VFC Power Steering *2 Models with VFC Power Steering
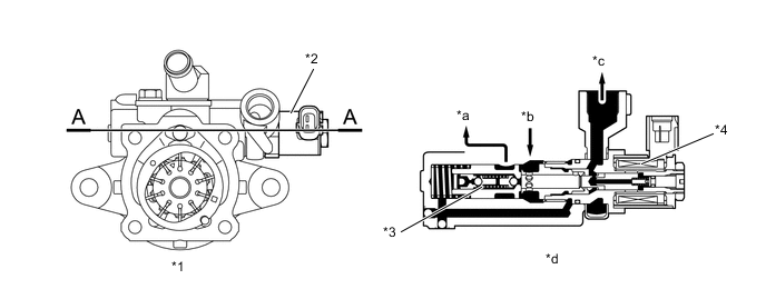
    2. On the models with VFC power steering, a VFC solenoid valve is provided to control the discharge flow rate.

      A01W6UNC01
      *1 Vane Pump Assembly *2 VFC Solenoid Valve
      *3 Flow Control Valve *4 Solenoid Valve
      *a To Oil Reservoir *b From Pump
      *c To Steering Gear *d A-A Cross Section

      Figure 4. Flow Rate Characteristic of Solenoid Valve

      A01W6ZSE01
      *1 Flow Rate
      *2 Current